Что такое стабилизатор напряжения 78L05. Каковы его основные параметры и характеристики. Как правильно подключить 78L05 в схему. Для чего используется этот стабилизатор. На какие аналоги можно заменить 78L05.
Что представляет собой стабилизатор напряжения 78L05
Стабилизатор напряжения 78L05 — это интегральный трехвыводной линейный стабилизатор фиксированного напряжения. Он обеспечивает на выходе стабильное напряжение 5 В при входном напряжении от 7 до 20 В.
Основные особенности 78L05:
- Выходное напряжение: 5 В
- Максимальный выходной ток: 100 мА
- Входное напряжение: 7-20 В
- Точность стабилизации: ±5%
- Встроенная защита от перегрева и короткого замыкания
- Низкий уровень шума
- Компактный корпус TO-92
78L05 широко применяется для стабилизации напряжения питания в различных электронных устройствах, где требуется небольшой ток нагрузки до 100 мА.
Основные характеристики и параметры 78L05
Рассмотрим более подробно основные электрические характеристики стабилизатора 78L05:

- Выходное напряжение: 4.8-5.2 В
- Максимальный выходной ток: 100 мА
- Минимальное входное напряжение: 7 В
- Максимальное входное напряжение: 20 В
- Падение напряжения: 1.7 В (типовое)
- Точность стабилизации: ±4%
- Нестабильность по напряжению: 0.01%/В
- Нестабильность по току: 0.1%
- Собственный ток потребления: 5.5 мА (максимум)
- Температурный коэффициент: -0.65 мВ/°C
- Диапазон рабочих температур: от -40°C до +125°C
Как видно, 78L05 обеспечивает достаточно высокую точность стабилизации напряжения при небольших токах нагрузки. Это позволяет применять его в различных маломощных устройствах.
Схема включения стабилизатора 78L05
Типовая схема включения стабилизатора 78L05 выглядит следующим образом:
[Здесь должна быть схема включения 78L05]
Основные элементы схемы:
- С1 — входной фильтрующий конденсатор (0.33 мкФ)
- С2 — выходной фильтрующий конденсатор (0.1 мкФ)
- DA1 — собственно стабилизатор 78L05
Принцип работы схемы:
- На вход подается нестабилизированное напряжение 7-20 В
- Конденсатор C1 сглаживает пульсации входного напряжения
- Стабилизатор DA1 понижает и стабилизирует напряжение до 5 В
- Конденсатор C2 дополнительно фильтрует выходное напряжение
Такая простая схема обеспечивает стабильное выходное напряжение 5 В при изменении входного напряжения и тока нагрузки в допустимых пределах.
Области применения стабилизатора 78L05
Благодаря своей простоте и надежности, стабилизатор 78L05 находит широкое применение в различных электронных устройствах, где требуется стабильное напряжение питания 5 В при токе до 100 мА. Основные области применения:
- Питание микроконтроллеров и микропроцессоров
- Маломощные датчики и измерительные устройства
- Портативная электроника
- Зарядные устройства для мобильных гаджетов
- Системы автоматики и управления
- Аудиотехника
- Стабилизация опорного напряжения
78L05 особенно удобен для применения в устройствах с батарейным питанием, где требуется преобразовать нестабильное напряжение батареи в стабильные 5 В для питания микросхем.
Аналоги и заменители 78L05
Существует ряд аналогов и возможных заменителей для стабилизатора 78L05:
- LM78L05 — полный аналог от других производителей
- КР1157ЕН5 — отечественный аналог
- L7805 — более мощный вариант на ток до 1 А
- LM317 — регулируемый стабилизатор
- MC34063 — импульсный стабилизатор
При выборе замены важно учитывать такие параметры как входное/выходное напряжение, максимальный ток, корпус, точность стабилизации. В большинстве случаев 78L05 можно напрямую заменить на LM78L05 или КР1157ЕН5.

Преимущества и недостатки 78L05
Стабилизатор 78L05 имеет ряд достоинств и ограничений:
Преимущества:
- Простота применения
- Низкая стоимость
- Высокая надежность
- Встроенные защиты
- Низкий уровень шумов
- Широкий диапазон входных напряжений
Недостатки:
- Низкий КПД при большой разнице входного и выходного напряжений
- Ограниченный максимальный ток (100 мА)
- Необходимость теплоотвода при больших токах
- Фиксированное выходное напряжение
Несмотря на недостатки, простота и надежность делают 78L05 очень популярным решением для маломощных применений.
Рекомендации по применению 78L05
- Входное напряжение должно быть минимум на 2 В выше выходного
- Использовать качественные керамические конденсаторы на входе и выходе
- Располагать конденсаторы максимально близко к выводам стабилизатора
- При токе более 50 мА рекомендуется использовать радиатор
- Не превышать максимально допустимый ток 100 мА
- Для увеличения выходного тока можно включать несколько 78L05 параллельно
- При большой разнице напряжений лучше использовать импульсный стабилизатор
Соблюдение этих простых правил позволит обеспечить надежную и стабильную работу 78L05 в вашем устройстве.

78l05 схема включения — простой стабилизатор напряжения
78l05 схема включения — это самый популярный пяти вольтовый стабилизатор напряжения, аналог маломощной микросхемы 7805. В данной статье публикуется описание, параметры и сама схема включения прибора 78L05. В сущности чуть ли не каждая фирма в мире, которая создает интегральные микросхемы, выпустила свой аналоговый элемент этого чипа. Определение производителя данного электронного элемента читается по первым двум буквам, например: LM78L05 (TAIWAN SEMICONDUCTOR), TS78L05 (TAEJIN Technology HTC Korea).
Естественно, чтобы знать точные параметры электронного прибора, для этого конечно нужно воспользоваться официальным даташитом. Хотя и в официальной спецификации 78l05 схема включения есть некоторые нюансы, в частности это представленный эскиз расположения выводов, который не достаточно графически ясно выполнен. А когда приходится делать какой-либо ремонт или производить наладку устройства, то приходится смотреть одновременно на два изображения.
То-есть определять название и порядковый номер вывода и дополнительно смотреть где расположен вывод на самом корпусе. Несмотря на то, что на этом чипе вывод под номером 1 является выходной шиной, а последний вывод входным, на практике несколько раз дезориентировало меня. В итоге я неправильно делал разводку печатной платы. Чтобы впредь не повторить таких курьезов, я нанес обозначения выводов непосредственно на эскизы корпусов: ТО-92, SOT-89, SO-8.
78L05 схема включения
Представленная здесь микросхема наверное самая простая по своей конструкции, в составе которой находятся всего-навсего сам стабилизатор и пара конденсаторов. Для обеспечения корректной работы прибора, а также чтобы избежать возможности генерирования пульсирующих напряжений, на входном и выходном трактах нужно подключить конденсаторы. Номинальные значения подключаемых емкостей должны быть не менее 0,33 мкФ и 0,1 мкФ соответственно.
При использовании для питания стабилизатора выпрямленного напряжения с частотой 50Гц, то тогда емкость по входу необходимо увеличить.
Лучше установить электролитический конденсатор, который имеет большее последовательное сопротивление. В этом варианте нужно электролит зашунтировать керамическим конденсатором.
Характеристики параметров стабилизатора напряжения 78L05
- Напряжение на выходе +5v.
- Ток на выходе 0,1 А.
- Оптимальное выходное напряжение от +7v до + 20v.
- Оптимальный диапазон температур от 0 до 130 °C.
Если есть необходимость в получении отрицательного стабилизированного напряжения -5v, то тогда нужно воспользоваться микросхемой 79L05. Ориентироваться в обозначениях очень просто — вторая цифра в коде означает, что этот прибор выполняет стабилизацию положительного напряжения, а цифра 9 — отрицательного напряжения. Буква L в коде, показывает номинальный ток 0,1 А, имеются модели с букой «m» — это ток 0,5 А, а если вообще без буквы, то этот прибор рассчитан на ток в 1 А. Последние две цифры в кодовом обозначении показывают номинальное выходное напряжение от 5 до 24v.
Аналоги отечественный производителей
На внутреннем рынке также представлен широкий выбор отечественных аналогов этого стабилизатора напряжений — КР1157ЕНхх, КР1181ЕНхх. В частности микросхему 78L05 можно заменять аналогами КР1157ЕН5 и КР1181ЕН5. Кренки серии
КР1181 имеют корпус TO-92, а КР1157ЕН5 выполнены в более массивном корпусе с допустимым током 0,25 А, который можно устанавливать на теплоотвод.
Корпус TO-92 — обозначение функций контактов по их номерам
Характеристики стабилизатора напряжений L78L05
| Параметр | Значение |
|---|---|
| Наименование | L78L05 |
| Описание | Positive voltage regulator |
| Кол-во каналов | 1 |
| Входное напряжение (min) (Uвх (min)) | 7 В |
| Входное напряжение (max) (Uвх (max)) | 30 В |
| Выходное напряжение (min) (Uвых (min)) | 4. 6 В |
| Выходное напряжение (max) (Uвых (max)) | 5.4 В |
| Uпд | 1.7 В |
| Выходной ток (Iвых) | 100 мА |
| Ток покоя (потребления) IQ (I0) | 6 мА |
| Возможность регулировки выходного напряжения (ADJ) | Нет |
| Точность | 4% |
| Минимальная рабочая температура (tmin) | -40 °C |
| Максимальная рабочая температура (tmax) | 125 °C |
| Корпус | ТО-92 |
| Даташит | Даташит |
| Выходное напряжение В | ||
| 78L05 78L06 78L08 78L09 78L12 78L15 78L18 78L24 | 7,230 8,230 10,230 11,230 14,230 17,230 20,230 26,230 | 5 6 8 9 12 15 18 24 |
| Тип | Входное напряжение В |
78М06
78М08
78М12
78М15
78М20
78М24
8,535
10,535
14,535
17,535
22,540
26,540
6
8
12
15
20
24
Общие сведения:
Вход стабилизатора — IN
Выход стабилизатора — OUT
Общий — GND (Ground)
Вход управления регулируемого стабилизатора — ADJ
По входу INPUT, а так же по выходу OUTPUT стабилизатора во избежание самовозбуждения необходимо подключать конденсатор 47.
220нФ.
Если емкость конденсатора на выходе стабилизатора очень велика, а ток нагрузки мал, между входом и выходом необходимо включать диод. Это решение гарантирует, что напряжение будет очень быстро уменьшаться до величины входного напряжения.
Для надежной работы стабилизатора напряжение на входе выбирается не менее чем на 3 В выше, чем выходное напряжение.
Стабилизаторы постоянного отрицательного напряжения с максимальным выходным током 100мА в корпусе ТО-92(рис.2)
79L06
79L08
79L09
79L12
79L15
79L18
79L24
-8,2-30
-10,2-30
-11,2-30
-14,2-30
-17,2-30
-20,2-30
-26,2-30
-6
-8
-9
-12
-15
-18
-24
Перфикс зависит от изготовителя :
LM79Lxx ACZ
MC79Lxx CP
ML79Lxx A
Стабилизаторы постоянного положительного напряжения с выходным током более 1А в корпусе ТО-3(рис.
5)
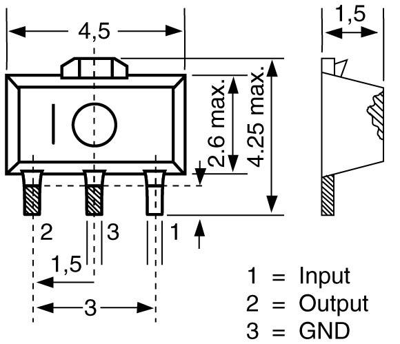
Стабилизатор напряжения 78L05 выпускается в корпусах TO-92, SOT-89, SO-8.
Выходное напряжение +5 вольт. Выходной ток 100 миллиампер. Рекомендуемое напряжение на входе от +7 до + 20 вольт. Рекомендуемый температурный диапазон от 0 до 125 градусов по Цельсию.
Интегральные стабилизаторы напряжения 78хх, 79хх, 78Lxx, 79Lxx и LMxxx
Общие сведения
Вход стабилизатора — «IN»; выход — «OUT»; общий -«GND» (Ground).
• Вход управления регулируемого стабилизатора обозначается как «ADJ» (Adjust — регулировка).
• Ко входу (Input), а также к выходу (Output) стабилизатора (непосредственно у соответствующего вывода или вблизи него) во избежание самовозбуждения необходимо подключать конденсатор емкостью 47. 220 нФ.
• Если емкость конденсатора на выходе стабилизатора очень велика, а ток нагрузки мал, между входом и выходом необходимо включать диод. Это решение гарантирует, что напряжение на выходе будет очень быстро уменьшаться до величины входного напряжения.
• Для надежной работы стабилизатора напряжение на входе выбирается не менее чем на 3 В выше, чем выходное напряжение.
• Не рассматриваемые здесь стабилизаторы серии «low-drop» (с малым падением напряжения между входом и выходом) для надежной стабилизации должны иметь входное напряжение, превышающее выходное на 0,1 . 0,5 В.
Стабилизаторы положительного постоянного напряжения, максимальный выходной ток — 100 мА, корпус — ТО-92 (рис.1)
Входное напряжение, В
Ошибка на рис 1. Цоколевка не соответсвует действительности. Правильно: 1 —
Out, 2 — GND, 3 — In
Стабилизаторы положительного постоянного напряжения, максимальный выходной ток — 500 мА, корпус — ТО-220 (рис.3) или ТО-39 (рис.6)
Входное напряжение, В
Ошибка на рис 2. Правильно: 1 — GND, 2 — In, 3 — Out
Ошибка на рис 4. Правильно: 1 — GND, 2 — In, 3 — Out
Стабилизаторы постоянного отрицательного напряжения с максимальным выходным током 100 мА в корпусе ТО-92 (рис.
2)
Входное напряжение, В
Префикс зависит от изготовителя:
Стабилизаторы постоянного отрицательного напряжения с максимальным выходным током 1 А в корпусе ТО-220 (рис.4)
Входное напряжение, В
Выходное напряжение, В
Стабилизаторы постоянного положительного напряжения с выходным током более 1 А в корпусе ТО-3 (рис.5)
Входное напряжение, В
Выходное напряжение, В
Стабилизаторы положительного постоянного напряжения, корпус — ТО-220 (рис.3) или ТО-39 (рис.6)
Входное напряжение, В
Выходное напряжение, В
Регулируемые стабилизаторы положительного напряжения
Максимальное входное напрянение, В
Выходное напряжение, В
Расположение выводов. рис.
Ошибка на рис 7. Правильно: 1 — ADJ, 2 — Out, 3 — In
Ошибка на рис 8. Правильно: 1 — ADJ, 2 — Out, 3 — In
Рис.
15. Схема включения стабилизатора положительного напряжения
Рис. 16. Схема включения стабилизатора отрицательного напряжения
Рис. 17. Схема включения стабилизатора типа L200 с ограничением тока
Рис. 18. Схема включения стабилизатора типа LM317 с ограничением тока
Рис. 19. Стандартная схема включения стабилизатора с ограничением тока
Рис. 20. Схема включения стабилизатора типа LM723 с ограничением тока
Рис. 21. Получение стабилизированного отрицательного напряжения с помощью стабилизатора положительного напряжения
Рис. 22. Регулируемый стабилизатор напряжения
Общие сведения
Вход стабилизатора — «IN»; выход — «OUT»; общий -«GND» (Ground).
• Вход управления регулируемого стабилизатора обозначается как «ADJ» (Adjust — регулировка).
• Ко входу (Input), а также к выходу (Output) стабилизатора (непосредственно у соответствующего вывода или вблизи него) во избежание самовозбуждения необходимо подключать конденсатор емкостью 47.
220 нФ.
• Если емкость конденсатора на выходе стабилизатора очень велика, а ток нагрузки мал, между входом и выходом необходимо включать диод. Это решение гарантирует, что напряжение на выходе будет очень быстро уменьшаться до величины входного напряжения.
• Для надежной работы стабилизатора напряжение на входе выбирается не менее чем на 3 В выше, чем выходное напряжение.
• Не рассматриваемые здесь стабилизаторы серии «low-drop» (с малым падением напряжения между входом и выходом) для надежной стабилизации должны иметь входное напряжение, превышающее выходное на 0,1 . 0,5 В.
Источник: Funkamateur, 9/99. Перевод А.Бельского Источник: Funkamateur, 9/99. Перевод А.Бельского Источник: Funkamateur, 9/99. Перевод А.Бельского
Администрация сайта отдельно благодарит Александра Сокотун за исправление опечаток на этой странице.
Поделиться с друзьями:
Твитнуть
Поделиться
Поделиться
Отправить
Класснуть
Adblock detector
Применение стабилизатора напряжения в техвыводном корпусе.
Линейный стабилизатор напряжения LM7805. Самодельный блок питания на базе этого модуляОтрегулированное напряжение питания очень важно для многих электронных устройств, поскольку полупроводниковые компоненты, применяемые в них, могут быть чувствительны для скачков и шумов нерегулируемого напряжения. Электронные приборы, питаемые от сети сначала преобразуют переменное напряжение в постоянное благодаря диодному мосту или другому подобному элементу. Но это напряжение не стоит использовать в чувствительных схемах.
В данном случае нужен регулятор (или стабилизатор) напряжения. И одним из самых популярных и распространенных регуляторов на сегодняшний день является регулятор серии 7805.
Микросхема 7805 расположена в трехвыводном корпусе TO-220 с выводами вход, выход, земля (GND). Также контакт GND представлен на металлическом основании микросхемы для крепления радиатора. Данный стабилизатор поддерживает входное напряжение до 40 В, а на выходе обеспечивает 5 В. Максимальный ток нагрузки 1.
5 А. Внешний вид регулятора напряжения 7805 с расположением выводов представлен на изображении ниже.
Благодаря стабилизатору напряжения серии 7805 выход фиксируется на определенном уровне без ощутимых скачков и шумов. Чтобы эффективно минимизировать шумы на выходе и максимально сделать выходное напряжение стабильным, регулятор 7805 нужно правильно «обвязать», то есть подключить к его входу и выходу блокиовочные, сглаживающие конденсаторы. Схема подключения конденсаторов к микросхеме 7805 (U1) показана ниже.
Здесь конденсатор C1 представляет собой байпасный или блокировочный конденсатор и используется для гашения на землю очень быстрых по времени входных скачков. C2 является фильтрующим конденсатором, позволяющим стабилизировать медленные изменения напряжения на входе. Чем больше его значение, тем больше уровень стабилизации, но не стоит брать это значение слишком большим, если не хотите, чтобы он разряжался дольше после включения. Конденсатор C3 также стабилизирует медленные изменения напряжения, но уже на выходе.
Конденсатор C4, как и C1, гасит очень быстрые скачки, но уже после регулятора и непосредственно перед нагрузкой.
Типичная схема включения регулятора напряжения 7805 представлена ниже. Здесь переменное напряжение выпрямляется диодным мостом и подается на регулятор с требуемой обвязкой из конденсаторов для более качественной стабилизации выходного напряжения. В схему также добавлен диод D5, позволяющий избежать короткого замыкания и тем самым обезопасить регулятор. Если бы его не было, то выходной конденсатор имел бы возможность быстро разрядиться во время периода низкого импеданса внутри регулятора.
Таким образом, регулятор напряжения является очень полезным элементом в схеме, способным обеспечить правильное питание вашего устройства.
В настоящее время тяжело найти какое-либо электронное устройство не использующее стабилизированный источник питания. В основном в качестве источника питания, для подавляющего большинства различных радиоэлектронных устройств, рассчитанных на работу от 5 вольт, наилучшим вариантом будет применение трехвыводного интегрального 78L05 .
Описание стабилизатора 78L05
Данный стабилизатор не дорогой () и прост в применении, что позволяет облегчить проектирование радиоэлектронных схем со значительным числом печатных плат, к которым подается нестабилизированное постоянное напряжение, и на каждой плате отдельно монтируется свой стабилизатор.
Микросхема — стабилизатор 78L05 (7805) имеет тепловую защиту, а также встроенную систему предохраняющую стабилизатор от перегрузки по току. Тем не менее, для более надежной работы желательно применять диод, позволяющий защитить стабилизатор от короткого замыкания во входной цепи.
Технические параметры и цоколевка стабилизатора 78L05:
- Входное напряжение: от 7 до 20 вольт.
- Выходное напряжение: от 4,5 до 5,5 вольт.
- Выходной ток (максимальный): 100 мА.
- Ток потребления (стабилизатором): 5,5 мА.
- Допустимая разница напряжений вход-выход: 1,7 вольт.
- Рабочая температура: от -40 до +125 °C.
Аналоги стабилизатора 78L05 (7805)
Существуют два типа данной микросхемы: мощный 7805 (ток нагрузки до 1А) и маломощный 78L05 (ток нагрузки до 0,1А).
Зарубежным аналогом 7805 является ka7805. Отечественными аналогами являются для 78L05 — КР1157ЕН5, а для 7805 — 142ЕН5
Схема включения 78L05
Типовая схема включения стабилизатора 78L05 (по datasheet) легка и не требует большого количества дополнительных радиоэлементов.
Конденсатор С1 на входе необходим для ликвидации ВЧ помех при подачи входного напряжения. Конденсатор С2 на выходе стабилизатора, как и в любом другом источнике питания, обеспечивает стабильность блока питания при резком изменении тока нагрузки, а так же уменьшает степень пульсаций.
При разработке блока питания необходимо иметь в виду, что для устойчивой работы стабилизатора 78L05 напряжение на входе должно быть не менее 7 и не более 20 вольт.
Ниже приводятся несколько примеров использования интегрального стабилизатора 78L05.
Лабораторный блок питания на 78L05
Данная схема отличается своей оригинальностью, из-за нестандартного применения микросхемы , источником опорного напряжения которого служит стабилизатор 78L05.
Поскольку максимально допустимое входное напряжение для 78L05 составляет 20 вольт, то для предотвращения выхода 78L05 из строя в схему добавлен параметрический стабилизатор на стабилитроне VD1 и резисторе R1.
Микросхема TDA2030 подключена по типу неинвертирующего усилителя. При таком подключении коэффициент усиления равен 1+R4/R3 (в данном случае 6). Таким образом, напряжение на выходе блока питания, при изменении сопротивления резистора R2, будет меняться от 0 и до 30 вольт (5 вольт х 6). Если нужно изменить максимальное выходное напряжение, то это можно сделать путем подбора подходящего сопротивления резистора R3 или R4.
Бестрансформаторный блок питания на 5 вольт
данная характеризуется повышенной стабильностью, отсутствием нагрева элементов и состоит из доступных радиодеталей.
Структура блока питания включает в себя: индикатор включения на светодиоде HL1, вместо обычного трансформатора — гасящая цепь на элементах C1 и R2, диодный выпрямительный мост VD1, конденсаторы для уменьшения пульсаций, стабилитрон VD2 на 9 вольт и интегральный стабилизатор напряжения 78L05 (DA1).
Необходимость в стабилитроне вызвана тем, что напряжение с выхода диодного моста равно приблизительно 100 вольт и это может вывести стабилизатор 78L05 из строя. Можно использовать любой стабилитрон с напряжением стабилизации от 8…15 вольт.
Внимание! Так как схема не имеет гальванической развязки с электросетью, следует соблюдать осторожность при наладке и использовании блока питания.
Простой регулируемый источник питания на 78L05
Диапазон регулируемого напряжения в данной схеме составляет от 5 до 20 вольт. Изменение выходного напряжения производится при помощи переменного резистора R2. Максимальный ток нагрузки составляет 1,5 ампер. Стабилизатор 78L05 лучше всего заменить на 7805 или его отечественный аналог КР142ЕН5А. Транзистор VT1 можно заменить на . Мощный транзистор VT2 желательно разместить на радиаторе с площадью не менее 150 кв. см.
Схема универсального зарядного устройства
Эта схема зарядного устройства достаточно проста и универсальна.
Зарядка позволяет заряжать всевозможные типы аккумуляторных батарей: литиевые, никелевые, а так же маленькие свинцовые аккумуляторы используемые в бесперебойниках.
Известно, что при зарядке аккумуляторов важен стабильный ток зарядки, который должен составлять примерно 1/10 часть от емкости аккумулятора. Постоянство зарядного тока обеспечивает стабилизатор 78L05 (7805). У зарядника 4-е диапазона тока зарядки: 50, 100, 150 и 200 мА, которые определяются сопротивлениями R4…R7 соответственно. Исходя из того, что на выходе стабилизатора 5 вольт, то для получения допустим 50 мА необходим резистор на 100 Ом (5В / 0,05 А = 100) и так для всех диапазонов.
Так же схема снабжена индикатором, построенном на двух транзисторах VT1, VT2 и светодиоде HL1. Светодиод гаснет при окончании зарядки аккумулятора.
Регулируемый источник тока
По причине отрицательно обратной связи, следующей через сопротивление нагрузки, на входе 2 (инвертирующий) микросхемы TDA2030 (DA2) находится напряжение Uвх.
Под влиянием данного напряжения сквозь нагрузку течет ток: Ih = Uвх / R2. Исходя из данной формулы, ток, протекающий через нагрузку, не находится в зависимости от сопротивления этой нагрузки.
Таким образом, меняя напряжение поступающее с переменного резистора R1 на вход 1 DA2 от 0 и до 5 В, при постоянном значении резистора R2 (10 Ом), можно изменять ток протекающий через нагрузку в диапазоне от 0 до 0,5 А.
Подобная схема может быть с успехом применена в качестве зарядного устройства для зарядки всевозможных аккумуляторов. Зарядный ток постоянен во время всего процесса зарядки и не находится в зависимости от уровня разряженности аккумулятора или от непостоянства питающей сети. Предельный ток заряда, можно менять путем уменьшения или увеличения сопротивление резистора R2.
(161,0 Kb, скачано: 3 935)
Устройства, которые входят в схему блока питания, и поддерживают стабильное выходное напряжение, называются стабилизаторами напряжения. Эти устройства рассчитаны на фиксированные значения напряжения выхода: 5, 9 или 12 вольт.
Но существуют устройства с наличием регулировки. В них можно установить желаемое напряжение в определенных доступных пределах.
Большинство стабилизаторов предназначены на определенный наибольший ток, который они выдерживают. Если превысить эту величину, то стабилизатор выйдет из строя. Инновационные стабилизаторы оснащены блокировкой по току, обеспечивающей выключение устройства при достижении наибольшего тока в нагрузке и защищены от перегрева. Вместе со стабилизаторами, которые поддерживают положительное значение напряжения, есть и устройства, действующие с отрицательным напряжением. Они применяются в двухполярных блоках питания.
Стабилизатор 7805 изготовлен в корпусе, подобном транзистору. На рисунке видны три вывода. Он рассчитан на напряжение 5 вольт и ток 1 ампер. В корпусе есть отверстие для фиксации стабилизатора к радиатору. Модель 7805 является устройством положительного напряжения.
Зеркальное отображение этого стабилизатора — это его аналог 7905, предназначенный для отрицательного напряжения.
На корпусе будет положительное напряжение, на вход поступит отрицательное значение. С выхода снимается -5 В. Чтобы стабилизаторы работали в нормальном режиме, нужно подавать на вход 10 вольт.
Распиновка
Стабилизатор 7805 имеет распиновку, которая показана на рисунке. Общий вывод соединен с корпусом. Во время установки устройства это играет важную роль. Две последние цифры обозначают выдаваемое микросхемой напряжение.
Стабилизаторы для питания микросхем
Рассмотрим методы подключения к питанию цифровых приборов, сделанных самостоятельно, на микроконтроллерах. Любое электронное устройство требует для нормальной работы правильное подключение питания. Блок питания рассчитывается на определенную мощность. На его выходе устанавливается конденсатор значительной величины емкости для выравнивания импульсов напряжения.
Блоки питания без стабилизации, применяемые для роутеров, сотовых телефонов и другой техники, не сочетаются с питанием микроконтроллеров напрямую.
Выходное напряжение этих блоков изменяется, и зависит от подключенной мощности. Исключением из этого правила являются зарядные блоки для смартфонов с USB портом, на котором выходит 5 В.
Схема работы стабилизатора, сочетающаяся со всеми микросхемами этого типа:
Если разобрать стабилизатор и посмотреть его внутренности, то схема выглядела бы следующим образом:
Для электронных устройств не чувствительных к точности напряжения, такой прибор подойдет. Но для точной аппаратуры нужна качественная схема. В нашем случае стабилизатор 7805 выдает напряжение в интервале 4,75-5,25 В, но нагрузка по току не должна быть больше 1 А. Нестабильное входное напряжение колеблется в интервале 7,5-20 В. При этом выходное значение будет постоянно равно 5 В. Это является достоинством стабилизаторов.
При возрастании нагрузки, которую может выдать микросхема (до 15 Вт), прибор лучше обеспечить охлаждением вентилятором с установленным радиатором.
Работоспособная схема стабилизатора:
Технические данные
- Наибольший ток 1,5 А.

- Интервал входного напряжения – до 40 вольт.
- Выход – 5 В.
Во избежание перегрева стабилизатора, необходимо поддерживать наименьшее входное напряжение микросхемы. В нашем случае входное напряжение 7 вольт.
Лишнюю величину мощности микросхема рассеивает на себе. Чем выше входное напряжение на микросхеме, тем выше потребляемая мощность, которая преобразуется в нагревание корпуса. В итоге микросхема перегреется и сработает защита, устройство отключится.
Стабилизатор напряжения 5 вольт
Такое устройство имеет отличие от аналогичных приборов в своей простоте и приемлемой стабилизации. В нем использована микросхема К155J1А3. Этот стабилизатор использовался для цифровых устройств.
Устройство состоит из рабочих узлов: запуска, источника образцового напряжения, схемы сравнения, усилителя тока, ключа на транзисторах, накопителя индуктивной энергии с коммутатором на диодах, фильтров входа и выхода.
После подключения питания начинает действовать узел запуска, который выполнен в виде стабилизатора напряжения.
На эмиттере транзистора возникает напряжение 4 В. Диод VD3 закрыт. В итоге включается образцовое напряжение и усилитель тока.
Ключ на транзисторах закрыт. На выходе усилителя образуется импульс напряжения, который открывает ключ, пропускающий ток на накопитель энергии. В стабилизаторе включается схема отрицательной связи, устройство переходит в режим работы.
Все применяемые детали тщательно проверяются. Перед установкой на плату резистора, его значение делают равным 3,3 кОм. Стабилизатор вначале подключают на 8 вольт с нагрузкой 10 Ом, далее, при необходимости устанавливают его на 5 вольт.
Почти все радиолюбительские самоделки и конструкции имеют в своем составе стабилизированный источник питания. А если ваша схема работает от напряжения питания 5 вольт, то лучшим вариантом будет использование трехвыводного интегрального стабилизатора 78L05
В природе существуют две разновидности 7805 с током нагрузки до 1А и более маломощный 78L05 с током нагрузки до 0,1А. Кроме того промежуточным вариантом является микросхема 78M05 с током нагрузки до 0,5А.
Полными отечественными аналогами микросхемы являются для 78L05 КР1157ЕН5 и 7805 для 142ЕН5
Емкость С1 на входе требуется для срезания высокочастотных помех при подачи входного напряжения. Емкость С2 но уже на выходе стабилизатора задает стабильность напряжения при резком изменении тока нагрузки, а так же существенно снижает степень пульсаций.
При проектирование требуется помнить, что для нормальной работы стабилизатора 78L05 напряжение на входе должно быть не ниже 7 и не выше 20 вольт.
Рассмотрим наиболее интересные примеры практического использования интегрального стабилизатора 78L05.
Этак конструкция лабораторного блока питания отличается своей изысканностью, в первую очередь из-за нестандартного использования микросхемы TDA2030, источником стабилизированного напряжения которого является 78L05.
TDA2030 включена как неинвертирующий усилитель. При
таком подсоединении коэффициент усиления рассчитывается по формуле 1+R4/R3 и равен 6. Поэтому, напряжение на выходе блока питания, при регулировании номинала
сопротивления R2, будет плавно изменятся от 0 и до 30 вольт.
Повышенная стабильность, отсутствие перегрева радиокомпонентов, вот главные достоинства этой конструкции.
Индикатор включения выполнен на светодиоде HL1, вместо трансформатора использована гасящая цепь на компонентах C1 и R1, диодный выпрямительный мост на специализированной сборке, конденсаторы применяются для минимизации пульсаций, стабилитрон на 9 вольт и стабилизатор напряжения 78L05. Необходимость использования стабилитрона обуславливается тем, что напряжение с выхода диодного моста около 100 вольт и это может повредить стабилизатор 78L05.
Стабилизаторы электрического напряжения это устройства, входящие в состав блока питания и позволяющие держать на выходе блока питания стабильное напряжение. Стабилизаторы электрического напряжения бывают рассчитанные на какое-то фиксированное напряжение на выходе (например 5В, 9В, 12В), а бывают регулируемые стабилизаторы напряжения, у которых есть возможность установить требуемое напряжение в тех пределах, в каких они позволяют.
Все стабилизаторы обязательно рассчитаны на какой-то максимальный ток, который они могут обеспечить. Превышение этого тока грозит выходом стабилизатора из строя. Современные стабилизаторы обязательно оснащаются защитой по току, которая обеспечивает отключение стабилизатора при превышении максимального тока в нагрузке и защитой по перегреву. Наряду со стабилизаторами положительного напряжения существуют стабилизаторы отрицательного напряжения. В основном они используются в двухполярных источниках питания.
7805 — cтабилизатор
7805 — cтабилизатор , выполненный в корпусе, похожем на транзистор и имеет три вывода. См. рисунок. (+5V стабилизированного напряжения и ток 1A). Так же в корпусе имеется отверстие для крепления стабилизатора напряжения 7805 к радиатору охлаждения. 7805 является стабилизатором положительного напряжения. Его зеркальное отражение — 7905 — аналог 7805 для отрицательного напряжения . Т.е. на общем выводе у него будтет +, а на вход будет подаваться -.
С его выхода, соответственно, будет сниматься стабилизированное напряжение -5 вольт.
Так же стоит отметить, что для нормальной работы на вход обоим стабилизаторам необходимо подавать напряжение около 10 вольт.
У этого стабилизатора существует маломощный аналог .
7805 распиновка
У стабилизатора 7805 распиновка следующая. Если смотреть на корпус 7805 как показано на фото выше, то выводы имеют следующую цоколёвку слева направо: вход, общий, выход. Вывод «общий» имеет контакт на корпус. Это необходимо учитывать при монтаже. Стабилизатор 7905 имеет другую распиновку! Слева направо: общий, вход, выход. И на корпусе у него «вход» !
78L05 Регулятор напряжения: PDF, разводка контактов, техническое описание
Обзор литиевой батареи 3 В CR2430 [Часто задаваемые вопросы]
Подробное введение в LM2940
Автор: Игги
Дата: 24 января 2022 г.
78L05 представляет собой встроенный регулятор с тремя клеммами.
Отличные характеристики внутреннего ограничения тока и теплового отключения делают его особенно подходящим для условий перегрузки. При использовании вместо традиционной группы диод-резистор Зенера его выходной импеданс эффективно улучшается, но ток смещения значительно снижается.
78L05 подходит для многих применений. Их можно комбинировать с другими устройствами передачи энергии для создания сильноточного регулируемого источника питания, такого как регулятор напряжения, который может управлять выходным током до 100 мА.
Catalog
78L05 Pinout | ||
78L05 Features | ||
78L05 Applications | ||
78L05 Advantage | ||
78L05 Equivalents | ||
78L05 Альтернатива | ||
Где использовать 78L05 | ||
Как проверить 78L05 | ||
Как использовать 78L05 | ||
78L05. Номер контакта | Название контакта | Описание |
1 | Выход (Vo) | Выходы регулируемые +5В |
2 | Земля (земля) | Заземлен |
3 | Вход (В+) | Нерегулируемое входное напряжение |
78L05 Особенности
- Рабочий ток (IQ) 5 мА Доступна внутренняя защита от тепловой перегрузки и ограничения тока короткого замыкания
- .
- Максимальное входное напряжение составляет 30 вольт. Доступны пакеты
- TO-92, SO-8 и SOT-89.
- Регулятор положительного напряжения 5 В
- Максимальный выходной ток составляет 100 мА.
Примечание. Полную техническую информацию можно найти в техническом описании 78L05 в конце этой страницы.
78L05 Применение
- Регулируемый выходной регулятор
- Регулятор постоянного выхода +5 В для питания небольших нагрузок менее 100 мА
- Выходная схема защиты от неправильной полярности
- Выходной усилительный контур
- Ограничитель тока для некоторых приложений
78L05 Преимущество
78L05 Регулятор напряжения
78L05 представляет собой встроенный трехвыводной регулятор фиксированного напряжения (5 В), который может применяться во многих приложениях. Отличные характеристики внутреннего тока и теплового отключения делают его особенно подходящим для перегрузок. Когда он используется для замены традиционного стабилитрона с группой сопротивления, его выходной импеданс эффективно улучшается, но ток смещения значительно снижается. Другими словами, серия 78L05 (как и L78L05ACD013TR) представляет собой встроенный стабилизатор напряжения с тремя клеммами фиксированного напряжения (5 В), который подходит для многих приложений.
Подобно одноточечному регулятору напряжения, который должен ограничивать шум и решать проблему распределения, его также можно использовать с другими устройствами передачи энергии для формирования источника питания со стабильным напряжением с большим током, например, со стабильным выходным током до 100 мА. .
78L05 Эквиваленты
LM7805, AMS7111
78L05 Альтернатива
LM317, LM7806, LM7809, LM7905, LM117V333, LM7812, LM7912.
Где использовать 78L05
Регуляторы напряжения часто используются в электронных схемах. Они создают постоянное выходное напряжение в ответ на переменное входное напряжение. В нашем случае ИС 78L05 — это хорошо известная ИС регулятора, которая используется в самых разных проектах. Название 78L05 имеет два значения: «78» означает, что это стабилизатор положительного напряжения, а «05» означает, что он выдает 5 В. В результате наш 7805 будет выдавать выходное напряжение +5В.
Выходной ток этой микросхемы может достигать 100 мА.
Однако микросхема страдает от значительных тепловых потерь, поэтому для проектов, требующих более высокого потребления тока, рекомендуется использовать радиатор. Например, если входное напряжение 12 В, а потребляемый ток 50 мА, (12-5) * (50*10-3) = 0,35 Вт. Эти 0,35 Вт будут рассеиваться в виде тепла.
Еще одним популярным стабилизатором напряжения является 7805, который больше, но имеет более высокий номинальный ток около 1А. Итак, если вы ищете меньший пакет регулятора напряжения с низким номинальным током в ТО-92, эта микросхема может подойти.
Как проверить 78L05
Все, что вам нужно сделать, это снять положительный щуп с входного контакта и поместить его на выходной контакт. Вы можете оставить отрицательный щуп на заземляющем контакте. Указанное значение выходного напряжения должно составлять 5 вольт из-за «05», связанного с 78L05 .
Как использовать 78L05
78L05 представляет собой регулятор напряжения с тремя клеммами. Как показано на схеме выводов 78L05, три клеммы — это вход, выход и земля. Использовать эту микросхему очень просто; просто подключите входной контакт к входному напряжению, которое необходимо отрегулировать, а контакт заземления к заземлению системы. Выходной контакт микросхемы можно использовать для получения регулируемого напряжения 5 В.
78L05 используется в приведенной ниже схеме для регулирования входного напряжения 12 В до 5 В. Вы используете 5 В для питания любых небольших нагрузок, потребляющих менее 100 мА, таких как светодиоды. Потому что максимальный ток, который может обеспечить эта микросхема, составляет всего 100 мА.
Также стоит отметить, что конденсаторы C1 и C2 используются как на входе, так и на выходе. Эти конденсаторы фильтруют любой шум, связанный с входным напряжением. Нет необходимости использовать точное значение конденсатора, но 10 мкФ для C1 и 1 мкФ для C2 были бы хорошей отправной точкой.
Эти регуляторы также могут ограничивать ток и защищать, когда температура поднимается выше температуры перехода. Если вы подключаете сильноточные нагрузки, вы можете ожидать, что микросхема сильно нагреется и в конечном итоге отключится. В этом случае отличным выбором будет сильноточный стабилизатор, такой как 7805.
Может использоваться в качестве регулятора напряжения, регулятора тока, защиты от короткого замыкания, вспомогательной цепи и даже регулятора переменного напряжения в дополнение к регулятору напряжения. Все эти схемы можно найти на странице 27/45 таблицы данных 78L05, ссылка на которую приведена ниже.
78L05 Пакет
Компонентный Dataash
(долл. США)
Спецификация
Запрос
| 2500+: | $0,10638 |
| 5000+: | $0,10047 |
| 12500+: | $0,09160 |
| 25000+: | $0,08570 |
| 62500+: | $0,07683 |
| 125000+: | $0,07388 |
Спецификация
Запрос
| 2500+: | $0,13470 |
| 5000+: | $0,12601 |
| 12500+: | $0,11558 |
| 25000+: | $0,11123 |
| 62500+: | $0,10862 |
| 125000+: | $0,10428 |
Н/Д
Запрос
| 1+: | $0,41000 |
| 10+: | $0,30000 |
| 100+: | $0,15300 |
| 1000+: | $0,11500 |
| 2500+: | $0,10100 |
| 10000+: | $0,09300 |
| 25000+: | $0,08900 |
| 50000+: | $0,08700 |
| 100000+: | $0,08600 |
Спецификация
Запрос
| 2000+: | $0,09300 |
| 6000+: | $0,08700 |
| 10000+: | $0,07980 |
| 50000+: | $0,07500 |
| 100000+: | $0,07380 |
| 200000+: | $0,07200 |
Спецификация
Запрос
| 2500+: | $0,10692 |
| 5000+: | $0,10098 |
| 12500+: | $0,09207 |
| 25000+: | $0,08613 |
| 62500+: | $0,07722 |
| 125000+: | $0,07425 |
Спецификация
Запрос
| 2500+: | $0,13470 |
| 5000+: | $0,12601 |
| 12500+: | $0,11558 |
| 25000+: | $0,11123 |
| 62500+: | $0,10862 |
| 125000+: | $0,10428 |
Н/Д
Запрос
| 1+: | $0,38000 |
| 10+: | $0,27900 |
| 100+: | $0,14200 |
| 1000+: | $0,10700 |
| 2500+: | $0,09400 |
| 10000+: | $0,08600 |
| 25000+: | $0,08300 |
| 50000+: | $0,08100 |
| 100000+: | $0,07900 |
Спецификация
Запрос
| 2000+: | $0,10230 |
| 6000+: | $0,09570 |
| 10000+: | $0,08778 |
| 50000+: | $0,08250 |
| 100000+: | $0,08118 |
| 200000+: | $0,07920 |
Спецификация
Запрос
| 2500+: | $0,09828 |
| 5000+: | $0,09282 |
| 12500+: | $0,08463 |
| 25000+: | $0,07917 |
| 62500+: | $0,07371 |
Н/Д
Купить
| 1+: | $0,52000 |
| 10+: | $0,42300 |
| 25+: | $0,38640 |
| 100+: | $0,26070 |
| 250+: | $0,21576 |
| 500+: | $0,19778 |
| 1000+: | $0,14834 |
| 2500+: | $0,13934 |
| 5000+: | $0,13036 |
Поделиться
Статьи по теме
Усилитель OP97: распиновка, характеристики, применение, спецификация
Irene
26 января 2022 г.
1139
OP97 Маломощные операционные усилители (ОУ) . Analog Devices предлагает свои операционные усилители для высокоточных приложений КаталогОбзор продуктаРаспиновка продуктаOP97 Модель CADOP97 Конфигурация контактов…
Продолжить чтение »
TDA7294: Микросхема усилителя звука мощностью 100 Вт [Видео]
Mia 11 марта 2022 г. 8056
TDA7294 ВведениеTDA7294 – это монолитная интегральная схема в корпусе Multiwatt15 , предназначенная для использования в качестве аудиоусилителя класса AB в Hi-Fi полевых приложениях. …
Продолжить чтение » Скачать PDF
Ирэн 2 апр 2022 252
Каталог ОписаниеХарактеристикиМеханические характеристикиСхема маркировкиМаксимальные номинальные характеристикиТепловые характеристикиЭлектрические характеристики†Типовые характеристикиМонтажные характеристики окружающей средыИнформация для заказа…
Продолжить чтение »
22 февраля 2022 г.
16443
I ВведениеУстройства LM311 представляют собой одиночные высокоскоростные компараторы напряжения. Устройства предназначены для работы от широкого диапазона напряжений питания, в том числе от источников питания ±15 В для…
Продолжить чтение »
Микроконтроллер ATMEGA32A: техническое описание, распиновка и характеристики
Irene 12 апр 2022 1330
ATmega32A — это маломощные 8-разрядные КМОП-микроконтроллеры, основанные на улучшенной RISC-архитектуре AVR®. Видео про ATMEGA32A Каталог ОписаниеОбзор продуктаCAD Mo…
Продолжить чтение »
# 0 1 2 3 4 5 6 7 8 9А Б С Д Е Ф грамм ЧАС я Дж К л М Н О п Вопрос р С Т U В Вт Икс Д Z
Особенности и способы использования
О распиновке 78L05. Регуляторы напряжения являются важными электрическими устройствами, которые предотвращают перегорание электронных схем и электрических компонентов.
Они помогают поддерживать фиксированное напряжение, несмотря на изменение выходного импеданса и входного напряжения.
Эта статья поможет вам узнать и определить правильные соединения регулятора напряжения 78L05 для ваших нужд!
Что такое 78L05?Регулятор 78L05 является не только регулятором положительного напряжения, но и выдает постоянное выходное напряжение. Число «78» на 78L05 показывает, что устройство обеспечивает положительное напряжение. В то же время «05» означает постоянный выходной сигнал 5 В, выдаваемый регулятором при максимальном входном напряжении 12 В.
Напряжение 5 В обеспечивает постоянную мощность для большинства внешних компонентов. Отсюда его включают в сильноточные регуляторы напряжения для широкого диапазона токовых нагрузок.
Регулятор выпускается в корпусах SO-98, TO-92 и SO-8. Примечательно, что регулятор претерпевает потери энергии в виде тепла. Следовательно, использование адекватного теплоотвода для смягчения последствий и предотвращения перегрева микросхемы.
(автоматический регулятор напряжения).
Конфигурация контактов 78L05Регулятор напряжения 78L05 имеет три контакта, которые выполняют разные функции. В приведенном ниже списке описывается каждый контакт.
- Выходной контакт, регулирующий выходное напряжение 5 В
- Штырь заземления соединяет всю систему с землей
- Входной штырь, подающий электрический ток в систему, но с нерегулируемым входным напряжением

(значки регулятора напряжения)
78L05 ЭквивалентыИзвестные эквивалентные устройства с трехвыводным стабилизатором напряжения вместо 78L05 включают LM7805 и AMS7111.
78L05 АльтернативыВместо трехвыводного регулятора напряжения 78L05 можно использовать альтернативные коммерческие устройства LM317, LM7809 и LM117V33. Кроме того, LM7806, LM7905, LM7912 и XC6206P332MR являются альтернативными вариантами, если необходимо нести электрическую нагрузку.
(модули регулируемого регулятора напряжения)
78L05 преимущество- Идеально подходит для функций максимальной нагрузки.
- Улучшает выходное сопротивление.
- Решает проблемы распределения и ограничивает шум.
(регулятор напряжения на белом фоне.)
78L05 Распиновка: Как пользоваться 78L05? Сначала подключите входной контакт к напряжению, требующему регулирования.
Затем вы подключите контакт заземления к заземлению системы. Кроме того, помните, что выходной контакт работает для регулирования напряжения 5 В.
(схема 78L05.)
78L05 Распиновка: Пояснение схемыРегулятор необходимо использовать в цепи с двумя конденсаторами на обоих концах цепи из схемы. Конденсаторы представляют собой керамические конденсаторы, которые фильтруют любую форму шума, сопровождающего входное напряжение. Один конденсатор емкостью 10 мкФ, известный как входной конденсатор. При этом второй конденсатор является выходным и имеет номинал 1Uf. Помимо разницы в значениях, входной конденсатор решает проблемы с входной индуктивностью. С другой стороны, выходной конденсатор добавляет стабильности схеме.
(автомобильный релейный регулятор напряжения.)
Тем не менее, этот популярный регулятор напряжения имеет функцию, которая активируется, когда температура цепи превышает температуру перехода. Эта особенность обеспечивает особую возможность защиты цепи.
(фото керамических конденсаторов, которые работают с регулятором напряжения 7815.)
78L05 Распиновка: 78L05 Приложения- Во-первых, вы можете использовать его как ограничитель тока в некоторых электронных приложениях.
- Во-вторых, он используется в качестве выходной схемы усилителя и работает как выходная схема защиты от неправильной полярности.
- В-третьих, эффективно работает как регулируемый регулятор мощности.
- Кроме того, он служит важным устройством для локального регулирования на плате.
- Кроме того, микросхема 78L05 используется при создании логических систем и моделей HiFi.
- И, наконец, используйте стабилизатор в качестве постоянного регулятора на выходе +5 В. Кроме того, эта выходная мощность +5 В помогает запускать микроконтроллеры и электронные датчики в большинстве электрических проектов.
(изображение регулятора напряжения).
Резюме Регулятор напряжения 78L5 относится к серии LM78XX.
Кроме того, регуляторы напряжения 78L5 обладают отличными характеристиками, которые делают их простыми в использовании и надежными электронными компонентами.
Если вы хотите узнать больше о связанных с вами проектах регуляторов напряжения, свяжитесь с нами! Наша команда всегда рада ответить на любые ваши вопросы.
78L05 Спецификация, распиновка — FindIC
Линейный регулятор
78L05 представляет собой встроенный трехконтактный стабилизатор напряжения с фиксированным напряжением (5 В), подходящий для многих приложений. Отличные характеристики внутреннего ограничения тока и теплового отключения делают его особенно подходящим для условий перегрузки. При использовании вместо традиционной группы диод-резистор Зенера его выходной импеданс эффективно улучшается, но ток смещения значительно снижается.
78L05 Технический паспорт.

6 В
Данные стабилизаторы имеют внутреннюю защиту по току (от превышения тока нагрузки) и защиту от перегрева.
Дабы в дальнейшем избежать подобных казусов, я пририсовал название выводов прямо на рисунки корпусов в исполнениях SO-8, SOT-89, TO-92.

Для этого между источником питания и входом последовательно включаем наши светодиоды, а выход соединяем с землей через нагрузочное сопротивление, которым можно отрегулировать ток. 


