Что представляет собой генератор тонального сигнала Fluke Networks Pro3000. Как он используется для трассировки кабелей. Какие основные функции и возможности имеет данный прибор. На чем основана его работа.
Обзор генератора тонального сигнала Fluke Networks Pro3000
Генератор тонального сигнала Fluke Networks Pro3000 представляет собой профессиональный инструмент для трассировки и идентификации кабелей в телекоммуникационных сетях. Этот компактный прибор позволяет быстро и точно определять нужные кабели и пары проводов даже в сложных кабельных системах.
Основные характеристики генератора Pro3000:
- Генерация тонального сигнала на расстояние до 16 км
- Технология SmartTone для точной идентификации пар
- Работа с большинством типов кабелей
- Прочный корпус для использования в полевых условиях
- Удобные зажимы для подключения к проводам
- Разъем RJ-11 для работы с телефонными розетками
Принцип работы генератора тонального сигнала
Принцип работы генератора Pro3000 основан на подаче в кабель специального тонального сигнала, который затем можно обнаружить с помощью детектора. Как это происходит?

- Генератор подключается к одному концу исследуемого кабеля
- В кабель подается тональный сигнал определенной частоты
- Сигнал распространяется по всей длине кабеля
- С помощью детектора signal находят на другом конце кабеля
- По наличию сигнала определяют нужный кабель или пару
Таким образом, Pro3000 позволяет быстро проследить прохождение кабеля и найти его окончание даже в сложных кабельных системах.
Ключевые функции и возможности генератора Pro3000
Рассмотрим подробнее основные функциональные возможности генератора тонального сигнала Fluke Networks Pro3000:
Генерация мощного сигнала
Pro3000 способен генерировать тональный сигнал, который распространяется на расстояние до 16 км по большинству типов кабелей. Это позволяет трассировать даже очень длинные кабельные линии.
Технология SmartTone
Запатентованная технология SmartTone обеспечивает возможность точной идентификации отдельных пар проводов. При замыкании на дальнем конце генератор изменяет тон сигнала, что позволяет однозначно определить нужную пару.

Различные режимы работы
Генератор может работать в нескольких режимах:
- Непрерывный тональный сигнал
- Чередующийся сигнал
- Режим проверки полярности линии
Это расширяет возможности применения прибора.
Особенности конструкции генератора Pro3000
Конструкция генератора Pro3000 оптимизирована для удобного использования в полевых условиях:
- Прочный корпус из ударопрочного пластика
- Эргономичный дизайн для удобного хвата
- Зажимы с иглами для легкого подключения к проводам
- Разъем RJ-11 для работы с телефонными розетками
- Светодиодная индикация режимов работы
- Кнопки управления защищены от случайных нажатий
Благодаря продуманной конструкции, Pro3000 удобен в использовании даже в стесненных условиях монтажных шкафов и кабельных каналов.
Применение генератора Pro3000 для трассировки кабелей
Генератор тонального сигнала Pro3000 широко применяется для решения различных задач при работе с кабельными системами:
- Трассировка кабелей в стенах, потолках и кабельных каналах
- Идентификация отдельных пар в многопарных кабелях
- Поиск обрывов и коротких замыканий в кабельных линиях
- Отслеживание кабельных трасс на территории зданий
- Проверка целостности кабельных линий
- Определение полярности телефонных линий
Pro3000 значительно упрощает и ускоряет процесс поиска и идентификации кабелей при монтаже, обслуживании и ремонте структурированных кабельных систем.
Преимущества использования генератора Pro3000
Использование генератора тонального сигнала Pro3000 дает ряд существенных преимуществ:
- Значительная экономия времени при поиске нужных кабелей
- Повышение точности идентификации проводов
- Возможность работы с кабелями большой протяженности
- Универсальность применения для разных типов кабелей
- Простота и удобство использования
- Высокая надежность и долговечность прибора
Все это делает Pro3000 незаменимым инструментом для специалистов, работающих с кабельными системами.
Сравнение Pro3000 с другими моделями генераторов
Как Pro3000 соотносится с другими моделями генераторов тонального сигнала? Рассмотрим сравнение по ключевым параметрам:
| Параметр | Pro3000 | Модель X | Модель Y |
|---|---|---|---|
| Дальность действия | До 16 км | До 8 км | До 12 км |
| Технология SmartTone | Да | Нет | Нет |
| Разъем RJ-11 | Да | Нет | Да |
| Проверка полярности | Да | Да | Нет |
Как видим, Pro3000 обладает наиболее полным набором функций при максимальной дальности действия.

Рекомендации по эффективному использованию Pro3000
Для максимально эффективного применения генератора Pro3000 рекомендуется придерживаться следующих правил:
- Внимательно изучите инструкцию перед началом работы
- Соблюдайте правила безопасности при подключении к кабелям
- Используйте разные режимы работы в зависимости от задачи
- Применяйте технологию SmartTone для точной идентификации пар
- Регулярно проверяйте состояние батареи питания прибора
- Храните генератор в защитном чехле для предотвращения повреждений
Следование этим рекомендациям позволит максимально раскрыть потенциал прибора и повысить эффективность работы с кабельными системами.
Генератор тональный Fluke Networks Pro3000 2327682
Генератор тона и детектор серии Pro3000™ обеспечивает четкую и точную трассировку коммуникационных кабелей. Новейший детектор с фильтрацией исключает помехи сигналу, создаваемые кабелями питания и освещения, во время обнаружения тонального сигнала. Громкий динамик детектора ускоряет и упрощает трассировку кабелей в гипсокартоне, дереве и других материалах.
Запатентованная технология SmartTone™, используемая в генераторе тона Pro3000™, позволяет посылать пять разных тональных сигналов для точной идентификации отдельных пар. Кроме того, генератор тона способен посылать тональные сигналы по большинству типов кабелей на расстояние до 16 км (10 миль). Зажимы с расположенными под углом иголками для прокола изоляции облегчают доступ к отдельным проводам, а соединитель RJ-11 идеально подходит для использования в телефонных гнездах. Прикрепите нейлоновый футляр к поясу, и вы готовы к идентификации любых кабелей.
Комплект из генератора тона и детектора серии Pro3000 для обнаружения тонального сигнала и трассировки неактивной проводки.
Больше никакого шума. Быстрее находите кабели с помощью четкого, точного тонового сигнала
- Четкость — новейшая технология фильтрации исключает помехи («шум»), которые затрудняют трассировку (только в моделях F)
- Точность — технология SmartTone™ позволяет посылать пять отдельных тональных сигналов для точной идентификации пар
- Посылает громкий тоновый сигнал на расстояние до 10 миль (16 километров) в большинстве кабелей
- Громкоговоритель на детекторе позволяет легче услышать тоновый сигнал сквозь гипсокартон, деревянные и другие перегородки
- Зажимы с расположенными под углом иголками для прокола изоляции облегчают доступ к парам
- Соединитель RJ-11 идеален для использования в телефонных гнездах
- Прикрепите нейлоновый футляр (включенный в комплект) к поясу для легкой транспортировки
Функциональные возможности Pro3000
Используйте функциональную возможность SmartTone прибора Pro3000 Analog Tone Generator для идентификации правильной пары.
При соприкосновении проводов и кратковременном замыкании на дальнем конце кабельной пары технология SmartTone изменит тон генерируемого сигнала. Это изменение тонального сигнала, которое Вы слышите через детектор, положительно верифицирует правильную пару проводов. Технология SmartTone обеспечивает пять отличных тоновых сигналов для точной идентификации пары.
Особенности тонального генератора:
- Технология SmartTone
- Посылает тоновый сигнал на расстояние до 10 миль в большинстве кабелей
- Сетевой шнур имеет зажимы с расположенными под углом иголками для прокола изоляции и прочный штепсель RJ-11 для прямого доступа к телефонным гнездам и гнездам кабелей для передачи данных без адаптеров
- Внешний переключатель позволяет выбор непрерывного или переменного тонового сигнала, которые обозначаются непрерывно светящимися или мигающими светодиодами
- Проверка целостности линии
- Подтверждение полярности линии
Дизайн Pro3000
Эргономический гладкий дизайн Pro3000 легок в обращении и использовании.
Большой динамик на детекторе облегчает слышимость тонального сигнала через стены, перегородки, дерево или гипсокартон. Утопленная кнопка включения/выключения помогает предотвращать случайное включение детектора в футляре. Имеется место для наушников (продаваемых отдельно) для использования в шумных местах.
Возможности детектора:
- Громкий большой динамик усиливает тональный сигнал через стены, перегородки, дерево или гипсокартон
- Удобный в работе регулируемый диск управления громкостью
- Наконечник «быстрого свинчивания» для легкой замены
- Бесплатный запасной наконечник внутри набора Pro3000 Tone and Probe Kit
Фильтровый детектор Pro3000F
Помехи сигналу от внешних источников могут значительно затруднять процесс трассировки кабеля. Фильтровый детектор Pro3000F с функцией «больше никакого шума» устраняет эти помехи, в результате вы слышите громкий и четкий тональный сигнал.
Приборы Pro3000F доступны в двух версиях:
- Pro3000F60 с фильтрацией помех на частоте 60 Гц — стандартной для Северной Америки;
- Pro3000F50 с фильтрацией помех на частоте 50 Гц — принятой в Европе, Азии и Тихоокеанском регионе.
Генератор тональных сигналов со звуковыми эффектами (варианты)
Изобретение относится к аппаратуре для получения особых музыкальных эффектов. Генератор тональных сигналов включает в себя средство генерирования данных сигнала, предназначенное для генерирования данных тонального сигнала, и средство придания звуковых эффектов, например, в виде цифрового процессора, предназначенное для придания звуковых эффектов данным тонального сигнала, генерируемым средством генерирования данных сигнала, на основе данных сигнала модуляции. В процессе придания звуковых эффектов данным тонального сигнала процессор осуществляет многократное умножение и суммирование поступающих данных тонального сигнала и сигнальных данных.
Данные тонального сигнала подаются в средство генерирования данных сигналов и используются вместо сигнальных данных. Таким образом, звуковые эффекты придаются генерируемым данным тонального сигнала на основе подаваемых данных тонального сигнала. Это позволяет существенно упростить устройство, т.е. генерировать музыкальные тона со звуковыми эффектами при минимальном количестве схем и легко изменять уровень и вид звукового эффекта. 2 с. и 12 з. п. ф-лы, 22 ил.
Изобретение относится к генератору тонального сигнала, имеющего различные специальные звуковые эффекты, такие как модуляция и изменение высоты тона, наряду с музыкальными тонами и нормальными звуковыми эффектами.
Используемые на практике телевизионные игровые устройства имеют генератор тонального сигнала. В этом устройстве данные, относящиеся к тональным сигналам, записанные в игровом картридже в постоянном запоминающем устройстве или на компакт-диске, поступают во внутреннюю оперативную память игровой приставки, откуда эти данные считываются по ходу игровой программы для генерирования музыкальных тонов с нормальными звуковыми эффектами и музыкальных тонов в качестве фонового музыкального оформления.
Вышеупомянутые музыкальные тоны для телевизионного игрового устройствам включают различные специальные звуковые эффекты, такие, как модуляция. Для обеспечения наибольшей эффективности звукового сопровождения, в генераторе тональных сигналов необходимо использовать специальные коэффициенты. Эти коэффициенты используются для определения уровня звуковых эффектов и для изменения с помощью этого уровня звука. Известные до настоящего времени генераторы тонального сигнала были снабжены генераторами низкой частоты (ГНЧ) и схемами генерирования модулирующего сигнала, используемыми только для формирования коэффициентов. Обычно для создания звуковых эффектов используется цифровой процессор сигнала (ЦПС). В цифровом процессоре сигнала данные сигнала необходимо подготовить таким образом, чтобы они представляли собой параметры фильтрации и модуляции. Например, в случае модуляции, требуются данные по модуляции сигнала. Поэтому, существовавшие до настоящего времени генераторы тонального сигнала снабжались схемами, которые имели много функций для создания различных сигнальных данных.
Кроме того, можно заранее создавать множество групп таких коэффициентов для фильтрации и осуществлять динамическое изменение существующей группы для того, чтобы обеспечить в генераторе тонального сигнала создание различных звуковых эффектов. Поэтому, существовавшие ранее генераторы тональных сигналов снабжались устройствами фильтрации, которые использовали микросхему ЦПС, схема которого представлена фиг. 18. Согласно фиг. 18, множество коэффициентов фильтрации (от а до d) поступают из регистра R коэффициентов фильтрации ЦПС 71, где набор этих коэффициентов используется для фильтрации входного сигнала Si фильтра за один тактовый период. В процессе работы центральное процессорное устройство (ЦПУ) изменяет коэффициенты, содержащиеся в регистре R коэффициентов, динамически изменяя коэффициенты фильтрации. В этом случае, запись коэффициентов из ЦПУ 70 в регистр R производится последовательно за несколько тактовых периодов времени синхронно с тактовым генератором ЦПУ 70. Поэтому для замены имеющегося в данный момент набора коэффициентов в регистре R на новый набор коэффициентов, требуется определенное время.
Существовавшие до настоящего времени генераторы тонального сигнала, однако, имели недостатки, состоящие в том, что им требовались отдельные электронные схемы, такие как ГНЧ и схемы генерирования модуляционных сигналов, что усложняло производство всей схемы, увеличивало размеры и стоимость. Тем не менее, с помощью таких устройств было трудно получить сложные звуковые эффекты. Поэтому каждая игровая программа имела определенные ограничения на звуковые эффекты. Известные генераторы тональных сигналов со схемами формирования различных сигнальных данных имели и другой недостаток, состоящий в усложнении и увеличении размеров схемы и снижении ее экономичности. Кроме того в фильтрах известных генераторов тонального сигнала перезапись коэффициентов вызывала сложности в процессе фильтрации. Например, если группа коэффициентов а — d изменялась на группу коэффициентов e — h в регистре R коэффициентов, то коэффициенты этих двух групп смешивались в процессе замены до момента, пока не заканчивалась полная смена коэффициентов.
При этом генератор тонального сигнала может дополнительно содержать средство передачи данных сигнала, предназначенное для передачи данных речевого колебания в качестве данных тонального сигнала на средство генерирования данных сигнала при необходимости генерирования данных сигнала, причем указанное средство генерирования данных сигнала предпочтительно выполнено с возможностью генерирования множества данных тонального сигнала, а указанное средство передачи данных сигнала — с возможностью подачи одних из данных тонального сигнала на средство генерирования данных сигнала. Кроме того, указанное средство генерирования данных сигнала предпочтительно содержит средство памяти, предназначенное для хранения данных импульсно-кодовой модуляции в виде множества данных тонального сигнала и данных сигнала модуляции, и средство для считывания данных импульсно-кодовой модуляции. При этом генератор тонального сигнала может дополнительно содержать кольцевой буфер, предназначенный для хранения выходных данных от указанного средства придания звуковых эффектов, причем средство придания звуковых эффектов предпочтительно выполнено с возможностью придания звуковых эффектов данным тонального сигнала на основе данных, хранящихся в кольцевом буфере.
Кроме того, средство генерирования данных сигнала предпочтительно включает в себя средство генерирования низкочастотного сигнала, предназначенное для генерирования данных низкочастотного сигнала, и средство генерирования огибающей, предназначенное для генерирования данных сигнала огибающей, при этом упомянутые данные сигнала модуляции содержат данные низкочастотного сигнала или данные сигнала огибающей, или указанные данные тонального сигнала модулированы указанным низкочастотным сигналом или данными сигнала огибающей. Генератор тонального сигнала может также содержать средство установки, предназначенное для установки данных тонального сигнала, генерируемых средством для генерирования данных сигнала, на фиксированные данные, или для вывода данных тонального сигнала в неизменном виде, средство модуляции огибающей, предназначенное для генерирования данных сигнала с наложенной огибающей путем модуляции выходных данных средства установки данными огибающей или данными низкочастотного сигнала, причем данные сигнала с наложенной огибающей выдаются на средство придания звуковых эффектов в виде упомянутых данных тонального сигнала или данных сигнала модуляции.
При этом средство генерирования данных сигнала предпочтительно выполнено с возможностью генерирования данных тонального сигнала или данных сигнала модуляции, состоящих из бита знаковых данных и битов амплитудных данных и включает в себя битовый инвертор, предназначенный для инвертирования знакового бита и/или битов амплитудных данных упомянутых данных сигнала, и дополнительно включает в себя средство памяти данных колебаний для хранения данных колебаний в качестве данных сигнала, причем данные колебаний представляют собой данные синусоидального колебания или данные пилообразного колебания. Указанный выше технический результат достигается также тем, что в генератор тонального сигнала, содержащий средство генерирования данных сигнала, предназначенное для генерирования данных тонального сигнала, и средство придания звуковых эффектов, предназначенное для придания звуковых эффектов данным тонального сигнала, генерируемым средством генерирования данных сигнала, в соответствии с изобретением введены средство таблиц коэффициентов, предназначенное для хранения множества данных коэффициентов, и средство определения адресов, предназначенное для определения адресов коэффициентов в средстве таблиц коэффициентов, а средство придания звуковых эффектов выполнено с возможностью придания звуковых эффектов данным тонального сигнала, генерируемым средством генерирования данных сигнала, на основе множества данных коэффициентов, запомненных соответственно множеству адресов коэффициентов, определяемых средством определения адресов.
При этом указанное средство таблиц коэффициентов предпочтительно содержит множество таблиц, в каждой из которых хранится множество данных коэффициентов, а указанное средство определения адресов коэффициентов содержит регистр относительных адресов, выполненный с возможностью хранения относительного адреса каждой таблицы и обеспечения выдачи множества данных коэффициентов на средство придания звуковых эффектов в один и тот же момент времени. Кроме того, генератор тонального сигнала может дополнительно содержать средство перезаписи относительных адресов, предназначенное для последующей перезаписи относительных адресов в регистре относительных адресов. Изобретение поясняется чертежами, на которых показано следующее: фиг. 1 — блок-схема телевизионной игровой приставки, к которой подключается генератор тонального сигнала, выполненный в соответствии с изобретением; фиг. 2 — блок-схема генератора тонального сигнала; фиг. 3 — блок-схема импульсного кодового модулятора для генератора тонального сигнала на фиг.
2; фиг. 4 — блок-схема ЦПС для генератора тонального сигнала на фиг. 2; фиг. 5 — внутренняя конфигурация быстродействующей оперативной памяти (БОП), подключенной к генератору тонального сигнала на фиг. 2; фиг. 6 — пример выполнения инвертора в схеме импульсно-кодового модулятора, входящей в генератор тонального сигнала на фиг. 2; фиг. 7A-7D — примеры модулирующего колебания, хранящегося в быстродействующей оперативной памяти; фиг. 8 — пример огибающей, формируемой схемой импульсно-кодового модулятора; фиг. 9A, 9B — примеры выполнения регистра в ЦПС;фиг. 10 — схема ЦПС для изменения тональности звука;
фиг. 11 — примеры сигнальных данных для изменения тональности;
фиг. 12 — фильтрующее устройство, входящее в состав генератора тонального сигнала на фиг. 2;
фиг. 13 — блок-схема генератора тонального сигнала с внутренним регистром;
фиг. 14 — внутренняя конфигурация быстродействующей оперативной памяти, подключенной к генератору тонального сигнала, имеющему фильтрующее устройство;
фиг.
15 — блок-схема ЦПС, встроенного в генератор тонального сигнала, имеющий фильтрующее устройство;фиг. 16 — блок-схема алгоритма, иллюстрирующая процесс считывания данных генератора огибающей;
фиг. 17 — другой пример выполнения фильтрующего устройства;
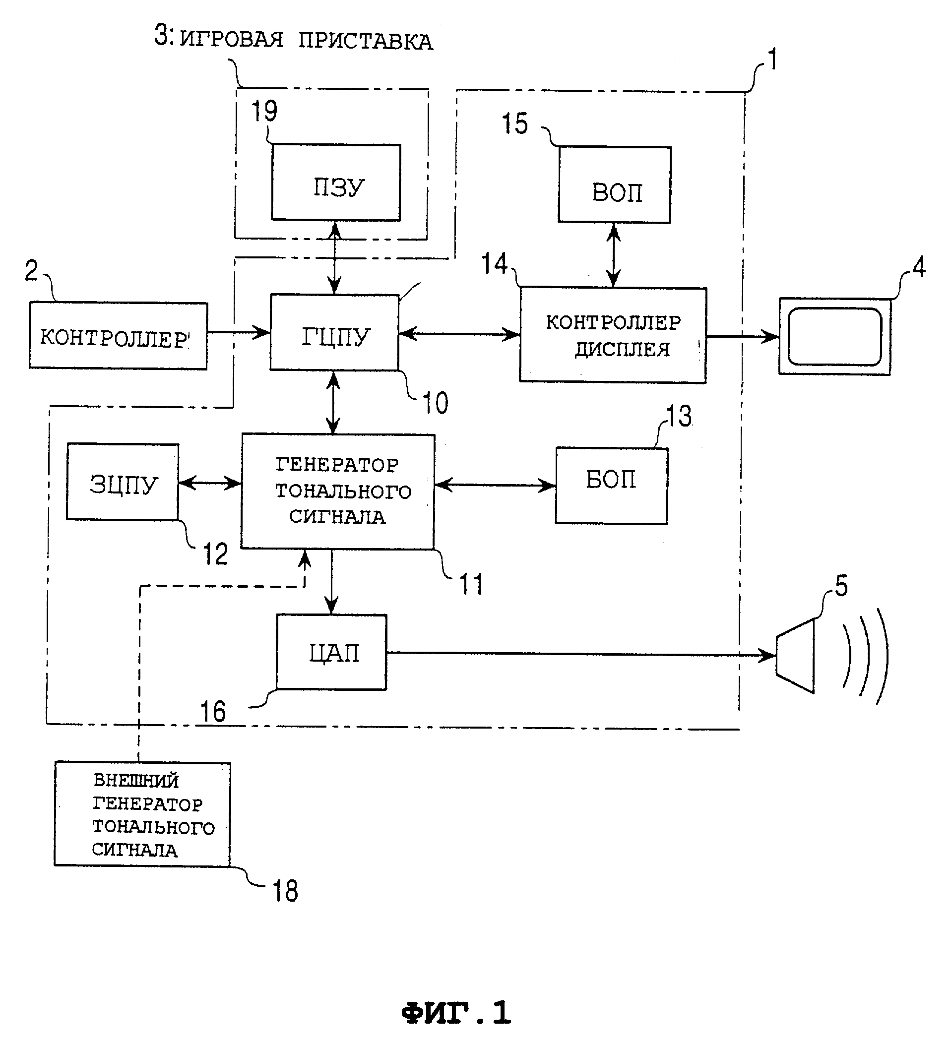
фиг. 18 — фильтрующее устройство, используемое в известных генераторах тонального сигнала. На фиг. 1 показана блок-схема игровой телевизионной приставки, к которой подключается генератор тонального сигнала, представляющий настоящее изобретение. Монитор 4 и громкоговоритель 5 подключаются к игровой приставке 1. В качестве монитора 4 и громкоговорителя 5 могут использоваться применяемые в обычном телевизионном приемнике. К игровой приставке 1 подключен также игровой картридж 3, имеющий ПЗУ 19, в котором записана программа игры, и контроллер 2 для игры. Контроллер 2 подключается к приставке 1 посредством кабеля, и игровой картридж 3 устанавливается в разъем, имеющийся в игровой приставке 1. Игровая приставка 1 снабжена главным ЦПУ (ГЦПУ) 10, которое управляет всей программой в течение игры.
С ГЦПУ 10 связаны контроллер 2, ПЗУ 19, вмонтированное в игровой картридж 3, контроллер 14 монитора для управления монитором 4 и генератор тонального сигнала 11 для генерирования тонального сигнала, например сигналов музыкального тона со звуковыми эффектами и музыкальными тонами в качестве фоновой музыки. Звуковое ЦПУ (ЗЦПУ) 12, БОП 13, в которую записаны программа для ГЦПУ 12 и данные импульсно-кодовой модуляции (ИКМ), а также цифроаналоговый преобразователь 16 для преобразования генерируемых данных музыкального тона в аналоговые музыкальные тональные сигналы, соединены с генератором тональных сигналов 11. Громкоговоритель 5 подключен к цифроаналоговому преобразователю 16. Генератор тонального сигнала 11 снабжен дополнительным входным терминалом, через который могут вводиться цифровые данные тона от внешнего генератора тонального сигнала 18. Видеооперативная память (ВОП) 15, в которой содержится информация, передаваемая на монитор, а также монитор 4 подключены к контроллеру 14 монитора.
Когда включается напряжение питания после того, как картридж 3 подсоединяется к игровой приставке, ГЦПУ 10 считывает требуемые данные для монитора и передает их на контроллер 14 монитора, затем ГЦПУ 10 записывает программы и ИКМ данные в БОП 13 для генерирования данных тонального сигнала фонового музыкального сопровождения (ФМС). После этого программа игры начинает работу по команде, поступающей с контроллера 2. и снова перезаписывает данные монитора и вырабатывает данные тонального сигнала с данными сигнала ФМС и звуковыми эффектами. Процесс управления игровой программой, например перезаписью данных монитора, осуществляется посредством ГЦПУ 10. ГЦПУ 10 вырабатывает команды для ЗЦПУ 12, которое генерирует данные тонального сигнала со звуковыми эффектами и данными ФМС сигнала, и синтезирование окончательно получаемого тонального сигнала производится посредством ЗЦПУ 12 на основе программы и данных ИКМ, записанных в БОП 13. На фиг. 2 показана блок-схема генератора тонального сигнала 11. В генераторе тонального сигнала 11 схема ИКМ 23 вырабатывает данные низкочастотного цифрового сигнала, такие как данные тонального сигнала и данные модулирующего сигнала, при считывании данных ИКМ, записанных в БОП 13 (фиг.
1). Как описано выше, когда в разъем вставляется игровой картридж и включается питание, данные из ПЗУ 19 направляются в БОП 13. Поэтому данные тонального сигнала со звуковыми эффектами и данными сигнала ФМС могут быть различными в каждой игровой программе. ГЦПУ 10 и ЗЦПУ 12 подключаются к БОП через контроллер 21 памяти и интерфейс 20 ЦПУ, а схема ИКМ 23 и ЦПС 24, смонтированные в генераторе тонального сигнала 11, подключаются через контроллер 21 памяти. ГЦПУ 10, ЗЦПУ 12, схема ИКМ 23 и ЦПС 24 имеют раздельный доступ к БОП 13 и посредством разделения времени. Внутренний регистр 22 подключен к интерфейсу 20 ЦПУ. Установочные данные схемы ИКМ 23 и ЦПС 24, а также данные для определения данных установки посредством ГЦПУ 10 и ЗЦПУ 11 временно хранятся во внутреннем регистре 22. На фиг. 5 показана внутренняя конфигурация БОП 13. В БОП 13 также определена область программы ЗЦПУ для ЗЦПУ 12, область данных ИКМ и кольцевого буфера ЦПС. Данные ИКМ включают данные речевых колебаний для генерирования тональных музыкальных сигналов со звуковыми эффектами и тонами ФМС, а данные модулирующего колебания используются в качестве данных для таких звуковых эффектов, как модуляция.
Имеются многочисленные разновидности данных речевых колебаний и данных модулирующих колебаний, хранящиеся в БОП 13. Область кольцевого буфера ЦПС используется для задержки данных тонального сигнала, чтобы воздействовать посредством этого на фильтрацию и модуляцию и т.п. в процессе работы ЦПС 24. В качестве данных речевого колебания обычно используются образцы данных тональных сигналов со звуковыми эффектами музыкальных инструментов. Подобные тональные сигналы поддерживают генерируемый тон в течение длительного времени так, что данные речевого колебания включают начальные адресные данные (НА), а также начальные адресные данные замкнутой петли (НАЗП), и конечные адресные данные петли (НАЗП) для того, чтобы можно было считывать их многократно. Вначале считывается НА, затем НАЗП, КАЗП, считываемые последовательно и многократно. В результате повторяющееся считывание между адресами НАЗП и КАЗП позволяет генерировать тональные сигналы в течение длительного времени. Данные модуляционного колебания обычно имеют простой вид, например данные синусоидального колебания, или волновые данные, показанные на фиг.
7 (фиг. 7A — 7D представляют данные для модулирования сигналов музыкального тона и т.п.)Программа ЗЦПУ, данные речевых колебаний и данные модуляции записываются с помощью ГЦПУ 10, когда игровой картридж 3 присоединяется к игровой приставке. ЗЦПУ 12 выполняет программу, основываясь на командах от ГЦПУ 10. Схема ИКМ 23 считывает данные ИКМ колебания, основываясь на командах от ЗЦПУ 12 и генерирует данные низкочастотного цифрового сигнала. Данные низкочастотного цифрового сигнала используются в качестве данных тонального сигнала или данных звуковых эффектов. Схема ИКМ 23 имеет 32 канала, разделенных по времени, в которых 32 вида данных низкочастотного цифрового сигнала могут генерироваться отдельно друг от друга. Данные тонального сигнала в данных низкочастотного цифрового сигнала, который генерируется схемой ИКМ 23, поступают на вход ЦПС 24 или же передаются прямо на выход выходного смесителя 25. Данные модулирующего сигнала подводятся к ЦПС 24 для передачи коэффициентов звуковых эффектов.
Обычно считываемые данные из области данных речевого колебания используются в качестве данных тонального сигнала, и считываемые данные из области памяти данных модуляционного колебания используются в качестве данных модулирующего сигнала. Однако использование данных сигнала может производиться произвольным образом и при этом может достигаться требуемый звуковой эффект. Например, возможно использовать считываемые данные из области речевого колебания в качестве данных модулирующего сигнала. Более того, ЦПС 24 имеет отдельный внешний терминал, через который могут быть введены другие данные тонального сигнала или другие данные модулирующего сигнала. ЦПС 24 представляет собой схему для создания различных звуковых эффектов, таких как модуляция, фильтрация и изменение тональности, в входящих данных тонального сигнала и для вывода получаемых таким образом данных и передачу их в выходной смеситель 25. Для того, чтобы придать получаемые звуковые эффекты данным тонального сигнала, в ЦПС 24 вводятся данные модулирующего сигнала в виде одного из низкочастотных цифровых сигналов, и ЦПС 24 использует данные модуляционного сигнала в качестве коэффициентов для формирования звуковых эффектов.
Данные тонального звукового сигнала, на которые посредством ЦПС 24 наложены звуковые эффекты, поступают в выходной смеситель 25, который изменяет данные каждого тонального сигнала в 32 каналах, преобразуя их в данные двухканального стереосигнала и выводит сформированные данные на схему цифроаналогового преобразователя 16. На фиг. 3 представлена внутренняя конфигурация схемы ИКМ 23. Схема ИКМ 23 содержит генератор фазы 30, указатель адреса 31, схему интерполяции 32, ограничитель 33, инвертор 34, генератор низкочастотного колебания для амплитудной модуляции (AM) 35, генератор огибающей 36, умножитель 37 и выходной контроллер 38. Обработка сигнала в схеме ИКМ выполняется с разделением по времени для 32 каналов. Данные, определяющие частоту в октаве (0Ч0), которые соответствуют названию тона, и данные октавы (ОКТ) поступают от ЗЦПУ 12 и направляются в генератор фазы 30. Генератор фазы 30 вырабатывает данные фазы, основанные на данных ОЧО и ОКТ для каждого определенного тактового цикла. Данные фазы поступают на вход указателя адреса 31.
Данные начального адреса НА, начального адреса замкнутой петли НАЗП и конечного адреса замкнутой петли КАЗП, которые определяют набор данных ИКМ-сигнала, вводятся в указатель адреса 31 от ЗЦПУ 12. Указатель адреса 31 определяет приращение адресного числа в соответствии с данными фазы, поступающими от генератора фазы 30, и выдает на выходе адресные данные, включая десятичную дробь (ДД). Данные ДД подаются на схему интерполяции 32 и два целочисленных адреса (ЦЧА), между которыми находится ДД, поступают на БОП 13 через контроллер 21 памяти. Данные первого ИКМ-сигнала и данные второго ИКМ-сигнала, следующего по отношению к первому ИКМ-сигналу, считываются из БОП 13 в соответствии с двумя введенными ЦЧА. Данные ИКМ-сигнала, считанные из БОП 13 вводятся в схему интерполяции 32 через контроллер 21 памяти. Схема интерполяции 32 интерполирует два введенных ИКМ-сигнала, с учетом введенных в нее данных ДД от указателя адреса 31, и генерирует данные низкочастотного цифрового сигнала. Схема интерполяции 32 выдает сформированные данные на ограничитель 33.
Ограничитель 33 представляет собой селектор, который изменяет свой выходной сигнал с данных низкочастотного цифрового сигнала, вводимого от схемы интерполяции 32, на сигнал «все 0», переключая свой выходной сигнал в соответствии с управляющим сигналом селекции (УСС), который поступает от ЗЦПУ 12. Если сигнал УСС равен «0», то данные низкочастотного цифрового сигнала, поступающего от схемы интерполяции 32, передаются без изменений на инвертор 34. Если сигнал УСС равен «1», то на выход инвертора 34 поступает значение «0» вместо данных низкочастотного цифрового сигнала. Данные низкочастотного цифрового сигнала состоят из множества информационных битов (например, шестнадцатибитовое число). Инвертор 34 состоит из схем «исключающее ИЛИ», как это показано на фиг. 6. Схема «исключающее ИЛИ» инвертирует поступающий сигнал, когда значение управляющего сигнала от ЗЦПУ (сигнала УЗЦП) равно «1». Сигнал УЗЦП представляет собой двубитовую цифровую последовательность, которая поступает от ЗЦПУ 12. Данные низкочастотного цифрового сигнала и сигнал УЗЦП поступают на два входа схем «исключающее ИЛИ».
Та из них, на которую поступает знаковый бит (старший бит) данных низкочастотного цифрового сигнала и старший бит сигнала УЗЦП, используется в качестве знакового инвертора. Другие схемы «исключающее ИЛИ», на которые поступают биты амплитудных данных и младший бит сигнала УЗЦП используются как инверторы битов амплитуды. Поэтому, если два бита сигнала УЗЦП представляют собой «0» и «0», то введенные данные низкочастотного цифрового сигнала передаются на выход без изменения. Если сигнал УЗЦП состоит из «1» и «0», инвертируется только знак поступающих данных низкочастотного цифрового сигнала. Если два бита сигнала УЗЦП состоят из «0» и «1», цифровая часть (часть амплитуды сигнала) данных низкочастотного цифрового сигнала инвертируется, и если данные состоят из «1» и «1», все поступающие данные цифрового низкочастотного цифрового сигнала инвертируются. Поэтому, если УСС установлен в «1», на выход ограничителя 33 передается сигнал «6 и 0», поступающий на инвертор 34. В этом состоянии, если сигнал УЗЦП установлен в «0» и «1», то сигнал «все 0» инвертируется инвертором 34, формируя данные вида «01111.
..1″ (МАКС). Эти данные используются как перемножаемые данные в перемножителе 37, входящего в последний каскад схемы ИКМ 23, обеспечивающего выдачу на выход данных колебания огибающей или данные модулирующего сигнала без изменений. Данные низкочастотного цифрового сигнала с выхода инвертора 34 поступают на перемножитель 37. Генератор низкочастотного колебания для амплитудной модуляции 35 и генератор огибающей 36 соединены с перемножителем 37. Если на перемножитель 37 поступают нормальные данные сигнала музыкального тона в качестве данных низкочастотного цифрового сигнала, то перемножитель 37 обеспечивает амплитудную модуляцию колебания огибающей. Если программист желает использовать непосредственно данные низкочастотного сигнала, генерируемые генератором Н.Ч колебания для AM 35 или сигнал огибающей, генерируемый генератором 36 огибающей, на ЦПС 24, в качестве данных модулирующего сигнала, данные низкочастотного цифрового сигнала фиксируются на определенном значении сигнала постоянного тока, который поступает на перемножитель 37.
В результате поступающие данные от генераторов 35 и 36 могут выводиться непосредственно из перемножителя 37. Поэтому, если программист желает непосредственно выводить данные колебания, поступающего от генератора 35 или 36 с выхода перемножителя 37, сигнал УСС необходимо установить, например, на «1», а сигнал УЗЦП — на «0» и «1». Это приводит к тому, что на выходной сигнал ограничителя 33 фиксируется на значении «0,0. . . 0», а выходной сигнал инвертора 34 фиксируется на максимальном значении данных «0,1…1». Эти фиксированные данные умножаются на выходные данные генератора 35 или выходные данные генератора 36, и поэтому выходные данные генераторов 35 или 36 непосредственно выводятся из перемножителя 37. В перемножителе осуществляется следующая обработка. Если данные сигнала музыкального тона вводятся в перемножитель 37 в качестве данных низкочастотного цифрового сигнала и данные сигнала низкочастотной волны вводятся от генератора 35 на перемножитель 37, то вводимые данные музыкального тонального сигнала модулируются данными низкочастотного колебания.
Если данные музыкального тонального сигнала поступают на перемножитель 37, в качестве данных низкочастотного цифрового сигнала, и данные огибающей поступают от генератора 36 на схему 37, то поступающие данные музыкального тонального сигнала перемножаются на данные огибающей и таким образом производится изменение тонального значения в соответствии с данными огибающей. Если данные низкочастотного сигнала или данные огибающей волны используются непосредственно для модуляции в ЦПС 24, то данные низкочастотного цифрового сигнала зафиксированы на определенном значении в ограничителе 33 и данные низкочастотного сигнала или данные огибающей выводятся непосредственно из перемножителя 37. Если данные низкочастотного цифрового сигнала используются в качестве модулирующих данных для формирования данных тонального сигнала со звуковыми эффектами, то генераторы 35 и 36 устанавливаются в состояние «выключено» для выдачи модулирующих данных непосредственно с перемножителя 37. Генераторы 35 и 36 построены по известным схемам.
Генератор 35 генерирует синусоидальное колебание или низкочастотное колебание, как показано на фиг. 7A-7D, например в соответствии с данными частоты (ДЧ), данными, определяющими параметры колебания (ДПК), и данными амплитуды (ДА), выдаваемыми ЗЦПУ 12. Генератор огибающей 36 генерирует колебание огибающей, как показано на фиг. 8, в соответствии с данными скорости нарастания (СН), первого спада (СП1), второго спада (СП2) и скорости затухания (СЗ), поступающими от ЗЦПУ 12. Данные ИКМ-сигнала могут включать данные колебания, в котором огибающее колебание предусмотрено только для нарастающей части, от НА до НАЗП. При считывании такого ИКМ сигнала данные максимального значения выдаются на выход генератора огибающей 36 во время считывания данных нарастающей части (см. ломаную кривую на фиг. 8). Выходные данные с перемножителя 37 выдаются на ЦПС 24 или выходной смеситель 25 через выходной контроллер 38. Данные низкочастотного сигнала с генератора 35, или данные модулирующего сигнала, считываемые с БОП 13, могут быть введены в генератор фазы 30 для сдвига фазы для считывания адреса.
Фазовые данные обрабатываются таким образом, чтобы обеспечить частотную модуляцию данных цифрового низкочастотного сигнала. На фиг. 4 показана блок-схема ЦПС 24, который встроен в генератор тональных сигналов 11. В ЦПС 24 данные низкочастотного сигнала для 16 каналов, получаемые от схемы ИКМ 23, могут обрабатываться одновременно, кроме того, данные цифрового низкочастотного сигнала для 2 каналов, получаемые извне, также могут обрабатываться одновременно. ЦПС 24 обрабатывает введенные данные путем задержки или фильтрации, если данные представляют собой данные тональных сигналов, и выдает обработанные таким образом данные в выходную смешивающую схему 25. Кроме того, ЦПС 24 может обрабатывать данные цифрового низкочастотного сигнала как модулирующие данные, например данные коэффициентов для наложения звуковых эффектов на данные какого-либо тонального сигнала. В данном варианте схема ИКМ 23 имеет 32 канала, в то время как ЦПС 24 имеет 16 каналов. Данная разница в количестве каналов может быть устранена тем, что часть выходов ЦПС 24 выводится непосредственно в выходной смеситель 25.
ЦПС 24 имеет регистр 41 на 16 слов для хранения вводимых данных цифрового низкочастотного сигнала со схемы ИКМ 23. ЦПС 24 также имеет регистр 42 на 2 слова для хранения вводимых данных цифрового низкочастотного сигнала от внешнего тонального генератора 18. ЦПС 24 кроме того имеет регистр 43 на 32 слова для временного хранения данных, которые считываются из кольцевого буфера, входящего в БОП 13 для повторной обработки при помощи ЦПС 24. Эти регистры 41, 42, 43 соединены с регистром 45 и селектором 48. Регистр 45 — это схема для временного хранения данных коэффициентов (модулирующих данных) для подачи их в перемножитель 49 синхронно с данными тональных сигналов, которые должны модулироваться. Селектор 48 — это схема селекции данных тональных сигналов, которые должны подаваться на перемножитель 49. Комбинация входных данных в регистр 45 и селектор 48 обеспечивает обработку в ЦПС 24 для создания данных тональных сигналов с различными звуковыми эффектами. На фиг. 9A и 9B показаны примеры комбинации входных данных в регистре 45 и селекторе.
48. Фиг. 9A иллюстрирует случай, когда данные двух цифровых низкочастотных сигналов, поданных из схемы ИКМ 23, хранятся в регистре 41, и одни данные используются в качестве данных тональных сигналов, которые должны модулироваться, а другие данные — в качестве модулирующих данные для модуляции данных тональных сигналов. Фиг. 9B иллюстрирует случай, когда данные одного цифрового низкочастотного сигнала, полученные от схемы ИКМ 23, хранятся в регистре 41, а другие данные цифрового низкочастотного сигнала, полученные от внешнего генератора тональных сигналов 18, хранятся в регистре 42. В этом случае первые данные, хранящиеся в регистре 42, используются как данные тонального сигнала, которые должны быть модулированы, а вторые данные, хранящиеся в регистре 41, используются как модулирующие данные для модуляции первых данных. ЦПС 24 осуществляет повторную обработку 256 этапов программы, хранящейся в памяти 40 микропрограммы. Программа определяет любой необходимый регистр из регистров 43,42,41, которые выдают данные в регистр 45 или селектор 48.
Адресный генератор 44 генерирует адресные данные для доступа к кольцевому буферу в БОП 13 и выдает их в контроллер памяти 21. Контроллер памяти 21 получает доступ в БОП 13 по адресным данным для записи/считывания данных, задерживаемых в кольцевом буфере. Перемножитель 49, как описано выше, умножает данные тонального сигнала на данные коэффициентов для придания данным тонального сигнала различных звуковых эффектов. Данные тонального сигнала, которые нужно модулировать, выбираются из данных регистров 41, 42, 43, 53. Регистр 53 — это регистр для временного хранения данных, уже обработанных ЦПС 24, результатом чего является короткая задержка. Временно заполненные данные поступают для повторной обработки в селектор 48 или другой селектор 54 через цепь обратной связи. Управление селекторами и любыми другими регистрами осуществляет программа. Данные коэффициентов, которые необходимо ввести в перемножитель 49, выбираются селектором 47. Регистр 45 и регистр коэффициентов 46, в котором хранятся некоторые фиксированные данные коэффициентов, соединены в селектор 47, и фиксированные данные «000 .
.. 1″ (например, «1» в десятичной системе счисления подаются в селектор 47). Селектор 47 выбирает из них одни данные, которые должны использоваться в качестве данных коэффициентов, и выдает их в перемножитель 49. Если выбран регистр 45, цифровые данные низкочастотного сигнала, поступившие из схемы ИКМ 23, могут быть наложены в качестве модуляционных данных для достижения звуковых эффектов, на данные тональных сигналов, поступающие от селектора 48. Если выбран регистр коэффициентов 46 вместо регистра 45, модуляция данных тонального сигнала осуществляется с использованием фиксированных данных коэффициентов, хранящихся в регистре коэффициентов 46. Если вместо этих регистров используются фиксированные данные «000…1», поступившие данные тонального сигнала выдаются в следующую схему (сумматор 50) в неизменном виде. Данные тонального сигнала, поступившие от перемножителя 49, подаются в сумматор 50. Сумматор 50 добавляет определенные данные коэффициентов к данным тонального сигнала, и просуммированные данные выводятся из ЦПС 24 через схему задержки 51 на один такт и схему сдвига 52.
Определенные данные коэффициентов, используемые, для суммирования, выбираются селектором 54 из выходных данных от схемы задержки 51 на один такт, выходных данных регистра 53 и фиксированных данных «все 0». Схема задержки 51 — это схема для задержки суммарных данных на один такт, а схема сдвига 52 предназначена для сдвига этих задержанных данных на определенное число цифр, которое устанавливается извне. Регистр 53 задерживает на определенный момент выходные данные схемы сдвига 52 путем временного хранения данных. Что касается задержки данных, то задержка кольцевого буфера (от 10 до миллисекунд до 1 сек) в БОП 13 превышает задержку в регистре 53 временного хранения. В ЦПС 24 различные звуковые эффекты могут накладываться на данные тонального сигнала посредством задержки в кольцевом буфере, схемы задержки 51 на 1 бит и регистре 53, посредством операции умножения в перемножителе 49 и путей суммирования в сумматоре 50. Кроме того, имеется дополнительная возможность выбора входных данных в качестве данных тонального сигнала для перемножителя 49 из данных цифрового низкочастотного сигнала, данных цифрового сигнала от внешнего генератора тонального сигнала 18 и задержанных цифровых сигнальных данных, поступающих от кольцевого буфера в БОП 13.
Также для использования в перемножителе можно произвольно отбирать данные коэффициентов из данных цифрового низкочастотного сигнала, данных цифрового сигнала от внешнего генератора тонального сигнала 18, задержанных цифровых сигнальных данных, поступающих от БОП 13 и фиксированных данных коэффициентов, поступающих от регистра коэффициентов 46. Такая конфигурация ЦПС 24 позволяет получить звуковые эффекты в более широком диапазоне, характеризуемые большей глубиной и многообразием. При осуществлении данного изобретения могут быть сформированы различные виды сигнальных данных для фильтрации или модуляции данных цифрового низкочастотного сигнала. На фиг. 10 показана схема цифрового процессора сигнала 24, обеспечивающая изменение высоты тона, что является примером модуляции вводимых данных цифрового низкочастотного сигнала. На фиг. 11 показаны примеры модуляции данных сигнала для изменения высоты тона. На фиг. 10 сдвиговый регистр 60 для упрощения совмещен с кольцевым буфером. Данные тонального сигнала, такие, как данные цифрового низкочастотного сигнала, поступают в сдвиговый регистр 60 с одной его стороны.
Введенные данные тонального сигнала, которые получают сдвиг в сдвиговом регистре 60, считываются с двух его отводов t1 и t2. К отводу t1 подключена схема умножения 61 на коэффициент W1. Коэффициент W1 умножается на считанные данные тонального сигнала Q1; а к отводу t2 подключена другая схема умножения 62 на коэффициент W2, и выходные данные со схем умножения 61 и 62 суммируются в суммирующем устройстве 68 для последующего вывода суммарных данных. Если в описанном выше устройстве каждый из считываемых с отводов t1 и t2 адресов последовательно сдвигается назад, частота данных считываемого тонального сигнала становится ниже, а если каждый из считываемых с отводов t1 и t2 адресов последовательно сдвигается вперед, частота считываемого тонального сигнала становится выше. Однако число каскадов в сдвиговом регистре 60 (например, кольцевом буфере) ограничено, поэтому сдвиг вперед и назад ограничен.
Для решения этой проблемы, когда считываемый адрес достигает конечного адреса, считываемый адрес перескакивает на противоположный конец, что означает, что адрес превращается в начальный адрес. Адрес получает приращение в виде пилообразного колебания от B-1 до B-4, показанного на фиг. 11. Первый пилообразный импульс B-1 используется для сдвига считываемого с отвода t1 адреса назад, и когда считываемый адрес достигает конечного адреса, считываемый адрес меняется на начальный адрес. Второй пилообразный импульс B-2 используется для сдвига считываемого с отвода t2 адреса назад, и когда считываемый адрес достигает конечного адреса, считываемый адрес меняется на начальный адрес. Для пилообразных импульсов существует определенная проблема. А именно, когда считываемый адрес перескакивает с конечного адреса на начальный адрес, выходной (считываемый) тональный сигнал прерывается, при этом формируются шумы. Поэтому, в этом примере выполнения изобретения амплитуда тонального сигнала, считываемого с отвода t1, умножается в качестве коэффициента на треугольное колебание, показанное как A-1 на фиг. 11. В результате, когда адрес перескакивает, уровень данных выходного (считываемого) тонального сигнала становится нулевым, при этом шум не генерируется. Также амплитуда данных тонального сигнала, считываемого с отвода t2, умножается на другое треугольное колебание, в качестве коэффициента, показанное как A-3 на фиг. 11. Между пилообразными импульсами B-1 и B-2 и между треугольными импульсами A-1 и A-3 имеется разность фаз 180o, так что когда считываемый адрес с одного отвода перескакивает на начальный адрес, выходные данные тонального сигнала становятся нулевыми, а выходные данные тонального сигнала на другом отводе имеют максимальный уровень и поэтому данные тонального сигнала, выходящие из суммирующего устройства 63, сохраняют постоянный уровень. Описанное выше относится к случаю, когда частота данных выходного тонального сигнала последовательно понижается. И наоборот, когда частота данных выходного тонального сигнала последовательно повышается, адреса, считываемые с отводов t1 и t2, последовательно изменяются с использованием пилообразных импульсов B-3 и B-4. В случае, когда используется сдвиговый регистр 60, направление сдвига данных для отводов соответствует повышению и понижению высоты данных тонального сигнала. В случае, когда вместо сдвигового регистра используется кольцевой буфер, разница между переменными скоростями адреса записи и адреса считывания соответствует повышению и понижению высоты данных тонального сигнала. Если цифровой процессор сигнала 24 выполнен, как показано на фиг. 10, то для осуществления изменения высоты данных тонального сигнала, треугольные импульсы A-1 — A-4 и пилообразные импульсы B-1 — B-4, показанные на фиг. 11, поступают в качестве данных модулирующего сигнала от схемы ИКМ 23. Для генерирования данных модулирующего сигнала в БОП 13 хранится только один набор треугольного и пилообразного колебаний, а знаковая часть и/или амплитудная часть данных тонального сигнала могут быть инвертированы инвертором 34, следовательно, могут быть сформированы все виды треугольных и пилообразных импульсов. В ЦПС пилообразное колебание поступает в адресный генератор 44 БОП в определенный момент времени, а треугольное колебание поступает в определенный момент времени в перемножитель 49. Как было отмечено выше, данные тонального сигнала, такие, как пилообразное колебание и треугольное колебание, входящие в данные ИКМ, инвертируются инвертором 34, и, таким образом, генерируются различные виды данных сигнала. В результате, емкость БОП уменьшается. Инвертирование с помощью инвертора 34 применимо как к данным тонального сигнала, так и к данным модулирующего сигнала. Для получения более широкого диапазона звуковых эффектов для данных цифрового низкочастотного сигнала путем динамической селекции или фильтрации группы коэффициентов из заранее заполненных групп коэффициентов предусмотрено устройство для фильтрации, показанное на фиг. 12. Различие между известным устройством, показанным на фиг. 18, и данным устройством состоит в том, что, как показано на фиг. 12, здесь есть множество таблиц коэффициентов TA, TB,…TC и регистр относительных адресов (РОА) для выбора используемых коэффициентов. ЦПУ 70 использует РОА для выбора коэффициентов в каждой таблице. Коэффициент в каждой таблице выбирается с использованием адреса в РОА и, затем, все коэффициенты, хранящиеся в каждой таблице, подаются в ЦПС 71 в одно и тоже время. Каждая таблица коэффициентов связана со входным терминалом ЦПС 71. Поэтому, когда данные одного адреса выбраны и введены в РОА при помощи ЦПУ 70, фильтровые коэффициенты в каждой таблице коэффициентов подаются в ЦПС 71 в одно и то же время. Адресные данные в РОА могут быть изменены при помощи ЦПУ 70. То есть, если режим фильтрации и входного сигнала изменен, то данные РОА изменяются при помощи ЦПУ 70, при этом группа коэффициентов, передаваемая ЦПС 71, немедленно изменяется, так что при этом не возникает никаких конфликтных ситуаций. На фиг. 12 для примера показано, что когда данные РОА установлены посредством ЦПУ 70 на «0», коэффициенты, соответствующие нулевому состоянию РОА в таблицах, подаются в ЦПС 71. ЦПС 71 осуществляет процесс фильтрации, например умножение и суммирование входных данных тонального сигнала и коэффициентов. Если данные РОА изменены посредством ЦПУ 70 на «1», то ЦПС 71 немедленно изменяет группу коэффициентов для фильтрации с группы, соответствующей РОА = «0», на другую группу, соответствующую РОА = «1». Вышеописанный процесс может применятся для фильтрации данных сформированных генератором огибающей. То есть, ЦПУ 70 отслеживает данные, вырабатываемые генератором 72, и заменяет данные РОА в соответствии с уровнем отслеживаемых данных генератора огибающей. В этом случае вместо ЦПУ 70 для замены уровня сигнала генератора огибающей на данные РОА может использоваться независимая схема. В примере, показанном на фиг. 13, вышеупомянутая таблица коэффициентов может быть встроена во внутренний регистр 22 генератора тональных сигналов 11. Регистр 22 соответствует регистру относительного адреса РОА, показанному на фиг. 12, и выдает относительные адреса каждой таблицы фильтровых коэффициентов, которая выдает коэффициенты в ЦПС 24. Как показано на фиг. 14, таблицы фильтровых коэффициентов сформированы в БОП 13 для каждой таблицы, и относительный адрес в каждой таблице может определятся регистром во внутреннем регистре 22. Определение относительного адреса осуществляется посредством ЗЦПУ 12, которое направляет относительный адрес в регистр внутреннего регистра 22 генератора тональных сигналов 11. Установленные данные в этом регистре могут быть заменены при помощи ЗЦПУ в соответствии с выходными данными генератора огибающей 36. Для осуществления динамической фильтрации при помощи ЦПС, фильтровые коэффициенты подаются от таблиц фильтровых коэффициентов в БОП 13 через регистр 45 в ЦПС 24. Поэтому фильтровые коэффициенты, хранящиеся в таблицах фильтровых коэффициентов в БОП 13, подаются в перемножитель 49 по линии передачи ЛП, показанной на фиг. 15, и затем в ЗЦПУ 12 осуществляется определение фильтровых коэффициентов и запись относительного адреса в регистр внутреннего регистра 22. Помещение относительного адреса в этот регистр позволяет контролеру памяти 21 считывать фильтровые коэффициенты, каждый из которых соответствует адресу регистра и, таким образом, эти считанные фильтровые коэффициенты немедленно подаются в перемножитель 49 в ЦПС 24. Если фильтровые коэффициенты необходимо изменить, то адресные данные регистра во внутреннем регистре 22 изменяются на новые адресные данные, которые соответствуют фильтровым коэффициентам. После этого измененные фильтровые коэффициенты немедленно используются. Как описано выше, немедленное изменение фильтровых коэффициентов возможно путем изменения установленных данных регистра. В результате, немедленное изменение фильтровых коэффициентов обеспечивает возможность динамической фильтрации, исключая при этом возникновение конфликтных ситуаций. Выходные данные генератора огибающей 36 могут использоваться для динамической фильтрации. Для этого ЗЦПУ 12 отслеживает выходные данные генератора огибающей 36 и изменяет адрес, установленный в регистре, согласно уровню данных генератора огибающей. На фиг. 16 показан алгоритм действия ЗЦПУ 12 для фильтрации данных генератора огибающей. Когда прерыванием таймера или тому подобным средством наступает момент считывания данных генератора огибающей, то выходные данные, например данные генератора 36 считываются, и оценивается, какой позиции (скорости изменения) на фиг. 8 соответствуют считываемые выходные данные. Оценка такой позиции может осуществляться по разнице уровней данных генератора огибающей, считанных ранее, и данных, считанных в настоящий момент. После осуществления оценки адрес соответствующей позиции, например относительный адрес, по которому запоминаются фильтровые коэффициенты для фильтрации тонального сигнала помещается в регистр. Можно сформировать отдельную схему вместо вышеописанного процесса ЦПУ, например таблицу для преобразования данных уровня генератора огибающей в данные относительного адреса, помещаемые в регистр. На фиг. 17 показан другой пример устройства фильтрации. В этом устройстве таблицы фильтровых коэффициентов формируются во внутренней памяти в ЦПС 24.
Формула изобретения
РИСУНКИ
Рисунок 1, Рисунок 2, Рисунок 3, Рисунок 4, Рисунок 5, Рисунок 6, Рисунок 7, Рисунок 8, Рисунок 9, Рисунок 10, Рисунок 11, Рисунок 12, Рисунок 13, Рисунок 14, Рисунок 15, Рисунок 16, Рисунок 17, Рисунок 18Генераторы прерывистого тонального сигнала (LM555)
Выполнить генератор прерывистого тонального сигнала можно по схеме на рис. 5.3. Он позволяет управлять началом работы схемы подачей питающего напряжения на вход DA1/4. Но в тех случаях, когда для работы устройства необходимо использовать два таймера, удобнее взять микросхему, уже имеющую их в одном корпусе (см. табл. 4.2).
Рис. 5.3. Выполненный на двух таймерах генератор прерывистого сигнала
Варианты генераторов, выполненных на сдвоенном таймере, показаны на рис. 5.4 и 5.5. Включение таймера в режиме генератора симметричных импульсов (рис. 5.4, б) позволяет сократить число необходимых элементов. Эти схемы являются универсальными — имеется возможность регулировать частоту звука и интервал повторения в широком диапазоне.
На рис. 5.5 приведена схема генератора, вырабатывающего сигнал для работы звонка тёлефонного вызова с интервалами в 10 с. Для этого использован низкочастотный повышающий напряжение трансформаторе 12 до 70…100 В.
Самый простой формирователь прерывистого звукового сигнала можно выполнить и на одиночном таймере, если воспользоваться любым мигающим светодиодом. Например, светодиоды L-36B, L-56B, L-456B и некоторые другие уже имеют внутри прерыватель (они выпускаются с разным цветом свечения).
Рис. 5.4. Схемы генераторов прерывистого тонального сигнала: а — вариант 1,6 — вариант 2
Включать светодиод надо так, как это показано на рис. 5.6. В этом случае частота чередования пачек полностью зависит от параметров примененного светодиода. Обычно их период мигания находится в Интервале 0,5…1 с. Для устройств сигнализации этого вполне достаточно. Частота заполнения пачек (звуковым сигналом) зависит от номиналов элементов C1-R1.
Рис. 5.5. Схема генератора прерывистого сигнала для работы телефонного звонка
Рис. 5.6. Формирователь прерывистых пачек импульсов
Рис. 5.7. Формирователь прерывистых импульсов без использования мязадающего конденсатора
Рис. 5.10. Схема генератора НЧ сигнала с уменьшающейся частотой
Литература: Радиолюбителям: полезные схемы, Книга 5. Шелестов И.П.
Микросхема генератор тональных dtmf сигналов. Изучение приемника и передатчика dtmf сигналов. Формирование сигнала dtmf
Тему несложных устройств, решил собрать генератор DTMF сигнала на все той же ATtiny2313. Кто не знает, DTMF (англ.Dual-Tone Multi-Frequency) – это двухтональный многочастотный аналоговый сигнал, используемый для набора телефонного номера. Читать Википедию .
Решение собрать такое устройство продиктовано желанием попробовать реализовать сложные аналоговые сигналы при помощи микроконтроллера. Никакого практического применения для данного устройства не планировалось, но может кому пригодится такое устройство? Пользуйтесь!
Исходник DTMF генератора
Теперь посмотрим, что у нас получилось.
Сигнал формируется при помощи ШИМ и для того чтобы придать ему нужную форму применяется RC-цепочка. В итоге, после RC-цепочки, получаем вот такой сигнал (нажата кнопка 6):
По всей кривой полезного сигнала мы наблюдаем гребенку высокой частоты (частота выше слышимой, так что шума она не будет создавать) – это работа RC-цепочки. Можно линию сделать более плавной, увеличив емкость конденсатора или сопротивление резистора, но в этом случае значительно уменьшиться размах полезного сигнала.
Смотрим спектр сигнала и убеждаемся в наличии двух отдельных частот (частота ШИМ ушла за пределы области отображения), значит все нормально – устройство работает как нужно.
Готовые решения
Для задач генерирования и декодирования DTMF-сигнала существуют готовые решения. Вот пару даташитов на эти микросхемы.
DTMF генератор
— DTMF декодер
P.S. Жалко нет в ATtiny2313 АЦП — можно было еще и декодер DTMF забабахать! Но ничего, буду повторять на меге обязательно приделаю.
(Visited 6 868 times, 1 visits today)
Изобретение относится к области генерации цифровыми методами двухтональных частотных (DTMF) сигналов, предназначенных для передачи данных, например, в области телефонии. Достигаемый технический результат — уменьшение количества избыточных схемных элементов, повышение экономической эффективности. Генератор DTMF сигналов, реализующий Способ генерации DTMF сигналов, содержит два накопительных сумматора, два фиксирующих регистра, два запоминающих устройства, итоговый сумматор, цифроаналоговый преобразователь, преобразователь кодов DTMF сигналов в последовательности целых чисел, делитель задающей частоты генератора DTMF сигналов с регулируемым коэффициентом деления, преобразователь кодов DTMF сигналов в код коэффициента деления. 2 с. и 3 з.п. ф-лы, 2 ил.
Изобретение относится к способам генерации цифровыми методами DTMF (двухтональных частотных) сигналов, предназначенным для передачи данных, например, в области телефонии при тонально-частотном наборе номера.Наиболее близким по технической сущности и достигаемому результату к заявляемому способу является способ генерации DTMF сигналов, представленный в патенте США № 5034977 от 04.04.89 г., опубл. 23.07.91 г., М.кл. 5 Н 04 М 1/00.Известный способ генерации DTMF сигналов включает выбор первого и второго кодов углов дискретизации, соответствующих первой и второй частоте составляющих DTMF сигнала, накопительное суммирование отдельно первого и второго кодов углов дискретизации с соответственно периодически фиксирующимися, с периодом, соответствующим тактовой частоте дискретизации, первым и вторым результатами накопительного суммирования, получение первого и второго дискретных значений составляющих DTMF сигнала, хранящихся в адресно расположенных ячейках соответствующих таблиц дискретных значений составляющих DTMF сигнала, путем считывания из соответствующих таблиц по адресам, соответствующим результатам накопительного суммирования кодов углов дискретизации, суммирование первого и второго дискретных значений составляющих DTMF сигнала для получения третьего дискретного значения, соответствующего значению DTMF сигнала.Известный способ генерации DTMF сигналов состоит в следующем: в зависимости от кода DTMF сигнала посредством первого преобразования кодов DTMF сигналов выбирается первый код, определяющий угол дискретизации сигнала с частотой, соответствующей группе верхних частот — столбцов, а посредством второго преобразования кодов DTMF сигналов выбирается второй код, определяющий угол дискретизации сигнала с частотой, соответствующей группе нижних частот — строк, периодически, с периодом, соответствующим тактовой частоте дискретизации, первый код угла дискретизации суммируется в соответствующем накопительном сумматоре и фиксируется в соответствующем регистре, на выходе которого находится результат, значение которого соответствует адресу ячейки таблицы, хранящейся в соответствующем постоянном запоминающем устройстве и в которой находятся соответствующие дискретные значения синусов, определяющих верхнюю частоту DTMF сигнала таким же образом, периодически, с периодом, соответствующим тактовой частоте дискретизации, второй код угла дискретизации суммируется в соответствующем накопительном сумматоре и фиксируется в соответствующем регистре, на выходе которого находится результат, значение которого соответствует адресу ячейки таблицы, хранящейся в соответствующем постоянном запоминающем устройстве и в которой находятся соответствующие дискретные значения синусов, определяющих нижнюю частоту DTMF сигнала, дискретные значения синусов, определяющих верхнюю и нижнюю частоты DTMF сигнала, суммируются в итоговом сумматоре, определяя дискретное значение сигнала DTMF и через цифроаналоговое преобразование подаются на выход, формируя ступенчато-синусоидальный DTMF сигнал, соответствующий входному коду DTMF сигнала.Известный способ является низкоэффективным, что обусловлено его низкими технико-экономическими показателями и технологическими показателями.Технико-экономические показатели определяются необходимыми затратами при реализации способа для достижения необходимых параметров, предъявляемых к DTMF сигналам. В известном способе точность генерации частот зависит от разрядности кода, соответствующего углу дискретизации, что требует наличия большой разрядности накопительного сумматора, что затрудняет реализацию способа простыми аппаратными средствами. А именно, код угла дискретизации в известном способе определяется выражениемK=(F/F т)32…, (1.1)где К — код, соответствующий углу дискретизации;F — генерируемая частота;F т — частота дискретизации.Как видно, точность генерируемой частоты однозначно зависит от отношения генерируемой и частоты дискретизации.Для достижения необходимой точности генерируемой частоты, а именно, не хуже 1,5%, очевидно, требуется не менее двух значащих цифр после запятой, что требует представления данных с разрядностью для нижних частот не менее 8 бит, а для верхних частот не менее 9 бит, а для накопительного суммирования соответственно не менее 12 бит, что ведет к увеличению числа комплектующих элементов устройств, реализующих известный способ. Известные устройства для реализации известного способа, а именно сумматоры, регистры, постоянные запоминающие устройства имеют входы/выходы с разрядностью 4 и 8 бит. Поэтому при большей разрядности требуются дополнительные технико-экономические затраты при реализации равнофункциональных устройств. При этом в известном способе уменьшение количества разрядов после запятой приводит к погрешности частоты, превышающей допустимую.Технологические показатели определяются универсальностью и унификацией при реализации способа, например, современный уровень техники, предполагающий уменьшения материалоемкости, комплектующих элементов и увеличения многофункциональности устройств, требует использования микроконтроллеров. Широкораспространенные микроконтороллеры, применяемые в телефонии и телеметрических измерениях, используют 8-битовые данные и 8-битовое арифметико-логическое устройство, что требует при реализации известного способа дополнительных вычислительных операций, связанных с суммированием данных, с разрядностью более 8 бит, и анализом сигнала переноса, что увеличивает число команд и, соответственно, тактовую частоту микроконтроллера, а также объем оперативной памяти микроконтроллера, что ведет к удорожанию устройств, использующих известный способ для генерации сигналов DTMF. Данное заключение приведено при анализе применения известного способа в тональном номеронабирателе на базе микроконтроллеров производства фирм Atmel, Microchip tnс и др.Таким образом, известный способ принципиально низкоэффективен, что обусловлено низкими технико-экономическими показателями, выраженными в увеличенной материалоемкости, энергопотребления, и низкими технологическими показателями, так как имеет ограничения при использовании способа, в том числе в составе микроконтроллеров широкого применения, что выражается в повышенных технических характеристиках, предъявляемых к микроконтроллерам, что снижает их многофункциональность.Наиболее близким по технической сущности и достигаемому результату к заявляемому генератору DTMF сигналов является генератор DTMF сигналов, представленный в патенте США № 5034977 от 04.04.89 г., опубл. 23.07.91 г., М.кл. 5 Н 04 М 1/00.Известный генератор DTMF сигналов включает: первый накопительный сумматор, первый фиксирующий регистр, первое запоминающее устройство, второй накопительный сумматор, второй фиксирующий регистр, второе запоминающее устройство, итоговый сумматор, цифроаналоговый преобразователь, причем выход первого накопительного сумматора соединен со входом первого фиксирующего регистра, выход первого фиксирующего регистра соединен со входом первого запоминающего устройства, а также с одним из входов первого накопительного сумматора, выход первого запоминающего устройства соединен с одним из входов итогового сумматора, выход второго накопительного сумматора соединен со входом второго фиксирующего регистра, выход второго фиксирующего регистра соединен со входом второго запоминающего устройства, а также с одним из входов второго накопительного сумматора, выход второго запоминающего устройства соединен с другим входом итогового сумматора, выход итогового сумматора соединен со входом цифроаналогового преобразователя, выход которого является выходом генератора DTMF сигналов.Известный генератор содержит также первый преобразователь кодов DTMF сигналов в соответствующие коды углов дискретизации, соответствующие верхним частотам DTMF сигнала, второй преобразователь кодов DTMF сигналов в соответствующие коды углов дискретизации, соответствующие нижним частотам DTMF сигнала, причем выход первого преобразователя кодов DTMF сигналов соединен с другим входом первого накопительного сумматора, выход второго преобразователя кодов DTMF сигналов соединен с другим входом второго накопительного сумматора, входы первого и второго преобразователей кодов DTMF сигналов являются входами генератора DTMF сигналов, а тактовые входы первого и второго фиксирующих регистров соединены между собой и являются входом тактовой частоты дискретизации генератора DTMF сигналов.Известный генератор DTMF сигналов обеспечивает низкий технический результат, обусловленный избыточным количеством схемных элементов, связанных с различной, а также избыточной разрядностью одинаково функциональных элементов. Кроме того, реализация известного технического решения эффективно возможна в виде отдельной интегральной микросхемы, однако это требует организации специализированного производства, но учитывая, что генераторы DTMF сигналов являются частью многофункциональных устройств (телефонные аппараты с расширенными возможностями, устройства передачи телеметрической информации по телефонным линиям и т.д.), реализуемых в настоящее время на базе универсальных микроконтроллеров, производство отдельных микросхем DTMF сигналов экономически неэффективно.В основу заявляемого технического решения поставлена задача создания способа генерации сигналов DTMF с использованием генератора сигналов DTMF, в котором путем изменения условий и последовательности выполнения операций осуществляется реализация способа с высокими технико-экономическими показателями, обусловленными уменьшением разрядности однотипных операций, высокими технологическими показателями, при реализации способа, как в схемотехническом исполнении простыми аппаратными средствами, так и в составе многофункционального микроконтроллера, связанная с повторяемостью, при реализации, одинаково функциональных элементов.В основу технического решения поставлена задача создания генератора DTMF сигналов, в котором путем введения новых элементов и выполнения новых связей повышается технический результат, связанный с уменьшением количества избыточных схемных элементов, и соответственно повышается экономическая эффективность, связанная с возможностью реализации заявляемого технического решения широкодоступными средствами.Поставленная задача решается тем, что в известном способе генерации DTMF сигналов, включающем выбор первого и второго кодов углов дискретизации, соответствующих первой и второй частоте составляющих DTMF сигнала, накопительное суммирование отдельно первого и второго кодов углов дискретизации с соответственно периодически фиксирующимися, с периодом, соответствующим тактовой частоте дискретизации, первым и вторым результатами накопительного суммирования, получение первого и второго дискретных значений составляющих DTMF сигнала, хранящихся в адресно расположенных ячейках соответствующих таблиц дискретных значений составляющих DTMF сигнала, путем считывания из соответствующих таблиц по адресам, соответствующим результатам накопительного суммирования кодов углов дискретизации, суммирование первого и второго дискретных значений составляющих DTMF сигнала для получения третьего дискретного значения, соответствующего значению DTMF сигнала, новым является то, что получение первого и второго дискретных значений составляющих DTMF сигнала, хранящихся в адресно расположенных ячейках соответствующих таблиц дискретных значений составляющих DTMF сигнала, производится путем считывания из соответствующих таблиц по адресам, соответствующим результатам накопительного суммирования соответственно первой и второй последовательностей целых чисел, усредненное значение которых соответствует кодам углов дискретизации, соответствующих составляющим DTMF сигнала.Кроме того, усредненное значение последовательности целых чисел, формирующих результат накопительного суммирования, может быть средним арифметическим этих чисел.Кроме того, периодическое фиксирование первого и второго результатов накопительного суммирования может быть с периодом, соответствующим тактовой частоте дискретизации, различной для разных DTMF сигналов.Поставленная задача решается также тем, что в известном генераторе DTMF сигналов, включающем первый накопительный сумматор, первый фиксирующий регистр, первое запоминающее устройство, второй накопительный сумматор, второй фиксирующий регистр, второе запоминающее устройство, итоговый сумматор, цифроаналоговый преобразователь, причем выход первого накопительного сумматора соединен со входом первого фиксирующего регистра, выход первого фиксирующего регистра соединен со входом первого запоминающего устройства, а также с одним из входов первого накопительного сумматора, выход первого запоминающего устройства соединен с одним из входов итогового сумматора, выход второго накопительного сумматора соединен со входом второго фиксирующего регистра, выход второго фиксирующего регистра соединен со входом второго запоминающего устройства, а также с одним из входов второго накопительного сумматора, выход второго запоминающего устройства соединен с другим входом итогового сумматора, выход итогового сумматора соединен со входом цифроаналогового преобразователя, выход которого является выходом генератора DTMF сигналов, новым, согласно изобретению, является то, что генератор DTMF сигналов дополнительно содержит преобразователь кодов DTMF сигналов в последовательности целых чисел, делитель задающей частоты генератора DTMF сигналов с регулируемым коэффициентом деления, преобразователь кодов DTMF сигналов в код коэффициета деления, причем первый выход преобразователя кодов DTMF сигналов в последовательности целых чисел соединен с другим входом первого накопительного сумматора, второй выход преобразователя кодов DTMF сигналов в последовательности целых чисел соединен с другим входом второго накопительного сумматора, выход делителя задающей частоты генератора DTMF сигналов с регулируемым коэффициентом деления соединен с тактовым входом преобразователя кодов DTMF сигналов в последовательности целых чисел, а также с тактовым входом первого фиксирующего регистра и тактовым входом второго фиксирующего регистра, выход преобразователя кодов DTMF сигналов в код коэффициета деления соединен со входом установки коэффициента деления делителя задающей частоты генератора DTMF сигналов, вход делителя задающей частоты генератора DTMF сигналов с регулируемым коэффициентом деления является входом задающей частоты генератора DTMF сигналов, вход преобразователя кодов DTMF сигналов в код коэффициента деления соединен со входом преобразователя кодов DTMF сигналов в последовательности целых чисел и является входом генератора DTMF сигналов.Кроме того, преобразователь кодов DTMF сигналов в последовательности целых чисел может быть выполнен в виде управляемого программируемого запоминающего устройства, память которого состоит из, соответствующих количеству DTMF сигналов, областей памяти, состоящих из соответствующих длине последовательности целых чисел, ячеек памяти, выполненных так, что в одной половине ячейки памяти хранится число, относящееся к первой последовательности целых чисел, а в другой половине ячейки памяти хранится число, относящееся, соответственно, к другой последовательности целых чисел, являющихся слагаемыми соответствующих накопительных сумматоров, а управление программируемым запоминающим устройством выполнено с возможностью раздельного управления выбором области памяти и отдельной ячейки памяти.Новые признаки способа генерации DTMF сигналов и генератора DTMF сигналов в совокупности с известными признаками этих объектов обеспечивают новые технические свойства объектов, и, как следствие этих свойств, обеспечивается новый необходимый технический результат.Причинно-следственная связь между совокупностью признаков заявляемого способа и достигаемым техническим результатом поясняется следующим.Для раскрытия сути предлагаемого технического решения удобными будут следующие выкладки:y(P)=sin(n) (1.2),где y(P)- дискретное значение функции синуса;=wT=27F/Fr (1.3)- угол дискретизации, измеряемый в радианах;n — порядковый номер выборки — дискрета;F т =F OSC /kd — тактовая частота дискретизации, где F OSC — задающая частота устройства;kd — регулируемый коэффициент деления.Тогда=2FК D /F OSC . (1.4)Как общеизвестно, функция синуса периодическая с периодом 2. Чтобы преобразовать угол дискретизации из радиан в относительные единицы и получить код угла дискретизации, разбиваем весь период на m частей, где m — целое двоичное число. Таким образом, получим одну минимальную дискретную часть периода:=2/m. (1.5)Код угла дискретизации — это относительное значение угла дискретизации в соответствии с одной частью периода , а именно,К=/=2F/F т:2P/m=Fm/F т. (1.6)Например, для генерируемых частот 1477 Гц и 697 Гц (соответствует коду DTMF сигнала “3”), при m=64, и тактовой частоты F т =32768 ГцК 697 =1,36;K l477 =2,88.Очевидно, что для двоичного отображения кода угла дискретизации К 697 =1,36 в соответственно 136 требуется 8 бит (1281+640+320+160+81+40+20+10), а К 1477 =2,88 в соответственно 288 требуется 9 бит (2561+1280+640+321+160+80+40+ 20+10).При этом для накопительного суммирования соответственно в двоичном предствлении требуется 12 бит, что определило вышеописанные недостатки известного решения.Предлагаемое техническое решение определяет, например, число 1,36 как усредненное значение последовательности целых чисел 1 и 2, а именно 1,36=(1х+2у)/(х+у), где х и у — соответственно количество чисел 1 и 2, периодически повторяющихся с периодом (х+у).Значение кода угла дискретизации состоит из целой части Ц и дробной, т.е. например, 1,36=1+0,36. Относительная точность такой замены в соответствии с выражением (1.7)=К/Ц (1.7)повышается с увеличением целой части значения кода угла дискретизации. Например, для генерируемой частоты 697 Гц, m=64, и тактовой частоты F т =32768 Гц погрешность замены К 697 =1,36 на значения чисел 1 и 2 соответственно 36 и 32%.В то же время, если увеличить значение m=256, то погрешность замены К 697 =5,45 на значения чисел 5 и 6 соответственно уменьшается 9 и 10%.При этом погрешность генерируемой частоты, например, при замене К 697 =5,45 на значения чисел 5 и 6 при периоде повторения, равном 16, 5,45=(5х+6у)/(х+у),где (х+у)=16.Решая уравнение, получим х=9, у=7, т.е. из шестнадцати операций накопительного суммирования девять раз суммируется слагаемое 5 и семь раз слагаемое 6, при этом фактически К 697 =5,4375, подставляя это значение в выражение (1.6) для m=256, F т =32768 Гц, определим фактическое расчетное значение генерируемой частоты F=696 Гц, при этом погрешность оставила 0,1%.Таким образом, накопительное суммирование последовательности целых чисел, усредненное значение которых соответствует соответствующим углам дискретизации, позволяет достигнуть высоких технико-экономических показателей за счет уменьшения разрядности операций накопительного суммирования, обусловленных возможностью варьировать составляющими вышеприведенных выражений, и соответственно уменьшения разрядности устройств, реализующих предлагаемый способ, что ведет к уменьшению аппаратных и энергетических затрат при реализации способа, и обеспечить высокие технологические показатели предлагаемого способа при использовании в многофункциональных устройствах, обусловленных пониженными техническими требованиями.Причинно-следственная связь между совокупностью признаков заявляемого технического решения и достигаемым техническим результатом поясняется следующим.Высокий технический результат генератора DTMF сигналов обеспечивается введением новых элементов преобразователя кодов DTMF сигналов в последовательности целых чисел, делителя задающей частоты генератора DTMF сигналов с регулируемым коэффициентом деления, преобразователя кодов DTMF сигналов в код коэффициента делителя, которые обеспечивают реализацию способа схемотехническими элементами с одинаковой разрядностью, не превышающей 8-бит, при этом отсутствует избыточность элементов, необходимых для решения нескольких задач, например, и для фиксирования результата накопительного суммирования, и для адресации соответствующего запоминающего устройства используется одинаковое количество разрядов, реализуемых не более чем 8-разрядным регистром, который может быть выполнен общедоступными средствами в виде одной микросхемы либо, в микропроцессорном исполнении, одной ячейкой памяти.Кроме того, реализация накопительных сумматоров может быть выполнена в виде одинаковых устройств, с одинаковой разрядностью, в виде общедоступных микросхем сумматоров, оперирующих с 4-разрядными слагаемыми.Конечно, подразумевается, что числа и соответственно устройства, формирующие вышеописанные последовательности целых чисел, совокупность которых определяет соответствующие коды углов дискретизации, могут быть и с другой разрядностью, но наиболее оптимальные, с точки зрения выполнения поставленных заявляемым решением целей, являются 4-разрядные числа.Кроме того, высокий технический результат обеспечивается также при реализации предлагаемого технического решения в составе микроконтроллеров, где система команд микроконтроллеров обязательно включает в себя команды, оперирующие с 4-разрядными числами — полубайтами.Таким образом, заявляемое техническое решение генератора DTMF сигналов позволяет обеспечить высокий технический результат, связанный с уменьшением количества схемных элементов, а также обеспечивает универсальность при реализации генератора DTMF сигналов как общедоступными аппаратными средствами, так и в составе многофункциональных микроконтроллеров, что определяет высокую экономическую эффективность технического решения.Изобретение поясняется чертежом, где на фиг.1 функционально изображен генератор DTMF сигналов, реализующий способ генерации DTMF сигналов.Генератор DTMF сигналов включает преобразователь 1 кодов DTMF сигналов в последовательности целых чисел, делитель 2 задающей частоты генератора DTMF сигналов с регулируемым коэффициентом деления, преобразователь 3 кодов DTMF сигналов в код коэффициент деления, первый накопительный сумматор 4, первый фиксирующий регистр 5, первое запоминающее устройство 6, второе запоминающее устройство 7, второй фиксирующий регистр 8, второй накопительный сумматор, итоговый сумматор 10, цифроаналоговый преобразователь 11.Работа генератора DTMF сигналов иллюстрируется на примере реализации способа генерации DTMF сигналов.Предварительно на основании выражений (1.4, 1.6) и технических данных, в частности задающей частоты устройства, где будет реализован предлагаемый способ, рассчитываются последовательности целых чисел, определяющие соответствующие коды углов дискретизации, и коды коэффициентов деления для делителя 2 задающей частоты генератора DTMF сигналов с регулируемым коэффициентом деления, которые записываются в соответствующие ячейки областей памяти преобразователя 1 кодов DTMF сигналов в последовательности целых чисел и преобразователя 3 кодов DTMF сигналов в коды коэффициентов деления, также предварительно рассчитывают дискретные значения соответствующих функций синуса, количество которых определяется числом дискретов т, и записывают в соответствующие запоминающие устройства 6 и 7, при генерации DTMF сигнала, на входах преобразователя 1 и преобразователя 3, являющихся входами генератора, на время действия DTMF сигнала, установится код генерируемого DTMF сигнала, на выходе преобразователя 3 установится код, определяющий коэффициент деления для делителя 2, при этом на выходе делителя 2 установится тактовая частота дискретизации периодически, с периодом, соответствующим тактовой частоте дискретизации, с первого выхода преобразователя 1 будут поступать на вход первого накопительного сумматора 4 двоичные числа, входящие в первую последовательность целых чисел, а со второго выхода преобразователя 1 будут поступать на вход второго накопительного сумматора 9 двоичные числа, входящие во вторую последовательность целых чисел, соответствующих составляющим DTMF сигнала, результаты накопительного суммирования подаются с выходов накопительных сумматоров на входы соответствующих фиксирующих регистров 5 и 8, с выходов фиксирующих регистров 5 и 8 результаты накопительного суммирования, с периодом, соответствующим тактовой частоте дискретизации, поступают на другие входы соответствующих накопительных сумматоров 4 и 9, а также на входы соответствующих запоминающих устройств 6 и 7, устанавливая адреса дискретных значений синусов соответствующих составляющих DTMF сигнала, с выходов запоминающих устройств 6 и 7 дискретные значения соответствующих составляющих DTMF сигнала поступают на соответствующие входы итогового сумматора 10, на выходе которого образуется дискретный двоичный DTMF сигнал, который поступает на вход цифроаналогового преобразователя 11, на выходе которого образуется ступенчатый синусоидальный DTMF сигнал, соответствующий входному коду DTMF сигнала.Преобразователь 1 кодов DTMF сигналов в последовательности целых чисел (фиг.1) может быть выполнен в виде, изображенном на фиг.2, где преобразователь кодов DTMF сигналов в последовательности целых чисел включает устройство управления 12, программируемое запоминающее устройство 13.Работа генератора DTMF сигналов иллюстрируется далее на конкретном примере реализации заявляемого способа в телефонном тонально-частотном номеронабирателе.Предварительно на основании выражений (1.4, 1.6) и технических данных рассчитываются последовательности целых чисел, определяющие соответствующие коды углов дискретизации, и коды коэффициентов деления для делителя 2 задающей частоты генератора DTMF сигналов с регулируемым коэффициентом деления. Учитывая, что реализация способа включает однотипные расчеты, то для иллюстрации работы в конкретном примере приводится реализация способа для генерации DTMF сигнала, соответствующего нажатию клавиши “7” в составе тонально-импульсного номеронабирателя. В качестве задающей частоты генератора установлена кварцевая частота, наиболее распространенная в телефонной технике, а именно F OSC =3579545 Гц. Нажатию клавиши “7” сответствует сигнал DTMF с верхней (столбцы) частотой 1209 Гц и нижней (строки) частотой 852 Гц. Так как DTMF сигнал одновременно передает две частоты, то коэффициенты деления рассчитывают для большей — верхней частоты так, чтобы соответствующий код угла дискретизации в соответствии с выражением (1,6) был близок к максимальному значению — 16, что реализуется не более чем 4-битами данных. Таким образом, при F OSC =3579545 Гц, числе дискретных значений синусов m=128 рассчитанные значения коэффициента деления для делителя 2 задающей частоты генератора DTMF сигналов с регулируемым коэффициентом деления K D =240=460, при этом соответствующие коды углов дискретизации для верхней частоты K 1209/852 =10,376, для нижней частоты К 852/1209 =7,312.Согласно изобретению коды углов дискретизации заменяем на последовательности целых чисел соответственно 10/11 и 7/8.10,375=(10х+11у)/(x+у), при этом фактически K 1209 / 852 =10,3757,312=(7х+8у)/(x+у), при этом фактически K 952/1209 =7,313,при (х+у)=16.Таким образом, 10,375 заменяется на периодически повторяющуюся последовательность целых чисел 10 по 10 раз и 11 по 6 раз, а 7,312 заменяется как 7 по 11 раз и 8 по 5 раз.Область памяти для кода DTMF сигнала “7” в двоичном представлении выглядит следующим образом:
Таким образом рассчитывают шестнадцать таблиц, соответствующих кодам DTMF сигналов, а именно 0, 1, 2…9, *, #, А, В, С, D, и предварительно записывают в память программируемого запоминающего устройства 13 (преобразователь кода символа DTMF в последовательности целых чисел).При нажатии на клавишу, например, “7” на входе генератора на время действия DTMF сигнала устанавливается двоичный код DTMF сигнала “7” (0111), преобразователь 3 кода DTMF сигнала в коэффициент деления преобразует код DTMF сигнала в код коэффициента деления kd для делителя 2 задающей частоты генератора с регулируемым коэффициентом деления, на выходе делителя 2 установится тактовая частота дискретизации F т =F OSC /K D . Код DTMF сигнала также поступает на адресные входы старших разрядов программируемого запоминающего устройства 13 (преобразователь кодов DTMF сигналов в последовательности целых чисел) и присутствует там в течение времени действия DTMF сигнала. Управляемое устройство 12, выполненное, например, в виде счетчика (преобразователь кодов DTMF сигналов в последовательности целых чисел), под воздействием тактовых сигналов с частотой т циклически изменяет свое значение на параллельных выходах последовательно от 0000 до 1111, изменяя соответственно значения адресных входов младших разрядов программируемого запоминающего устройства 13 (преобразователь кодов DTMF сигналов в последовательности целых чисел), на выходе программируемого запоминающего устройства 13с тактовой частотой дискретизации появляются 8-разрядные (байтовые) числа, при этом в соответствии с таблицей 1 старшие четыре разряда (старший полубайт) формируют последовательность целых чисел, совокупность которых, а именно, среднее арифметическое, определяет код угла дискретизации, соответствующий верхней (столбцы) частоте, а младшие четыре разряда (младший полубайт) формируют последовательность целых чисел, совокупность которых, а именно, среднее арифметическое, определяет код угла дискретизации, соответствующий нижней (строки) частоте, четырехразрядные данные, в соответствии с таблицей 1, с выхода программируемого запоминающего устройства 13 (преобразователь кодов DTMF сигналов в последовательности целых чисел) раздельно поступают на входы соответствующих накопительных сумматоров 4 и 9, на выходах соответствующих сумматоров 4 и 9 данные изменяются с тактовой частотой дискретизации от 0 до m (в данном случае m=128), определяя и фиксируя посредством фиксирующих регистров 5 и 8 адреса для запоминающих устройств 6 и 7, в которые соответственно записаны двоичные дискретные значения соответствующих синусоидальных составляющих DTMF сигнала, с выходов запоминающих устройств 6 и 7 двоичные дискретные значения соответствующих синусоидальных составляющих DTMF сигнала поступают на соответствующие входы итогового сумматора 10, на выходе которого формируются двоичные дискретные значения DTMF сигнала, которые далее поступают на вход цифроаналогового преобразователя 11, на выходе которого формируется ступенчатый синусоидальный DTMF сигнал.Генератор DTMF сигналов может быть реализован на базе общеизвестных технических средств, описанных, например, в: Применение интегральных микросхем в электронной вычислительной технике. Справочник / Под ред. Б.Н. Файзулаева, Б.В. Тарабрина. — М.: Радио и связь, 1986. При этом преобразователь 3 кодов DTMF сигналов в коды коэффициентов деления может быть выполнен, например, в виде микросхемы постоянного запоминающего устройства 155РЕ 3 (с. 343), реализация регистров описана на с. 108, реализация накопительных сумматоров описана на с. 114.Заявляемый способ и генератор DTMF сигналов также реализованы на базе технических средств фирмы Microchip Inc. (8-разрядных однокристальных микроконтроллеров типа pic16f628), в составе импульсно-тонального телефонного номеронабирателя “Кадран — НКТ — 01” производства фирмы “Кадран” (Украина, г. Запорожье). Система команд и внутреннее устройство узлов микроконтроллера описаны в: Прокопенко Б.Я. Однокристальные микроконтроллеры. Додэка, 2000, ISBN8-87835-056-4.Описание параметров DTMF сигнала приведено, например, в: Интегральные микросхемы: Микросхемы для телефонии. Вып.1. — М.: Додэка, 1994, 256 с. — ISBN-5-87835-003-3., с. 12, 13.
ФОРМУЛА ИЗОБРЕТЕНИЯ
1. Способ генерации двухтональных частотных (DTMF) сигналов, включающий выбор первого и второго кодов углов дискретизации, соответствующих первой и второй частотам составляющих DTMF сигнала, накопительное суммирование отдельно первого и второго кодов углов дискретизации с соответственно периодически фиксирующимися периодом, соответствующим тактовой частоте дискретизации, первым и вторым результатами накопительного суммирования, получение первого и второго дискретных значений составляющих DTMF сигнала, хранящихся в адресно расположенных ячейках соответствующих таблиц дискретных значений составляющих DTMF сигнала, путем считывания из соответствующих таблиц по адресам, соответствующим результатам накопительного суммирования кодов углов дискретизации, суммирование первого и второго дискретных значений составляющих DTMF сигнала для получения третьего дискретного значения, соответствующего значению DТМF сигнала, отличающийся тем, что получение первого и второго дискретных значений составляющих DTMF сигнала, хранящихся в адресно расположенных ячейках соответствующих таблиц дискретных значений составляющих DTMF сигнала, производится путем считывания из соответствующих таблиц по адресам, соответствующим результатам накопительного суммирования соответственно первой и второй последовательностей целых чисел, усредненное значение которых соответствует кодам углов дискретизации, соответствующих составляющих DTMF сигнала.2. Способ по п.1, отличающийся тем, что усредненное значение последовательности целых чисел, формирующих результат накопительного суммирования, является средним арифметическим этих чисел.3. Способ по п.1, отличающийся тем, что периодическое фиксирование первого и второго результатов накопительного суммирования производится с периодом, соответствующим тактовой частоте дискретизации, различной для разных DТМF сигналов.4. Генератор DТМF сигналов, включающий первый накопительный сумматор, первый фиксирующий регистр, первое запоминающее устройство, второй накопительный сумматор, второй фиксирующий регистр, второе запоминающее устройство, итоговый сумматор, цифроаналоговый преобразователь, причем выход первого накопительного сумматора соединен со входом первого фиксирующего регистра, выход первого фиксирующего регистра соединен со входом первого запоминающего устройства, а также с одним из входов первого накопительного сумматора, выход первого запоминающего устройства соединен с одним из входов итогового сумматора, выход второго накопительного сумматора соединен со входом второго фиксирующего регистра, выход второго фиксирующего регистра соединен со входом второго запоминающего устройства, а также с одним из входов второго накопительного сумматора, выход второго запоминающего устройства соединен с другим входом итогового сумматора, выход итогового сумматора соединен со входом цифроаналогового преобразователя, выход которого является выходом генератора DТМF сигналов, отличающийся тем, что генератор DTMF сигналов дополнительно содержит преобразователь кодов DTMF сигналов в последовательности целых чисел, делитель задающей частоты генератора DTMF сигналов с регулируемым коэффициентом деления, преобразователь кодов DTMF сигналов в код коэффициента деления, причем первый выход преобразователя кодов DTMF сигналов в последовательности целых чисел соединен с другим входом первого накопительного сумматора, второй выход преобразователя кодов DTMF сигналов в последовательности целых чисел соединен с другим входом второго накопительного сумматора, выход делителя задающей частоты генератора DTMF сигналов с регулируемым коэффициентом деления соединен с тактовым входом преобразователя кодов DTMF сигналов в последовательности целых чисел, а также с тактовым входом первого фиксирующего регистра и тактовым входом второго фиксирующего регистра, выход преобразователя кодов DTMF сигналов в код коэффициента деления соединен со входом установки коэффициента деления делителя задающей частоты генератора DTMF сигналов, вход делителя задающей частоты генератора DTMF сигналов с регулируемым коэффициентом деления является входом задающей частоты генератора DТМF сигналов, вход преобразователя кодов DTMF сигналов в код коэффициента деления соединен со входом преобразователя кодов DTMF сигналов в последовательности целых чисел и является входом генератора DTMF сигналов.5. Генератор DTMF сигналов по п.4, отличающийся тем, что преобразователь кодов DTMF сигналов в последовательности целых чисел выполнен в виде управляемого программируемого запоминающего устройства, память которого состоит из соответствующих количеству DТМF сигналов, областей памяти, состоящих из соответствующих длине последовательности целых чисел ячеек памяти, выполненных так, что в одной половине ячейки памяти хранится число, относящееся к первой последовательности целых чисел, а в другой половине ячейки памяти хранится число, относящееся соответственно к другой последовательности целых чисел, являющихся слагаемыми соответствующих накопительных сумматоров, а управление программируемым запоминающим устройством выполнено с возможностью раздельного управления выбором области памяти и отдельной ячейки памяти.Тональный набор (Dual-tone multi-frequency signaling, DTMF) был разработан компанией Bell Labs в 50-х годах прошлого века для революционного на тот момент времени кнопочного телефона. Для представления и передачи цифровых данных в тоновом режиме используется пара частот (тонов) речевого частотного диапазона. В системе определены две группы из четырех частот, и информация кодируется одновременной передачей двух частот — по одной из каждой группы. Это дает в общей сложности шестнадцать комбинаций для представления шестнадцати разных чисел, символов и букв. В настоящее время DTMF-кодирование используется в широком спектре приложений в области связи и управления, что, например, подтверждается Рекомендацией Q.23 Международного союза электросвязи (МСЭ).
В данной статье описывается схема тонового DTMF-генератора, воспроизводящего все восемь частот и формирующего результирующий выходной двухтоновый сигнал. Рассматриваемая система была построена на базе микросхемы Silego GreenPAK ™ SLG46620V и операционных усилителей Silego SLG88104V. Выдаваемый результирующий сигнал представляет собой сумму двух частот, определяемых строкой и столбцом телефонной клавиатуры.
Предлагаемая схема использует четыре входа для выбора формируемой комбинации частот. Схема также имеет вход разрешения, который запускает генерацию и определяет продолжительность времени передачи сигнала. Частота выходного сигнала генератора соответствует требованиям стандарта МСЭ для DTMF.
Тоновые DTMF-сигналы
DTMF-стандарт определяет кодирование цифр 0-9, букв A, B, C и D и символов * и # в виде комбинации двух частот. Эти частоты разделены на две группы: группа высоких частот и группа низких частот. В таблице 1 показаны частоты, группы и соответствующие представления символов.
Таблица 1. Кодирование сигналов тоновом режиме DTMF
Группа верхних частот | |||||
Группа нижних частот | |||||
Частоты были выбраны таким образом, чтобы избежать кратных гармоник. Кроме того, их сумма или разность не дают другой DTMF-частоты. Таким образом, удается избежать гармоник или модуляционных искажений.
В стандарте Q.23 указывается, что погрешность каждой передаваемой частоты должна находиться в диапазоне ± 1,8% от номинального значения, а суммарные искажения (в результате гармоник или модуляции) должны быть на 20 дБ ниже основных частот.
Описанный выше результирующий сигнал может быть описан как:
s(t) = Acos(2πfhight)+ Acos(2πflowt),
где fhigh и flow являются соответствующими частотами из групп высоких и низких частот.
На рисунке 1 показан результирующий сигнал для цифры «1». На рисунке 2 показан частотный спектр, соответствующий данному сигналу.
Рис. 1. Тональный DTMF-сигнал
Рис. 2. Спектр тонального DTMF-сигнала
Длительность DTMF-сигналов может быть различной и зависит от конкретного приложения, в котором используется тональное кодирование. Для наиболее распространенных приложений, значения длительностей, как правило, лежат между ручным и автоматическим набором. В таблице 2 показано краткое описание типовой продолжительности времени для двух типов набора.
Таблица 2. Длительность сигналов при тоновом наборе
Тип набора | Группа верхних частот | Группа верхних частот | ||
Ручной набор | ||||
Автоматический набор | ||||
Для получения большей гибкости DTMF-генератор, предлагаемый в данном руководстве, снабжен входом разрешения, который используется для старта генерации сигнала и определяет его длительность. При этом продолжительность сигнала равна длительности импульса на входе разрешения.
Аналоговая часть схемы DTMF-генератора
Рекомендация МСЭ Q.23 определяет DTMF-сигналы как аналоговые сигналы, созданные двумя синусоидальными волнами. В предлагаемой схеме DTMF-генератора микросхема Silego GreenPAK SLG46620V генерирует сигналы прямоугольной формы с желаемыми DTMF-частотами. Чтобы получить синусоидальные сигналы необходимой частоты и сформировать результирующий сигнал (сумма двух синусоидальных волн), потребуются аналоговые фильтры и сумматор. По этой причине в данном проекте было решено использовать фильтры и сумматор на базе операционных усилителей SLG88104V.
На рисунке 3 показана структура предлагаемой аналоговой части устройства.
Рис. 3. Схема аналоговой обработки для получения DTMF-сигнала
Для получения синусоидальных сигналов из прямоугольных импульсов используются аналоговые фильтры. После выполнения фильтрации происходит суммирование двух сигналов и формирование желаемого выходного двухтонового DTMF-сигнала.
На рисунке 4 представлен результат преобразования Фурье, используемого для получения спектра прямоугольного сигнала.
Рис. 4. Спектр сигнала прямоугольной формы
Как можно заметить, прямоугольный сигнал содержит только нечетные гармоники. Если представить такой сигнал с амплитудой A в виде ряда Фурье, то он будет иметь следующий вид:
Анализ этого выражения позволяет сделать вывод, что если аналоговые фильтры имеют достаточное затухание для гармоник, то вполне реально получить синусоидальные сигналы с частотой, равной частоте исходного прямоугольного сигнала.
Принимая во внимание допуск на уровень помех, определенный в стандарте Q.23, необходимо обеспечить, чтобы все гармоники были ослаблены на 20 дБ или более. Кроме того, любая частота из группы нижних частот должна сочетаться с любой частотой из группы верхних частот. Учитывая эти требования, были разработаны два фильтра, по одному для каждой группы.
В качестве обоих фильтров использовались низкочастотные фильтры Баттерворта. Затухание фильтра Баттерворта порядка n можно рассчитать как:
A(f)[дБ] = 10 log(A(f) 2) = 10log(1+(f/fc) 2n),
где fc — частота среза фильтра, n — порядок фильтра.
Разница в затухании между самой низкой частотой и самой высокой частотой каждой группы может быть не более 3 дБ, поэтому:
A(fHIGHER)[дБ] — A(fLOWER)[дБ] > 3 дБ.
Учитывая абсолютные значения:
A(fHIGHER) 2 / A(fLOWER) 2 > 2.
Кроме того, как мы уже говорили ранее, ослабление гармоник должно составлять 20 дБ или более. При этом наихудшим будет случай самой низкой частоты в группе, потому что ее 3-я гармоника является самой низкочастотной и находится ближе всего к частоте среза фильтра. Учитывая, что 3-я гармоника в 3 раза меньше фундаментальной, фильтр должен отвечать условию (абсолютные значения):
A(3fLOWER) 2 / A(fLOWER) 2 > 10/3.
Если эти уравнения применяются к обеим группам, то используемые фильтры должны быть фильтрами второго порядка. Это означает, что они будут иметь по два резистора и по два конденсатора, если их реализовывать с помощью операционных усилителей. При использовании фильтров третьего порядка чувствительность к допускам компонентов была бы ниже. Выбранные частоты отсечек фильтров составляют 977 Гц для группы нижних частот и 1695 Гц для группы верхних частот. При таких значениях отличия в уровнях сигналов в группах частот согласуются с приведенными выше требованиями, а чувствительность к изменениям частоты отсечки из-за допусков компонентов оказывается минимальной.
Принципиальные схемы фильтров, реализованные с помощью SLG88104V, представлены на рисунке 5. Номиналы первой пары R-C выбраны таким образом, чтобы ограничить выходной ток микросхемы SLG46620V. Второе звено фильтра определяет коэффициент усиления, который составляет 0,2. Амплитуда прямоугольных сигналов задает рабочую точку операционного усилителя на уровне 2,5 В. Нежелательные напряжения блокируются конденсаторами выходных фильтров.
Рис. 5. Принципиальные схемы выходных фильтров
На выходе сигналы фильтров суммируются, и результирующий сигнал представляет собой сумму гармоник, выбранных из группы нижних и верхних частот. Для компенсации затухания фильтра амплитуду выходного сигнала можно подстроить с помощью двух резисторов R9 и R10. На рисунке 6 показана схема сумматора. На рисунке 7 представлена вся аналоговая часть схемы.
Рис. 6. Принципиальная схема сумматора
Рис. 7. Аналоговая часть схемы
Цифровая часть схемы тонального DTMF-генератора
Цифровая часть схемы тонального DTMF-генератора включает целый набор генераторов прямоугольных импульсов — по одному для каждой частоты DTMF. Так как для создания этих генераторов требуется восемь счетчиков, то для их реализации была выбрана микросхема GreenPAK SLG46620V. На выходах цифровой схемы формируются два сигнала прямоугольной формы, по одному на каждую группу частот.
Прямоугольные сигналы формируются с помощью счетчиков и D-триггеров и имеют коэффициент заполнения 50%. По этой причине частота переключения счетчиков в два раза выше требуемой частоты DTMF, а DFF-триггер делит выходной сигнал на два.
Источником тактирования для счетчиков является встроенный RC-генератор 2 МГц, частота которого дополнительно делится на 4 или 12. Делитель выбирается с учетом разрядности и максимального значения каждого счетчика, необходимого для получения конкретной частоты.
Для генерации высоких частот требуется меньшее количество отсчетов, поэтому для их формирования используются 8-битные счетчики, тактируемые от внутреннего RC-генератора, сигнал которого поделен на 4. По той же причине более низкие частоты реализованы с помощью 14-битных счетчиков.
Микросхема SLG46620V имеет только три стандартных 14-битных счетчика, поэтому одна из нижних частот была реализована с помощью 8-разрядного счетчика CNT8. Чтобы число отсчетов укладывалось в диапазоне 0…255, для тактирования данного CNT8 пришлось использовать сигнал RC-генератора, поделенный на 12. Для этой схемы была выбрана частота с наибольшим числом отсчетов, то есть самая низкая частота. Это позволило минимизировать погрешность.
В таблице 3 показаны параметры каждого прямоугольного сигнала.
Таблица 3. Параметры генераторов прямоугольных импульсов
Тактирование | Ошибка частоты [%] | |||
Группа нижних частот | ||||
Группа верхних частот | ||||
Как видно из таблицы, все частоты имеют погрешность менее 1,8%, поэтому они соответствуют стандарту DTMF. Эти расчетные характеристики, основанные на идеальном значении частоты RC-генератора, могут быть подстроены с учетом измерения выходной частоты RC-генератора.
Хотя в предлагаемой схеме все генераторы работают параллельно, но сигнал только одного генератора из каждой группы будет поступать на выход микросхемы. Выбор конкретных сигналов определяет пользователь. Для этого применяются четыре входа GPIO (два бита для каждой группы) с таблицей истинности, показанной в таблице 4.
Таблица 4. Таблица выбора частот из группы нижних частот
Группа нижних частот | |||
Таблица 5. Таблица выбора частоты из группы верхних частот
Группа верхних частот | |||
На рисунке 8 показана логическая схема генератора прямоугольных сигналов с частотой 852 Гц. Эта схема повторяется для каждой частоты с соответствующими настройками счетчика и конфигурацией LUT.
Рис. 8. Генератор импульсов прямоугольной формы
Счетчик формирует выходную частоту, определяемую его настройками. Эта частота равна удвоенной частоте соответствующего тона DTMF. Параметры конфигурации счетчика показаны на рисунке 9.
Рис. 9. Пример настройки счетчика генератора прямоугольных импульсов
Выходной сигнал счетчика подключается к тактовому входу триггера D-Flip Flop. Так как выход DFF сконфигурирован как инвертированный, то если подключить выход DFF к его входу, то D-триггер преобразуется в T-триггер. Параметры конфигурации DFF можно увидеть на рисунке 10.
Рис. 10. Пример настройки триггера генератора прямоугольных импульсов
Сигнал с выхода DFF поступает на вход таблицы истинности LUT. Таблицы истинности LUT используются для выбора одного сигнала для каждого конкретного сочетания R1-R0. Пример конфигурации LUT представлен на рисунке 11. В данном примере, если на R1 поступает «1», а на R0 подается «0», входной сигнал передается на выход. В остальных случаях на выходе присутствует «0».
Рис. 11. Пример настройки таблицы истинности генератора прямоугольных импульсов
Как было сказано выше, предлагаемая схема имеет вход разрешения Enable. Если на входе разрешения Enable присутствует логическая единица «1», то генерируемые прямоугольные сигналы подаются на пару выходов микросхемы. Длительность передачи равна длительности импульса на входе разрешения. Чтобы реализовать эту функцию, потребовалось еще несколько блоков таблиц истинности LUT.
Для группы верхних частот используется один 4-разрядный LUT и один 2-битный LUT, как показано на рисунке 12.
Рис. 12. Схема выхода группы верхних частот
4-битный LUT1 настроен как логический элемент ИЛИ, поэтому он выдает логическую единицу «1», если на любом из его входов присутствует «1». Таблицы истинности C1/ C0 допускают выбор только одного из генераторов, поэтому 4-разрядный LUT1 определяет какой сигнал поступает на выход. Выход этого LUT подключается к 2-битному LUT4, который передает сигнал только в том случае, если на входе разрешения присутствует логическая «1». На рисунках 13 и 14 показаны конфигурации 4-битного LUT1 и 2-битного LUT4.
Рис. 13. Конфигурация 4-битного LUT1
Рис. 14. 2-битная конфигурация LUT4
Так как 4-битных таблиц истинности LUT больше не было, для группы нижних частот использовались два 3-битных LUT.
Рис. 15. Схема выхода группы нижних частот
Полная внутренняя схема GreenPAK SLG46620V показана на рисунке 16. На рисунке 17 представлена итоговая принципиальная схема DTMF-генератора.
Рис. 16. Блок-схема генератора тональных сигналов DTMF
Рис. 17. Принципиальная схема DTMF-генератора тональных сигналов
Тестирование схемы DTMF-генератора
На первом этапе тестирования предложенного DTMF-генератора было решено проверить частоты всех формируемых прямоугольных сигналов с помощью осциллографа. В качестве примера на рисунке 18 и 19 показаны выходные сигналы прямоугольной формы для частот 852 Гц и 1477 Гц.
Рис. 18. Прямоугольный сигнал 852 Гц
Рис. 19. Прямоугольный сигнал 1477 Гц
Как только частоты всех прямоугольных сигналов были проверены, началось испытание аналоговой части схемы. Были исследованы выходные сигналы для всех комбинаций из группы нижних и верхних частот. В качестве примера на рисунке 20 показана сумма сигналов 770 Гц и 1209 Гц, а на рисунке 21 показана сумма сигналов 941 Гц и 1633 Гц.
Рис. 20. Тональный DTMF-сигнал 770 Гц и 1209 Гц
Рис. 21. Тональный DTMF-сигнал 941 Гц и 1633 Гц
Заключение
В данной статье была предложена схема тонового DTMF-генератора, построенного на базе микросхемы Silego GreenPAK SLG46620V и операционных усилителей Silego SLG88104V. Генератор дает пользователю возможность выбирать комбинации требуемых частот с помощью четырех входов и управлять входом разрешения, который определяет длительность генерации выходных сигналов.
Характеристики микросхемы SLG46620V:
- Тип: программируемая микросхема смешанных сигналов;
- Аналоговые блоки: 8-битный АЦП, два ЦАП, шесть компараторов, два фильтра, ИОН, четыре интегрированных генератора;
- Цифровые блоки: до 18 портов ввода/вывода, матрица соединений и комбинаторная логика, программируемые схемы задержки, программируемый функциональный генератор, шесть 8-битных счетчиков, три 14-битных счетчика, три ШИМ-генератора/компаратора;
- Коммуникационный интерфейс: SPI;
- Диапазон напряжений питания: 1,8…5 В;
- Диапазон рабочих температур: -40…85 °C;
- Корпусное исполнение: 2 x 3 x 0,55 мм 20-выводной STQFN.
Отличительные особенности:
- Генерация синусоидальных сигналов с использованием широтно-импульсной модуляции (ШИМ)
- Объединение различных синусоидальных сигналов в один DTMF-сигнал
- Исходные коды на языках ассемблер и Си
- Разработан для совместной работы с STK500
- Размер кода программы 260 байт/размер таблицы констант 128 байт
- Использование метода табличного преобразования
Введение
Данный документ описывает методику генерации DTMF-сигналов (двутональные многочастотные сигналы) с использованием любого AVR-микроконтроллера, содержащего блок широтно-импульсной модуляции (ШИМ) и статическое ОЗУ. Данные сигналы находят широкое применение в телефонии, где они воспроизводятся при нажатии на кнопки набора номера телефонного аппарата. Для правильной генерации DTMF-сигнала необходимо наложить две частоты вместе: низкую частоту (fb) и высокую частоту (fa). В таблице 1 показано как смешиваются различные частоты для получения DTMF-тонов при нажатии на различные клавиши.
Рисунок 1 – Схема генератора DTMF-сигнала
Таблица 1 – Матрица формирования тонального сигнала
| fb/fa | 1209 Гц | 1336 Гц | 1477 Гц | 1633 Гц |
| 697 Гц | 1 | 2 | 3 | A |
| 770 Гц | 4 | 5 | 6 | B |
| 852 Гц | 7 | 8 | 9 | C |
| 941 Гц | * | 0 | # | D |
В строках таблицы 1 представлены значения низкой частоты, а в столбцах – значения высокой частоты. Например, в матрице показано, что при нажатии на кнопку «5» должны смешиваться частоты fb = 770 Гц и fa = 1336 Гц. В результате сложения двух синусоидальных сигналов разных частот образуется DTMF-сигнал
где отношение амплитуд K=A b /A a исходных сигналов должно отвечать условию
Принцип действия
Помимо общих сведений об использовании широтно-импульсной модуляции далее будет показано как широтно-импульсная модуляция позволяет генерировать синусоидальные сигналы. В следующем параграфе описывается как, используя базовую частоту ШИМ получить различные частоты. После рассмотрения теоретических основ будет дано описание непосредственно генератора DTMF-сигнала. Генерация синусоидальных сигналов
В зависимости от соотношения длительности высокого VH и низкого VL уровней напряжения среднее значение на выходе ШИМ изменяется. Если соотношение между длительностями обоих уровней удерживать постоянным, то в результате будет генерироваться постоянный уровень напряжения VAV. Рисунок 2 показывает сигнал с широтно-импульсной модуляцией.
Рисунок 2 – Генерация уровня постоянного напряжения
Уровень напряжения определяется выражением:
(3)
Синусоидальный сигнал может генерирован при условии, что среднее значение напряжения, генерируемого широтно-импульсной модуляцией будет изменяться каждый период ШИМ. Соотношение между высоким и низким уровнями должно задаваться в соответствие с уровнем напряжения синусоидального сигнала при соответствующем времени. На рисунке 3 иллюстрируется данный процесс. Исходные данные для ШИМ вычисляются для каждого ее периода и записываются в таблицу преобразования (ТП).
Рисунок 3 также иллюстрирует зависимость между частотой основного синусоидального сигнала и количеством выборок. Чем выше число выборок (Nc) – тем выше точность моделирования результирующего сигнала:
(4)
Частота ШИМ зависит от разрешающей способности ШИМ. При 8-разрядном разрешении, конечное значение (вершина счета) таймера равно 0xFF (255). Т.к. таймер выполняет счет в прямом и обратном направлениях, то данное значение должно быть удвоено. Поэтому, частота ШИМ может быть вычислена путем деления тактовой частоты таймера f CK на 510. Таким образом, при частоте тактирования таймера 8 МГц результирующая частота ШИМ составит 15.6 кГц.
Рисунок 3 – Генерация синусоидального сигнала с использованием ШИМ
Изменение частоты синусоидального сигнала
Предположим, что синусоидальные выборки считываются из таблицы преобразования не последовательно, а через одну. В этом случае при той же частоте чтения выборок будет генерироваться сигнал с удвоенной частотой (см. рисунок 4).
Рисунок 4 – Удвоение результирующей частоты (XSW = 2)
По аналогии, если считывать не каждое второе значение, а каждое третье, четвертое, пятое (соответственно, ширина шага 3, 4, 5…) и т.д. можно генерировать Nc-частот в диапазоне . Обратите внимание, что для высоких частот результирующая форма сигнала не будет синусоидальной. Ширину шага по таблице преобразования обозначим как X SW , где
(5)
Вычисление текущей позиции в ТП для следующего периода ШИМ (при переполнении таймера) выполняется с помощью выражения (6). Новое значение в позиции X LUT зависит от его предыдущего состояния в позиции X» LUT с прибавлением ширины шага X SW
(6)
Сложение разных частот для получения DTMF-сигнала
DTMF-сигнал может быть сгенерирован с помощью выражений (1) и (2). Для простоты арифметических действий значение коэффициента К принимается равным 0.75, чтобы арифметическое действие заменить логическими сдвигами. С учетом выражения (6) текущее значение для управления ШИМ может быть вычислено по выражению:
а с учетом, что X LUTa =X» LUTa + X SWa ,X LUTb =X» LUTb + X SWb , окончательно запишем
Реализация DTMF-генератора
В данном приложении рассматривается построение DTMF тонального генератора с использованием выхода 8-разрядной ШИМ (OC1A) и таблицы с 128 выборками значений синусоидальной функции (Nc), каждая из которых задается 7 битами (n). Следующие выражения показывают эту зависимость, а также показывают как вычислить элементы таблицы преобразования:
(9)
Преимуществом использования 7 бит является то, что сумма значений сигналов высокой и низкой частоты имеет размер одного байта. Для поддержки полного набора DTMF-тонов необходимо вычислить 8 значений для каждой DTMF-частоты из таблицы 1 и занести их в таблицу преобразования.
Для достижения более высокой точности выполнено следующее решение: значения, вычисленные по выражению 5 требуют всего 5 байт. Для использования всех 8 байт, что позволит уменьшить погрешность округления, это значение умножается на 8. Указатель на таблицу преобразования записывается таким же способом. Но в этом случае требуется два байта для запоминания 8-кратного значения. Это означает, что необходимо выполнить 3 правосторонних сдвига и операцию модуля по основанию Nc (логическое умножение на Nc-1) перед использованием этих байт как указателя на значения синусоиды в
Рисунок 5 – Схема модуля для подключения к STK500
ШИМ-сигнал формируется на выводе OC1A (PD5). Дополнительный выходной фильтр будет способствовать большему соответствию синусоидальной форме сигнала. При уменьшении частоты ШИМ может возникнуть необходимость применения фильтра с более крутой АЧХ для получения хорошего результата.
Подключение клавиатуры показано на рисунке 1. Работа клавиатуры должна быть организована таким образом, чтобы была возможность определения нажатой клавиши. Это может быть выполнено по следующему алгоритму:
- Определение строки нажатой клавиши
- настроить младшую тетраду порта В на выход и установить лог. «0»
- настроить старшую тетраду порта В на вход с подключением подтягивающих резисторов
- строка с нажатой кнопкой определяется как разряд старшей тетрады с лог. «0»
- Определение столбца нажатой клавиши
- настроить старшую тетраду порта В на выход и установить лог. «0»
- настроить младшую тетраду порта В на вход с подключением подтягивающих резисторов
- столбец с нажатой кнопкой определяется как разряд младшей тетрады с лог. «0»
Прим.: В STK200 между выводами разъема PORTB и выводами микроконтроллера BP5, PB6 и PB7 включены последовательно резисторы (см. схему STK200). Это вызовет проблемы если клавиатура подключена к разъему PORTB.
Рисунок 6 иллюстрирует работу подпрограммы по определению нажатой клавиши. В зависимости от нажатой клавиши определяется длительность интервала. Процедура обработки прерывания использует это значение для вычисления установок ШИМ для двух синусоид DTM-тона. Процедура обработки прерывания показана на рисунках 7 и 8.
Эта процедура вычисляет значение для сравнения с выходом таймера на следующий период ШИМ. Процедура обработки прерываний сперва вычисляет позицию значения следующей выборки в таблице преобразования и считывает сохраненное там значение.
Позиция выборки в таблице преобразования определяется длительностью импульса, а собственно длительность импульса определяется генерируемой частотой.
Окончательное значение, которое записывается в регистр сравнения таймера, определяется с использованием формулы (7), где учитываются значения выборок обеих DTMF-частот.
Рисунок 6 – Блок-схема основной программы
Отличительные особенности
- Генерация синусоидальных сигналов с использованием широтно-импульсной модуляции (ШИМ)
- Объединение различных синусоидальных сигналов в один DTMF-сигнал
- Исходные коды на языках ассемблер и Си
- Разработан для совместной работы с STK500
- Размер кода программы 260 байт/размер таблицы констант 128 байт
- Использование метода табличного преобразования
Введение
Данный документ описывает методику генерации DTMF-сигналов (двутональные многочастотные сигналы) с использованием любого AVR-микроконтроллера, содержащего блок широтно-импульсной модуляции (ШИМ) и статическое ОЗУ. Данные сигналы находят широкое применение в телефонии, где они воспроизводятся при нажатии на кнопки набора номера телефонного аппарата. Для правильной генерации DTMF-сигнала необходимо наложить две частоты вместе: низкую частоту (fb) и высокую частоту (fa). В таблице 1 показано как смешиваются различные частоты для получения DTMF-тонов при нажатии на различные клавиши.
Рисунок 1. Схема генератора DTMF-сигнала
Таблица 1. Матрица формирования тонального сигнала
| fb/fa | 1209 Гц | 1336 Гц | 1477 Гц | 1633 Гц |
| 697 Гц | 1 | 2 | 3 | A |
| 770 Гц | 4 | 5 | 6 | B |
| 852 Гц | 7 | 8 | 9 | C |
| 941 Гц | * | 0 | # | D |
В строках таблицы 1 представлены значения низкой частоты, а в столбцах – значения высокой частоты. Например, в матрице показано, что при нажатии на кнопку «5» должны смешиваться частоты fb = 770 Гц и fa = 1336 Гц. В результате сложения двух синусоидальных сигналов разных частот образуется DTMF-сигнал
где отношение амплитуд K=A b /A a исходных сигналов должно отвечать условию
Принцип действия
Помимо общих сведений об использовании широтно-импульсной модуляции далее будет показано как широтно-импульсная модуляция позволяет генерировать синусоидальные сигналы. В следующем параграфе описывается как, используя базовую частоту ШИМ получить различные частоты. После рассмотрения теоретических основ будет дано описание непосредственно генератора DTMF-сигнала. Генерация синусоидальных сигналов
В зависимости от соотношения длительности высокого VH и низкого VL уровней напряжения среднее значение на выходе ШИМ изменяется. Если соотношение между длительностями обоих уровней удерживать постоянным, то в результате будет генерироваться постоянный уровень напряжения VAV. Рисунок 2 показывает сигнал с широтно-импульсной модуляцией.
Рисунок 2. Генерация уровня постоянного
напряжения
Уровень напряжения определяется выражением:
(3)
Синусоидальный сигнал может генерирован при условии, что среднее значение напряжения, генерируемого широтно-импульсной модуляцией будет изменяться каждый период ШИМ. Соотношение между высоким и низким уровнями должно задаваться в соответствие с уровнем напряжения синусоидального сигнала при соответствующем времени. На рисунке 3 иллюстрируется данный процесс. Исходные данные для ШИМ вычисляются для каждого ее периода и записываются в таблицу преобразования (ТП).
Рисунок 3 также иллюстрирует зависимость между частотой основного синусоидального сигнала и количеством выборок. Чем выше число выборок (Nc) – тем выше точность моделирования результирующего сигнала:
(4)
Частота ШИМ зависит от разрешающей способности ШИМ. При 8-разрядном разрешении, конечное значение (вершина счета) таймера равно 0xFF (255). Т.к. таймер выполняет счет в прямом и обратном направлениях, то данное значение должно быть удвоено. Поэтому, частота ШИМ может быть вычислена путем деления тактовой частоты таймера f CK на 510. Таким образом, при частоте тактирования таймера 8 МГц результирующая частота ШИМ составит 15.6 кГц.
Рисунок 3. Генерация синусоидального сигнала с
использованием ШИМ
Предположим, что синусоидальные выборки считываются из таблицы преобразования не последовательно, а через одну. В этом случае при той же частоте чтения выборок будет генерироваться сигнал с удвоенной частотой (см. рисунок 4).
Рисунок 4. Удвоение результирующей частоты (XSW =
2)
По аналогии, если считывать не каждое второе значение, а каждое третье, четвертое, пятое (соответственно, ширина шага 3, 4, 5…) и т.д. можно генерировать Nc-частот в диапазоне . Обратите внимание, что для высоких частот результирующая форма сигнала не будет синусоидальной. Ширину шага по таблице преобразования обозначим как X SW , где
(5)
Вычисление текущей позиции в ТП для следующего периода ШИМ (при переполнении таймера) выполняется с помощью выражения (6). Новое значение в позиции X LUT зависит от его предыдущего состояния в позиции X» LUT с прибавлением ширины шага X SW
(6)
Сложение разных частот для получения DTMF-сигнала
DTMF-сигнал может быть сгенерирован с помощью выражений (1) и (2). Для простоты арифметических действий значение коэффициента К принимается равным 0.75, чтобы арифметическое действие заменить логическими сдвигами. С учетом выражения (6) текущее значение для управления ШИМ может быть вычислено по выражению:
а с учетом, что X LUTa =X» LUTa + X SWa ,X LUTb =X» LUTb + X SWb , окончательно запишем
Реализация DTMF-генератора
В данном приложении рассматривается построение DTMF тонального генератора с использованием выхода 8-разрядной ШИМ (OC1A) и таблицы с 128 выборками значений синусоидальной функции (Nc), каждая из которых задается 7 битами (n). Следующие выражения показывают эту зависимость, а также показывают как вычислить элементы таблицы преобразования:
(9)
Преимуществом использования 7 бит является то, что сумма значений сигналов высокой и низкой частоты имеет размер одного байта. Для поддержки полного набора DTMF-тонов необходимо вычислить 8 значений для каждой DTMF-частоты из таблицы 1 и занести их в таблицу преобразования.
Для достижения более высокой точности выполнено следующее решение: значения, вычисленные по выражению 5 требуют всего 5 байт. Для использования всех 8 байт, что позволит уменьшить погрешность округления, это значение умножается на 8. Указатель на таблицу преобразования записывается таким же способом. Но в этом случае требуется два байта для запоминания 8-кратного значения. Это означает, что необходимо выполнить 3 правосторонних сдвига и операцию модуля по основанию Nc (логическое умножение на Nc-1) перед использованием этих байт как указателя на значения синусоиды в
Рисунок 5. Схема модуля для подключения к
STK500
ШИМ-сигнал формируется на выводе OC1A (PD5). Дополнительный выходной фильтр будет способствовать большему соответствию синусоидальной форме сигнала. При уменьшении частоты ШИМ может возникнуть необходимость применения фильтра с более крутой АЧХ для получения хорошего результата.
Подключение клавиатуры показано на рисунке 1. Работа клавиатуры должна быть организована таким образом, чтобы была возможность определения нажатой клавиши. Это может быть выполнено по следующему алгоритму:
- Определение строки нажатой клавиши
- настроить младшую тетраду порта В на выход и установить лог. «0»
- настроить старшую тетраду порта В на вход с подключением подтягивающих резисторов
- строка с нажатой кнопкой определяется как разряд старшей тетрады с лог. «0»
- Определение столбца нажатой клавиши
- настроить старшую тетраду порта В на выход и установить лог. «0»
- настроить младшую тетраду порта В на вход с подключением подтягивающих резисторов
- столбец с нажатой кнопкой определяется как разряд младшей тетрады с лог. «0»
Прим.: В STK200 между выводами разъема PORTB и выводами микроконтроллера BP5, PB6 и PB7 включены последовательно резисторы (см. схему STK200). Это вызовет проблемы если клавиатура подключена к разъему PORTB.
Рисунок 6 иллюстрирует работу подпрограммы по определению нажатой клавиши. В зависимости от нажатой клавиши определяется длительность интервала. Процедура обработки прерывания использует это значение для вычисления установок ШИМ для двух синусоид DTM-тона. Процедура обработки прерывания показана на рисунках 7 и 8.
Эта процедура вычисляет значение для сравнения с выходом таймера на следующий период ШИМ. Процедура обработки прерываний сперва вычисляет позицию значения следующей выборки в таблице преобразования и считывает сохраненное там значение.
Позиция выборки в таблице преобразования определяется длительностью импульса, а собственно длительность импульса определяется генерируемой частотой.
Окончательное значение, которое записывается в регистр сравнения таймера, определяется с использованием формулы (7), где учитываются значения выборок обеих DTMF-частот.
Рисунок 6. Блок-схема основной программы
Рисунок 7. Блок-схема процедуры обработки
прерывания по переполнению таймера
Рисунок 8. Блок-схема процедуры чтения выборки
«GetSample»
Публикация: www.cxem.net
Смотрите другие статьи раздела .
Генераторы прерывистого тонального сигнала (LM555)
Схемы генераторов прерывистого тонального сигнала, выполнены на микросхемах LM555, несклько различных вариантов для разного применения.
Принципиальная схема
Выполнить генератор прерывистого тонального сигнала можно по схеме на рис. 1. Он позволяет управлять началом работы схемы подачей питающего напряжения на вход DA1/4.
Но в тех случаях, когда для работы устройства необходимо использовать два таймера, удобнее взять микросхему, уже имеющую их в одном корпусе.
Рис. 1. Выполненный на двух таймерах генератор прерывистого сигнала.
Варианты генераторов на сдвоенном таймере
Варианты генераторов, выполненных на сдвоенном таймере, показаны на рис. 2 и 3. Включение таймера в режиме генератора симметричных импульсов (рис. 5.4, б) позволяет сократить число необходимых элементов. Эти схемы являются универсальными — имеется возможность регулировать частоту звука и интервал повторения в широком диапазоне.
На рис. 3 приведена схема генератора, вырабатывающего сигнал для работы звонка тёлефонного вызова с интервалами в 10 с. Для этого использован низкочастотный повышающий напряжение трансформаторе 12 до 70…100 В.
Рис. 2. Схемы генераторов прерывистого тонального сигнала: а — вариант 1,6 — вариант 2.
Рис. 3. Схема генератора прерывистого сигнала для работы телефонного звонка.
Формирователь прерывистого звукового сигнала
Самый простой формирователь прерывистого звукового сигнала можно выполнить и на одиночном таймере, если воспользоваться любым мигающим светодиодом. Например, светодиоды L-36B, L-56B, L-456B и некоторые другие уже имеют внутри прерыватель (они выпускаются с разным цветом свечения).
Включать светодиод надо так, как это показано на рис. 4. В этом случае частота чередования пачек полностью зависит от параметров примененного светодиода.
Обычно их период мигания находится в Интервале 0,5…1 с. Для устройств сигнализации этого вполне достаточно. Частота заполнения пачек (звуковым сигналом) зависит от номиналов элементов C1-R1.
Рис. 4. Формирователь прерывистых пачек импульсов.
Рис. 5. Формирователь прерывистых импульсов без использования задающего конденсатора.
Рис. 6. Схема генератора НЧ сигнала с уменьшающейся частотой.
Литература: Радиолюбителям: полезные схемы, Книга 5. Шелестов И.П.
| Характеристики передатчика NF-308 | |
| Максимальная дистанция обнаружения | 2000 м |
| Максимальная дистанция картирования кабельной топологии (карты прокладки кабелей) | 1000 м |
| Диапазон измерений длины витой пары | 1 ~ 350 м / 3 ~ 200 футов |
| Погрешность измерений диапазона длины витой пары | 5 % |
| Погрешность калибровки | 3% (± 0.5 м / ± 0.5 фута) |
| Длина калибруемого кабеля | > 5 м |
| Погрешность измерений | 5% (± 0.5 м / ± 1.5 фута) |
| Результат измерений | в метрах, футах |
| Калибровка длины | пользователь может самостоятельно выбрать калибровочный образец известной длины, но не менее 5 м |
| Максимальный рабочий ток | 70 мА |
| Частота генерируемого сигнала | 225 Гц |
| Тональный режим | 2-х тоновый генератор |
| Уровень выходного сигнала | 15 Вп-п |
| Защита от повышенного напряжения | АС < 60 В DC < 42 В |
| Типы тестируемого / обнаруживаемого кабеля | витая пара STP/UTP CAT-5E, CAT-6, коаксиальный кабель, телефонный кабель, USB кабель и другие металлические проводники |
| Режим работы тестера | OFF: режим тестирования кабелей и соединений SCAN: режим обнаружения проводника |
| Проверка ошибок | разрыв цепи, короткое замыкание, обратное соединение, перекрестная наводка |
| Дисплей | 4 х 16-символьный ЖК-дисплей, видимое поле — 61.6 х 25.2 мм, подсветка |
| Автоматическое отключение | при отсутствии активных действий в течении 30 мин |
| Тип батареи питания | батарейка типа «КРОНА» (6F22) 9 В |
| Габаритные размеры | 185 x 105 x 50 мм |
| Разъемы | MAIN (M), LOOPBACK (L), BNC, RJ45, RJ11, USB Type — A |
| Характеристики приемника NF-308S | |
| Частота генерируемого сигнала | 225 кГц |
| Максимальный рабочий ток | 70 мА |
| Максимальное удаление | 300 м |
| Оповещение | звуковое |
| Тип батареи питания | батарейка типа «КРОНА» (6F22) 9 В |
| Габаритные размеры | 218 x 46 x 29 мм |
| Характеристики дистанционного датчика NF-308 | |
| Подключение датчика | до 8 дистанционных датчиков |
| Разъемы | RJ45 (R), BNC |
| Габаритные размеры | 84 х 34 х 27 мм |
| Возможности | измерение длины витой пары, калибровка длины, обнаружение ошибок прокладки или соединения, обнаружение нужной линии, проверка целостности кабеля, определение короткого замыкания, обрыва кабеля, расщепленных пар, трассировка и идентификация кабельных линий |
| Общие характеристики | |
| Рабочая температура | -10°С ~ +60°С |
| Вес | 600 г |
| Комплектация | тестер NF-308 — 1 шт беспроводной приемник — 1 шт терминальный датчик — 1 шт кабель-переходник RJ45 – RJ45 (патч-корд) — 1 шт кабель-переходник RJ11 – патч-корд RJ11 (патч-корд) — 1 шт кабель-переходник RJ11 – крокодилы — 1 шт наушники — 1 шт сумка-чехол на ремне — 1 шт |
| bb) содействовать созданию […] у женщин и девочек положительного представления о профессиональной деятельности в области науки […]и техники, в том числе в средствах массовой информации и социальных средствах информации и через информирование родителей, учащихся, преподавателей, консультантов по вопросам профориентации и разработчиков учебных программ, а также посредством разработки и расширения других стратегий, призванных стимулировать и поддерживать их участие в этих областях daccess-ods.un.org |
(bb) Promote a positive image […] of careers in science and technology for women and girls, including in the mass media and […]social media and through sensitizing parents, students, teachers, career counsellors and curriculum developers, and devising and scaling up other strategies to encourage and support their participation in these fields daccess-ods.un.org |
| Эта опция меню будет доступна после установки CD/DVD/BD—ROM-привода в NMT, или при подключении внешнего USB-привода CD/DVD/BD—ROM. popcornhour.es |
This option will only be accessible when a CD/DVD/BD-ROM drive has been installed into or attached to your NMT. popcornhour.es |
| Политика управления денежными средствами Компании ограничивает суммы финансовых активов, которые можно содержать в каком-либо из банков, в зависимости от размера капитала уровня такого банка и его долгосрочного кредитного рейтинга, присвоенного агентством Standard & Poors (например, не более 40% для банка с рейтингом «BB» на 31 декабря 2010 года). kmgep.kz |
The Company’s treasury policy limits the amount of financial assets held at any one bank to the lower of a stipulated maximum threshold or a percentage of the bank’s Tier I capital, which is linked to the banks long term counterparty credit rating, as measured by Standard and Poor’s rating agency, (e.g. not greater than 40% for a BB rated bank at December 31, 2010). kmgep.kz |
| BD выпускается в строгом соответствии с техническими условиями, все аудио могут быть расшифрованы вывода см. в разделе BD RIP, BD ISO треков были совершенны следующего поколения выходе источника macbook-covers.net |
BD produced in strict accordance with specifications, all the audio can be decoded output, see BD RIP, BD ISO tracks were perfect the next generation of source output macbook-covers.net |
| bb) меморандум о взаимопонимании […] между национальным управлением Румынии по противодействию отмыванию денежных средств и […]секретариатом по противодействию отмыванию денег и имущества Парагвая о сотрудничестве в области обмена данными финансовой разведки об отмывании денег и финансировании терроризма, подписанный в Бухаресте, декабрь 2008 года, и Асунсьоне, декабрь 2008 года daccess-ods.un.org |
(bb) Memorandum of understanding […] between the Romanian National Office for Preventing and Combating Money-laundering and […]the Paraguayan Secretariat for Prevention of Money-laundering or Property on cooperation in financial intelligence exchange related to money-laundering and terrorist financing, signed in Bucharest, December 2008, and in Asunción, December 2008 daccess-ods.un.org |
В состав Совета войдут также заместитель Генерального директора по вопросам социальных и гуманитарных наук (ADG/SHS), […] […] директор Бюро стратегического планирования (DIR/BSP), директор Бюро бюджета (DIR/BB), директор Бюро информации общественности (DIR/BPI) и – в зависимости от темы […] […]и потребностей всемирного доклада – еще один заместитель Генерального директора по одному из программных секторов. unesdoc.unesco.org |
Other members will be ADG/SHS, DIR/BSP, DIR/BB, DIR/BPI and – subject to the specific theme and exigencies of a world report – another Programme Sector ADG. unesdoc.unesco.org |
Еще больше положение компании в […] […] глазах рынка было ухудшено решением рейтингового агентства S&P поместить кредитный рейтинг ENRC BB+ на “credit watch negative”, что подразумевает повышенную вероятность падения рейтинга компании в ближайшие […]три месяца. halykfinance.kz |
To make things even worse, S&P placed ENRC’s BB+ credit rating on “credit watch negative”, which implies a higher probability of a downgrade into junk territory over the next three months. halykfinance.kz |
C. Согласившись с […] тем, что BSP и BB следует отнести […]к одному структурному элементу и так же, как BFC, они непосредственно […]связаны с программой, эти члены Группы сочли, что по своему характеру эти службы обеспечивают выполнение программы и поэтому должны фигурировать в Части III бюджета вместе с Бюро по управлению людскими ресурсами (HRM). unesdoc.unesco.org |
C. While agreeing that BSP […] and BB should be placed together […]and, with BFC, were directly linked to programme, they considered […]that this was in a programme support capacity and that these services should therefore figure under Part III of the budget along with HRM. unesdoc.unesco.org |
| В июне 2012 года Международным рейтинговым агентством Fitch Ratings повышены долгосрочные рейтинги Краснодарского края, а также выпуски облигаций в иностранной и национальной валюте с уровня BB до BB+. pwc.ru |
In June 2012 international ratings agency Fitch Ratings upgraded the long-term ratings for Krasnodar Territory, as well as foreign and national currency long-term issuer default ratings from ‘BB’ to ‘BB+’, and affirmed Krasnodar’s short-term rating at ‘B’. pwc.ru |
| Долгосрочный рейтинг в иностранной и национальной валюте подтвержден на уровне «BB». telecom.kz |
The long-term rating in foreign and national currency was confirmed at “BB” level. telecom.kz |
| 1BB 2 b iii 2 Добыча Летучие выбросы (исключая удаление газа и сжигание в факелах) из газовых скважин через входные отверстия на устройствах переработки газа или, если обработка не требуется, в точках стыковки систем транспортировки […] газа. ipcc-nggip.iges.or.jp |
1B 2 b iii 2 Production Fugitive emissions (excluding venting and flaring) from the gas wellhead through to the inlet of gas processing plants, or, where processing is not required, to the tie-in points on gas transmission systems. ipcc-nggip.iges.or.jp |
| Модели BJ и BB стали первыми марками холдинга […] Mack, построенными под влиянием новых транспортных веяний — машины способные […]перевозить более тяжелые и объемные грузы с большей скоростью. trucksplanet.com |
The Models BJ and BB were the first trucks of Mack […] Company, built under the influence of new transport trends — machines […]capable of carrying heavy and bulky loads with greater speed. trucksplanet.com |
В мае 2012 года рейтинговое агентство Fitch Rating повысило долгосрочные рейтинги Новосибирской […]области в иностранной и национальной […] валюте с уровня «BB» до «BB+», а также долгосрочный […]рейтинг по национальной шкале – […]с уровня «AA-(rus)» до «AA(rus)». pwc.ru |
In May 2012, Fitch Ratings changed its long-term rating for the Novosibirsk […]Region (in foreign and local currency) […] from BB to BB+, and its long-term national-scale […]rating from AA-(rus) to AA(rus). pwc.ru |
| Вторая категория (BBB, BB, B) — стартап имеет готовый […] или почти готовый (тестирующийся) продукт и начал привлекать первых […]клиентов, однако пока не демонстрирует высоких темпов роста клиентской базы и доходов. digitaloctober.ru |
Second category (BBB, BB, B) — the startup has […] a finished or almost finished (at the testing stage) product and has started […]attracting its first clients, but has not get demonstrated a high income or client base growth rate. digitaloctober.com:80 |
16.11.2009 МРСК Центра присвоен […] кредитный рейтинг S&P «BB—/B/ruAA-» прогноз «Стабильный», […]свидетельствующий о способности […]и готовности Компании своевременно и в полном объеме выполнять свои финансовые обязательства. euroland.com |
16.11.2009 IDGC of […] Centre was assigned a BB-/B/ruAA— credit rating […](“Stable”) by S&P, thus testifying to the Company’s capability […]and readiness in the performance of its financial obligations. euroland.com |
| Международное рейтинговое агентство Fitch повысило приоритетный необеспеченный рейтинг эмиссии еврооблигаций TNK-BP International Ltd /ТНК-ВР/ на сумму 700 млн долл. с уровня «BB+» до «BBB-, а также приоритетный необеспеченный рейтинг гарантированной программы по выпуску долговых обязательств объемом 5 млрд долл. и существующего выпуска облигаций в рамках программы в размере 1,5 млрд долл. с уровня «BB+» до «BBB-. tnk-bp.com |
The international rating agency Fitch raised the priority unsecured rating of the issue of eurobonds of TNK-BP International Ltd. (TNK-BP) by $700 million from the level BB+ to BBB- and the priority unsecured rating of the issue of debt securities for $5 billion and the current issue of bonds for program implementation for $1.5 billion from the level BB+ to BBB-. tnk-bp.com |
| Используйте сигнал BB или синхронизирующий сигнал уровня HDTV 3 в качестве […] внешнего синхронизирующего сигнала. service.jvcpro.eu |
Make use of BB signal or HDTV 3 level synchronizing signal as the external […] synchronizing signal. service.jvcpro.eu |
| bb) должны быть упакованы […] в закрытые контейнеры, которые были официально опечатаны и имеют регистрационный номер зарегистрированного […]питомника; этот номер должен быть также указан в фитосанитарном сертификате в разделе «Дополнительная декларация. fsvfn.ru |
bb) be packed in closed containers […] which have been officially sealed and bear the registration number of the registered […]nursery; this number shall also be indicated under the rubric “Additional Declaration” on the Phytosanitary Certificate. fsvfn.ru |
| bb) Место производства, свободное […] от вредного организма – место производства, где данный вредный организм отсутствует, и […]где оно официально поддерживается, cc) Участок производства, свободный от вредного организма — Определённая часть места производства, для которой отсутствие данного вредного организма научно доказано, и где в случае необходимости оно официально поддерживается в течение определённого периода времени, и которая управляется как отдельная единица, но таким же образом, как и свободное место производства. fsvfn.ru |
bb) Pest free place of production […] denotes to a place of production where a specific type of pest is not present and the […]place is officially protected, 3 cc) Pest free production site denotes to a production area where a specific type of pest is not present and this status is officially protected for a certain period of time and to a certain part of production area administered as a separate unit as in the case of place of production free from pests. fsvfn.ru |
После того как вы загрузите изображение, вы […]сможете поместить его в своих сообщениях, […] используя специальный BB код, который отображается […]под изображением при просмотре на полный экран. forum.miramagia.ru |
When you have uploaded a picture, you can place it in your […] posts by using the BB code text that is displayed […]below the image when you view it at full size. forum.miramagia.com |
В нее входят 6 базовых […] шасси с дополнительным индексом BB и колесными формулами 4×4, 6х6 и 8×8 (модели от 16.33ОBB до 41.460BB) с полезной нагрузкой 8-27 т и […]рядными 6-цилиндровыми […]двигателями мощностью 326-460 л.с. Эту гамму замыкают седельные тягачи BBS (6×6/8×8) с допустимой нагрузкой на седло от 12 до 30 т, приспособленные для работы в составе автопоездов полной массой до 120 т и развивающие максимальную скорость 90 км/ч. Их оснащают 660-сильным дизелем V10, а наиболее тяжелые машины комплектуют автоматизированной 12-ступенчатой коробкой передач ZF. trucksplanet.com |
It has a bolster payload from 12 to 30 […]tons and GCVW is up […] to 120 tons. Maximum speed is 90 km/h. The semi-tractors are equipped with a 660 hp diesel engine V10, and the most heavy trucks are […]used an automatic 12-speed transmission ZF. trucksplanet.com |
S&P также понизило оценку риска перевода и […]конвертации валюты для украинских […] несуверенных заемщиков с «BB» до «BB—», однако подтвердило краткосрочные […]рейтинги Украины по […]обязательствам в иностранной и национальной валюте на уровне «В», рейтинг по национальной шкале «uaAA» и рейтинг покрытия внешнего долга на уровне «4». ufc-capital.com.ua |
S&P also downgraded the risk of currency transfer and […]conversion for Ukrainian non-sovereign […] borrowers from BB to BB-, but confirmed the short-term ratings […]of Ukraine for liabilities […]denominated in foreign and domestic currencies – at B level, its national scale rating — uaAA and foreign debt coverage rating – at the level 4. ufc-capital.com.ua |
| Для целей повышения безопасности и защиты корпоративной информации, СКУД bb guard является не просто профессиональным устройством контроля доступа с распознаванием лица, а предоставляет возможность интеграции как с системой bb time-management (с последующим формированием различных отчетов о посещаемости сотрудников […] для целей финансовой мотивации), […]так и c третьими устройствами, такими как: электрические замки, сигнализация, датчики и т.д. moscow-export.com |
In order to increase security of corporate information, bb guard is not only a professional device for access control with face recognition, it also presents the possibility of integration with system bb time-management (with subsequent formation of various reports of staff attendance for their motivation) […] and with outside devices such as electric locks, alarms, sensors, etc. moscow-export.com |
ADM/DCO будет также тесно […] сотрудничать с BSP, BB, HRM и ADM/ DIT в целях […]обеспечения эффективной интеграции между системой […]SISTER, планируемой системой управления информацией о людских ресурсах и системой FABS. unesdoc.unesco.org |
ADM/DCO will also be working […] closely with BSP, BB, HRM and ADM/ DIT to make […]sure that there is seamless integration between […]SISTER, the planned Human Resources Information Management System and FABS. unesdoc.unesco.org |
Оба этих варианта добавляют связь к оригинальному сообщению, […]показывая имя автора, дату и время […] сообщения, в то время как BB Код тэг Цитировать указывает […]нужное сообщение без этой дополнительной информации. ipribor.com.ua |
Both these options add a link to the original post showing the name of the poster and the date and […]time of the post, whereas the […] Bulletin Board Code quote tag simply quotes the relevant post […]without this additional information. ipribor.com |
Самостоятельная […]финансовая позиция Самрук-Энерго на […] уровне рейтинговой категории BB отражает преимущество вертикальной […]интеграции, так как деятельность […]компании включает весь процесс выработки энергии, начиная от добычи угля и заканчивая генерацией и распределением электрической и тепловой энергии. halykfinance.kz |
SE’s standalone business and financial profile […] is assessed at BB rating category, which benefits […]from its vertical integration as its […]activities range from coal mining to generation and distribution of power and heat. halykfinance.kz |
Насос типа MSD имеет самый широкий спектр гидравлических характеристик из всех […] многоступенчатых насосов класса BB3 на рынке.sulzer.com |
The MSD pump has the broadest […] hydraulic coverage of any BB3 type multistage pump […]in the market. sulzer.com |
| bb) проводить регулярный […] обзор процесса дальнейшего осуществления Пекинской платформы действий и в 2015 году в установленном […]порядке собрать все заинтересованные стороны, включая гражданское общество, для оценки прогресса и проблем, уточнения задач и рассмотрения новых инициатив через 20 лет после принятия Пекинской платформы действий daccess-ods.un.org |
(bb) To review regularly […] the further implementation of the Beijing Platform for Action and, in 2015, to bring together all […]relevant stakeholders, including civil society, to assess progress and challenges, specify targets and consider new initiatives as appropriate twenty years after the adoption of the Beijing Platform for Action daccess-ods.un.org |
Также нельзя не упомянуть, что серьезным прорывом Банка стало получение самого высокого рейтинга среди всех частных банков страны со 100%-ным местным капиталом (одновременно это и второй лучший рейтинг среди всех частных банков Азербайджана) от […]международного рейтингового агентства Standard & […] Poor’s — долгосрочный ‘BB—‘ и краткосрочный […]‘B’, прогноз изменения рейтинга — «стабильный». pashabank.az |
It should be also noted that receiving highest rating among all private banks of the country with 100 % local capital (simultaneously ranking second in rating among all private banks of Azerbaijan) from the […]International Rating Agency Standard & […] Poor’s: long-term and short-term BB— B with […]«stable» outlook has become a significant breakthrough of the Bank. pashabank.az |
В свою очередь, основание извещателя […] […] должно быть установлено в корпусе для установки в подвесной потолок FAA‑500‑BB или в коробке для установки на поверхность потолка FAA‑500‑SB.resource.boschsecurity.com |
In addition, the detector base must be installed in an FAA‑500‑BB Ceiling Mount Back Box or in an FAA‑500‑SB Surface Mount Back Box. resource.boschsecurity.com |
«Очищает» ли мозг пациентов с болезнью Альцгеймера прослушивание тона 40 Гц? «Надеюсь, это поможет
В 2012 году я создал тональный генератор на базе Интернета, чтобы помочь пациентам с тиннитусом определить частоту тиннитуса для лучшей целевой терапии. С тех пор я слышал от людей, использующих мой генератор для обучения физике, занятий на скрипке, отгонки плотников, настройки динамиков DIY, анализа акустики комнаты, калибровки старинных синтезаторов, причинения вреда в классе частотами, которые учитель не может слышать, и даже открыть портал в Седону, Аризона.Я далек от того, чтобы отказываться от всех этих полезных приложений, но на прошлой неделе я получил сообщение от Денниса Таффина (из Девона, Англия), в котором описывается новое применение моего генератора, которое вполне может превзойти все остальное:
Последние 7 недель я использовал ваш тон-генератор для цели, о которой я не думал, что вы предусмотрели, но которая, я уверен, вам будет интересно.
Я следил за некоторыми исследованиями, которые проводили мои дочери по лечению болезни Альцгеймера с помощью источника мерцающего света с частотой 40 Гц или, альтернативно, источника звука с частотой 40 Гц.В сети очень мало информации об этих экспериментах, хотя есть недавняя статья об этом. [ здесь Деннис имеет в виду эту статью ]
Итак, я пробовал звуковую терапию на моей жене, которая находится на поздней стадии болезни Альцгеймера, и, к моему удивлению, через 8 дней у нее начали проявляться небольшие признаки того, что она стала более умственно бдительной, чем раньше. Поэтому я продолжал использовать ваш тон-генератор, используя синусоидальную волну 40 Гц в течение примерно часа каждый день. (Недавно я начал делать это дважды в день для немного более коротких сессий).Я обнаружил, что необходимо подключить к ноутбуку внешние динамики, чтобы улавливать такую низкую ноту и воспроизводить ее на уровне 46-54 децибел, чтобы она слышала ее, где бы она ни находилась в комнате. (Больные слабоумием очень нервничают!). Итак, теперь 7 недель улучшения ее осведомленности продолжились до такой степени, что она начала иметь возможность складывать несколько слов и отвечать на вопросы, ни один из которых она не могла делать в течение почти года. Ее странные физические привычки до сих пор не изменились, но она определенно лучше ходит и не шаркает ногами, как раньше.Удивительно, но она также лучше спит и не так сильно страдает от проблемы апноэ во сне, которая у нее всегда была.
Установка, используемая Деннисом. Черный ящик слева — это внешний динамик.
Конечно, я ожидаю, что этому прогрессу будет предел, так как за 8 лет, прошедших с тех пор, как моей жене был впервые поставлен диагноз, ее мозг значительно сократился, поэтому я не ожидаю, что ее память вернется, но, с другой стороны, качество жизни моей жены изменилось. был улучшен.
На сегодняшний день я не публиковал информацию об этом, и только близкие родственники знали об этом, но к концу следующей недели, когда пройдет 8 недель с момента нашего начала, я думаю, что хотел бы рассказать об этом и, надеюсь, побудить нескольких профессионалов сделать больше правильное исследование.
Наука до сих пор
- Было известно, по крайней мере, с 1980-х годов, что когнитивная активность запускает мозговые волны (волнообразные модели активации), с частотой 40 Гц, у людей и других млекопитающих.
- В 1991 году исследователи из Медицинского центра Нью-Йоркского университета обнаружили, что пациентов с болезнью Альцгеймера уменьшили мозговые волны 40 Гц на по сравнению со здоровыми людьми. (платная бумага)
- В 2016 году группа Альцгеймера Массачусетского технологического института проводила эксперименты на трансгенных мышах с ранней болезнью Альцгеймера и обнаружила, что воздействие на них светового мерцания с частотой 40 Гц (40 раз в секунду) в течение 1 часа в день в течение 7 дней вызывает почти 60% уменьшение β-амилоидных бляшек, которые являются молекулярным признаком болезни Альцгеймера.Мерцание на частоте 20 Гц и 80 Гц не имело такого же эффекта. Важным уточнением здесь является то, что эффект был ограничен зрительной корой головного мозга, которая не подвергается значительному влиянию у пациентов с болезнью Альцгеймера. Вот доступный письменный отчет в The Atlantic, а вот оригинальная статья (опубликованная в Nature), если вы сильны в науке. MIT также снял видео о результатах.
- В марте 2016 года ученые из Университета Торонто опубликовали результаты небольшого плацебо-контролируемого пилотного исследования (платная статья), в котором они подвергли 20 пациентов с болезнью Альцгеймера звуку с частотой 40 Гц.После шести 30-минутных сеансов (проводимых дважды в неделю) средний балл пациентов по 30-балльной шкале SLUMS улучшился на 4 балла, тогда как в группе плацебо не улучшился. Следует отметить, что «дозировка» лечения была довольно низкой, что может объяснить скромные результаты.
- В январе 2017 года Cognito Therapeutics, компания, созданная некоторыми членами команды Массачусетского технологического института, начала проводить предварительные испытания для оценки безопасности одновременного воздействия на пациентов с БА мерцающего света, звукового сигнала и вибрации — все с частотой 40 Гц.
- В январе 2018 года New Scientist сообщил (платная статья), что та же команда MIT достигла еще лучших результатов, воспроизводя мышам звук 40 Гц . β-амилоидные бляшки уменьшились примерно на 50% в слуховой коре и, что особенно важно, в гиппокампе, возможно, потому, что эти две области расположены близко друг к другу. Это было бы очень важным открытием, потому что гиппокамп — это область мозга, которая участвует в формировании воспоминаний. Гиппокамп больше всего страдает у людей с болезнью Альцгеймера.Согласно журналу, эти результаты были представлены на конференции Общества нейробиологии в Вашингтоне в ноябре 2017 года. Однако в опубликованной статье описан существенно другой протокол (см. Ниже), поэтому вполне вероятно, что New Scientist не получил подробностей. верно.
- В июле 2018 года Международный журнал болезни Альцгеймера опубликовал результаты пилотного исследования, в котором 6 пациентов подвергались воздействию мерцающей лампочки с частотой 40 Гц в течение 2 часов в день в течение 10 дней.Терапия проводилась в домашних условиях опекунами пациентов. Не было обнаружено различий в уровне β-амилоидных бляшек после терапии. Если был эффект, он должен был быть меньше 20%, что несопоставимо с 50% -ным снижением, наблюдаемым у мышей.
- В марте 2019 года Cell опубликовала еще одну (платную) статью о другом исследовании, проведенном группой MIT. Вот статья об этом в New York Times. Вот основные моменты:
- После того, как мыши подвергались (в течение 7 дней, 1 час в день) серии щелчков, повторяющихся с частотой 40 Гц, количество амилоидных бляшек в их слуховой коре и гиппокампе уменьшилось примерно на 40% .Мыши также лучше справлялись с несколькими задачами, связанными с использованием памяти.
- Щелчки представляли собой волны 10 кГц, длительностью 1 миллисекунду, повторяющиеся 40 раз в секунду (каждый цикл имел тон длительностью 1 мс, за которым следовали 24 мс тишины). В беседе со мной один из авторов статьи сказал, что чистые тона 40 Гц не использовались, потому что мыши не могут слышать тоны такой низкой частоты.
- Когда эта слуховая обработка была объединена со световыми импульсами с частотой 40 Гц, микроглия («клетки-очистители мозга») начала скапливаться вокруг амилоидной бляшки, и ее уменьшение распространилось на части префронтальной коры (область, связанная с такими функциями, как внимание и короткое замыкание). -срочная память).Этот эффект не наблюдался ни при звуковой, ни при световой обработке.
- В 2018 году Cognito Therapeutics начала три клинических испытания своего устройства (названного «GammaSense»), которое сочетает в себе визуальную и слуховую стимуляцию. Устройство по сути представляет собой светодиодные очки с накладными наушниками.
- [NEW] В 2019 году группа доктора Цая из Массачусетского технологического института начала два небольших испытания еще одного устройства — белого экрана, освещенного светодиодами, мигающими с частотой 40 Гц, в сочетании со звуковой панелью, издающей «жужжащий» или «гудящий» звук с частотой 40 Гц.Вот краткое изложение презентации доктора Цая по этому поводу, а вот страницы двух испытаний на ClinicalTrials.gov.
- [NEW] В апреле 2021 года на конференции AD / PD компания Cognito представила предварительные результаты испытаний GammaSense, в первую очередь испытания Overture (новость с сайта NJ.com), которое предназначено для оценки эффективности. 46 пациентов с болезнью Альцгеймера получали ежедневные 60-минутные сеансы с устройством GammaSense в течение 6 месяцев. Контрольную группу составили 28 пациентов, получавших фиктивное лечение (т.е. похожее на плацебо устройство, которое не должно делать ничего). Похоже, что это исследование отвечает всем критериям для хорошего научного исследования: оно рандомизированное и многоцентровое. Хотя это не строго двойной слепой метод, испытуемые, лица, осуществляющие уход за ними, и люди, оценивавшие когнитивные функции пациентов, были слепыми (то есть они не знали, кто получал настоящее лечение, а кто притворство). Когда было объявлено об этом испытании, я написал, что оно было довольно маленьким, и он мог показать что-либо только в том случае, если устройство имело большой эффект.Что ж, результаты явно неоднозначны, , и я могу довольно уверенно сказать, что GammaSense не оказал такого огромного эффекта, на который все надеялись. Не было существенной разницы между GammaSense и плацебо в 3 из 5 когнитивных тестов, использованных в исследовании, и GammaSense немного опередил в двух из них. Потеря мозговой ткани также, по-видимому, была медленнее в группе лечения, хотя это не должно ничего значить, учитывая, что контрольная группа была старше, чем группа лечения.Я определенно хотел бы увидеть настоящую, рецензируемую статью, а не просто презентацию — кто-то должен ознакомиться с работой Cognito и убедиться, что результаты статистически достоверны. Исследователи собрали ПЭТ-сканирование амилоида, спинномозговой жидкости и образцы крови, но еще не проанализировали их. Мне очень нравится, что оценивались когнитивные функции, а не только отложения амилоида — у нас уже есть экспериментальные препараты, которые удаляют β-амилоид, но ничего не делают, когда дело доходит до реальной деменции. Жаль, что результаты не оправдались.
- Cognito не сдается и объявила о другом, более крупном исследовании, которое должно начаться во второй половине 2021 года.
Дальнейшее чтение / прослушивание
Обновление от Денниса (март 2020 г.):
Я связался с Деннисом Таффином, чтобы узнать о его долгом опыте лечения 40 Гц. Вот его ответ:
Я дошел до того момента, когда узнал, что состояние моей жены ухудшается, поэтому через [около 8 месяцев] я отказался от звукового лечения.(…) Моя жена уже теряла словесные способности и решительно становилась медленнее в своих движениях, так что это не тот случай, когда прекращение лечения вызывало эти вещи, поскольку они уже происходили. Я был в восторге от этого, потому что, казалось, произошло заметное улучшение ее способностей за эти 8 или 9 месяцев, настолько заметное, что это отметили почти все, кого она знала. Так что я все еще уверен, что это помогло, хотя бы на ограниченный период времени, и я думаю, что также вероятно, что если бы его применяли с самого начала ее диагноза, это могло бы иметь еще более продолжительный эффект.Я все равно советую попробовать — ничего не стоит.
Деннис также рассказал мне, что недавно узнал, что его жена страдает сосудистой деменцией в дополнение к болезни Альцгеймера. Я упоминаю об этом, потому что этот факт может иметь некоторое отношение к эффективности звуковой терапии.
(Не пытайтесь использовать это дома)
Допустим, вас не отговаривают безрадостные результаты испытаний Cognito. Вы решили, что вам нечего терять, и хотите попробовать слуховую терапию своими руками.Какие тона использовать?
Деннис, читатель из Великобритании, пробудивший у меня интерес к этой теме, использовал чистый тон 40 Гц.
Согласно этой статье AlterNet (позже перепечатанной The Salon), чистый тон использовался в предварительном исследовании безопасности, проведенном Cognito в начале 2017 года.
Похоже, что в последнем опубликованном исследовании MIT на мышах использовались серии щелчков (несмотря на предыдущие отчеты), а не тонов. New York Times цитирует доктора Цая, работавшего над этим исследованием, который сказал, что «ваш мозг, кажется, способен воспринимать щелчки больше, чем тон», что, по-видимому, указывает на предпочтение, которое не является исключительным для мышей.Однако в ответ на мой запрос другой соавтор статьи, Хо-Джун Сок, сказал, что чистые тона 40 Гц не использовались, потому что мыши не могут слышать тоны такой низкой частоты.
New York Times и Boston Globe опубликовали статьи об исследовании мышей Массачусетского технологического института, включая ссылки на звуковые образцы стимулов, которые использовались исследователями. К сожалению, я обнаружил, что ни один из образцов не представляет точно звуковые волны, которые воспроизводились мышам. Щелчки в опубликованных сэмплах смазаны во времени (ближе к 2 мс) и не являются чистыми тонами 10 кГц.Хо-Джун Сок подтвердил, что они не соответствуют исходному сигналу. (Я не знаю, как NYT и Boston Globe смогли так сильно испортить файлы, но это не из-за сжатия — я пробовал его на том же кодировщике и тех же параметрах, которые использовались NYT, и это не искажало сигнала очень вообще.)
В этом отчете Alzforum за 2021 год слова «гул» и «гудение» (взаимозаменяемые) используются для описания звуков, используемых в двух продолжающихся испытаниях MIT устройства экран + звуковая панель.Это может указывать на то, что в этих испытаниях использовался чистый тон 40 Гц, поскольку серия щелчков не походила на гудение или жужжание. Более того, разумно предположить, что если бы исследователи хотели воспроизвести простую серию щелчков мыши, они бы использовали меньший и более экономичный динамик, а не то, что описывается как «звуковая панель высокого качества». Однако в той же статье используется слово «гудение» при обсуждении исследования мышей 2019 года, и мы знаем, что в нем использовались клики, а не тоны, поэтому нам следует быть осторожными в отношении того, сколько мы выводим из формулировок в этом конкретном отчете.
Если вы думаете об использовании щелчков, а не чистых тонов, я бы не рекомендовал использовать щелчки 10 кГц, потому что человеческие уши не очень чувствительны к этому диапазону спектра. Что-то вроде 3 кГц (где лучше всего работает человеческий слух), вероятно, было бы более разумным.
Было бы очень интересно узнать, какие звуки используются в продолжающихся сейчас испытаниях на людях. (Если вы участвуете в испытаниях или знаете кого-либо, кто в них участвует, сообщите об этом всем в разделе комментариев.)
Технические рекомендации по воспроизведению чистых тонов 40 Гц
Серия кликов особо не требовательна — играть можно на чем угодно. Если вы хотите попробовать воспроизвести чистый тон 40 Гц кому-то с болезнью Альцгеймера, вот несколько технических советов:
Получить тон 40 Гц легко — вы можете использовать мой генератор частоты. (Обратите внимание, что я не несу ответственности за чистоту воспроизводимого тона, поскольку он генерируется вашим веб-браузером — хотя я думаю, что это должно быть нормально.Кстати, я тоже не врач и не даю здесь медицинских советов и не предлагаю никаких медицинских продуктов.)
Вам потребуются приличные колонки. 40 Гц — это очень глубокий басовый тон — такой рокочущий тон, который вы чувствуете своим телом так же сильно, как слышите его. Маленькие динамики, такие как динамики ноутбуков или компьютерных компьютеров, не опускаются так низко. Если вы все равно попробуете, вы либо ничего не услышите, либо услышите в основном или только искажения. Что такое искажение? Это высокий жужжащий звук, который издают динамики, когда вы нажимаете на них слишком сильно.
Полочный динамик (фото: Д. Седлер)
Полочные колонки будут воспроизводить 40 Гц, но их выход на этой частоте будет значительно снижен, поэтому вам нужно будет значительно увеличить громкость, и они будут производить легко слышимые искажения. Поскольку ухо более чувствительно к высоким частотам, искажение может быть субъективно громче, чем основной тон 40 Гц (!), И может затруднить перенос звука, тем самым ограничивая громкость (и, возможно, терапевтический эффект).
Лучшее решение — качественный сабвуфер. В нем не будет искажений, но можно ожидать, что искажения будут в 2–3 раза тише, чем у полочных динамиков. Это даст вам максимально чистый звук. Если вас не интересует воспроизведение музыки, вы можете получить только сабвуфер (без каких-либо других динамиков) и подключить его к компьютеру или мобильному устройству.
Изящный трюк для усиления басов любого динамика заключается в том, чтобы разместить его у как можно большего количества стен .Для максимального усиления поместите громкоговоритель (и) на пол в трехстороннем углу между двумя стенами и полом — таким образом он будет прилегать к трем поверхностям.
Насколько важно качество звука? Сложно сказать. Деннис, кажется, добился отличных результатов с дешевыми компьютерными колонками. Неизвестно, в какой степени терапевтический эффект зависит от громкости или наличия искажения. С другой стороны, если вы используете маленькие колонки, не будет очевидно, воспроизводят ли они на самом деле 40 Гц или просто искажение — так что на всякий случай стоит приобрести что-то побольше.
Можно вместо этого использовать наушники? Трудно сказать с уверенностью, поскольку тон 40 Гц, воспроизводимый через ваши динамики, будет не только слышен вашими ушами, но и будет ощущаться всем вашим телом. В наушниках эффект строго слуховой. Однако до сих пор я не видел каких-либо конкретных научных причин, чтобы предположить, что это различие важно, и на самом деле наушники использовались в первоначальных исследованиях безопасности, проведенных по заказу Cognito. Если вы решили использовать наушники, убедитесь, что они могут работать с частотой 40 Гц .Наушники, которые поставляются с вашим смартфоном, вероятно, не подходят для этого. HeadRoom имеет базу данных графиков частотных характеристик высококачественных наушников, поэтому вы можете проверить, насколько громко данная модель на частоте 40 Гц. Хотите конкретную рекомендацию? Приобретите Koss Porta Pros (Amazon.com, Amazon.co.uk). Они справятся со своей задачей, это самые удобные наушники, которые я когда-либо использовал, и за 40 долларов они имеют огромную ценность.
Звоните для комментариев
Если вы или ваш близкий человек страдаете болезнью Альцгеймера и пробовали звуковую терапию 40 Гц, пожалуйста, поделитесь своим опытом — положительным или отрицательным — в разделе комментариев ниже.
подсказок от тиннитуса «Надеюсь, это поможет»
23 ноября у меня появился легкий шум в ушах. Я постоянно слышу в голове какой-то звук. Звук представляет собой средний свист или вой, похожий на то, что вы слышите через стену, когда ваш сосед пылесосит. Основная частота составляет около 1,1 кГц. Вот самое близкое, что я мог получить, пытаясь создать звук в своем тон-генераторе.
Громкость невысокая — звук заглушает холодильник у меня на кухне, звук текущей воды по трубам в ванной.Я часто слышу это на своем ПК (несколько очень тихих вентиляторов + тихий жесткий диск на 7200 об / мин) или во время разговора в тихой комнате, когда никто не разговаривает.
Поскольку я провел много времени за чтением и размышлениями о тиннитусе, я хочу поделиться некоторыми советами, которые помогли мне преодолеть первоначальный шок и вернуться к нормальной жизни. Многие советы в этом FAQ основаны на том, что я читал о ретренинге в ушах (TRT), ведущем клинически подтвержденном лечении шума в ушах.
Что вызывает шум в ушах?
Иногда шум в ушах является побочным эффектом приема определенных лекарств или другого состояния, например, накопления серы в ушах, ушной инфекции, гипертонии или заболевания височно-нижнечелюстного сустава (ВНЧС).
Чаще всего шум в ушах возникает после воздействия громкого шума. Основной механизм, по-видимому, заключается в том, что шум выбивает некоторые из ваших волосковых клеток (временно или навсегда). Это отключает сигнал слуховым нейронам в вашем мозгу, заставляя их сходить с ума. Как и в случае с большинством вещей, связанных с мозгом, детали того, как это происходит, плохо изучены.
Тиннитус, вызванный воздействием громкого шума, обычно проходит через несколько дней. Однако это также может стать долгосрочной проблемой.Длительный шум в ушах связан с потерей слуха. От 60 до 90% (в зависимости от источника) пациентов с тиннитусом в той или иной степени страдают потерей слуха. Однако это не верное объяснение тиннитуса, потому что у большинства людей с нарушением слуха нет шума в ушах, а значительный процент пациентов с тиннитусом имеет нормальный слух (особенно среди молодых людей).
Вот хороший обзор возможных причин тиннитуса от Американской ассоциации тиннитуса.
Когда у меня уйдет тиннитус?
Если вы недавно подвергались сильному шуму (например, ходили на концерт), у вас может быть временный шум в ушах, который пройдет через несколько дней.(Кстати, если у вас острая потеря слуха из-за шума, может быть хорошей идеей срочно обратиться к ЛОРу и попросить немедленную стероидную терапию, чтобы предотвратить необратимое повреждение слуха.)
Во многих других случаях шум в ушах проходит сам в течение 2–3 месяцев. В третьих — 2-3 года. С другой стороны, есть люди, которые страдают от шума в ушах более 20 лет. К сожалению, мне не известны какие-либо достоверные статистические данные, которые показали бы, какой процент случаев разрешается в течение нескольких месяцев. Лучшее, что я смог найти, — это неформальный опрос.
Что я могу сделать с шумом в ушах?
Вы можете обратиться к врачу, если ваш шум в ушах вызван чем-то, что можно легко исправить или вылечить.
Вы можете попробовать одно или несколько средств, рекомендованных пациентами с шумом в ушах — витамин B12, магний, гинкго билоба, синдром отмены кофеина и парацетамол — для каждого из них вы найдете людей, которые клянутся, что это уменьшает их шум в ушах. И вы, безусловно, можете не тратить свои деньги на бесчисленные мошенничества с «лекарством от шума в ушах», которыми руководят недобросовестные придурки по всей сети.
Кроме этого, в настоящее время не существует проверенного метода перестройки вашего мозга, чтобы тиннитус исчез полностью и навсегда. Существуют методы лечения, которые могут уменьшить шум в ушах или даже заставить его исчезнуть (ксанакс, музыкальная терапия с надрезом), но их эффект временный, т.е. они должны продолжаться бесконечно, чтобы эффект сохранялся.
Однако вы можете сделать две очень важные вещи:
- Вы можете сделать так, чтобы шум не беспокоил вас.
- Можно научиться не замечать шум.
Если вы достигнете этих двух целей, шум в ушах будет для вас не большей проблемой, чем цвет стен в вашей квартире. Это все равно будет заметно, если вы решите это заметить, но это не будет проблемой.
Д-р Стивен М. Наглер прекрасно описал это в своем введении к терапии повторной тренировки тиннитуса (страница, которую я цитирую, больше не доступна в Интернете; вот самое близкое, что я смог найти):
TRT не является лекарством от шума в ушах.Это лечебный подход, разработанный с целью сделать так, чтобы шум в ушах перестал быть проблемой в жизни пациента. Он разработан с целью превратить тиннитус в пару штанов. В девяноста процентах случаев люди не замечают своих штанов. В 10% случаев, когда они осведомлены о , они не «справляются» со своими штанами, они не «разбираются» со своими штанами, они не «учатся жить» со своими штанами, и они, безусловно, не тратьте время на беспокойство о том, будет ли следующий день «днем хороших штанов» или «днем плохих штанов».«Они просто носят штаны; и когда цель TRT достигнута, шум в ушах должен быть таким же!
Как мне сделать так, чтобы шум не беспокоил меня?
Первое, что вы должны понять, это то, что сам звук не представляет большой проблемы. Если ваш шум в ушах не является необычно сильным, шум в вашей голове, вероятно, не сильно мешает вашему слуху.
Настоящая проблема в том, что (1) вы обращаете внимание на шум и (2) вы реагируете на него эмоционально .С точки зрения неврологии, слуховой раздражитель вызывает стрессовую реакцию. Вас беспокоит звук, вы не можете думать ни о чем другом, ваше сердце колотится, вы не можете заснуть по ночам — все эти проблемы возникают не из-за шума в ушах; они возникают из-за вашей эмоциональной реакции на шум в ушах.
Так должно быть? No. Вы, вероятно, окружены множеством звуков, которые объективно громче, чем ваш шум в ушах, но вы не задумываетесь о них. Каждый день вы сидите перед компьютером с шумными вентиляторами и жесткими дисками, но не зацикливаетесь на этом.Во время вождения вы слышите шум транспорта и собственного автомобиля, иногда часами, но это не делает вас несчастным. Пилоты авиакомпаний полжизни проводят в шуме реактивных двигателей, но они не придают этому большого значения. Единственная разница между тиннитусом и этими «повседневными звуками» состоит в том, что вы интерпретируете другие звуки как «нормальный фоновый шум».
Когда я сижу перед компьютером и пишу этот пост, меня окружают потенциально раздражающие раздражители. Я слышу гудение стиральной машины, работающей в ванной, жужжание жестких дисков в моем компьютере и некоторые звуки транспорта за окном.Я ношу очки, которые постоянно давят на нос и уши; что еще хуже, их края накладываются на мое поле зрения, образуя бесполезную размытую границу вокруг того, на что я смотрю. Справа от моего экрана есть сетевой маршрутизатор с яркими светодиодами, мигающими через нерегулярные промежутки времени. И всякий раз, когда я двигаюсь на стуле, он издает довольно громкий писк. Все это может показаться раздражающим, но ни одно из них меня нисколько не беспокоит.
T Нет объективной причины, по которой я должен быть совершенно безразличен ко всем этим раздражителям, но при этом меня беспокоит шум в ушах. В конце концов, шум в ушах — это просто еще один звук, с которым я ничего не могу поделать.
Ваша эмоциональная реакция на шум в ушах зависит от вашего отношения. И отношение к раздражителям может измениться. Я очень хорошо помню, что раньше меня раздражало тиканье настенных часов в моей комнате, до такой степени, что мне приходилось снимать их. Угадай, что? Недавно снова повесил и теперь вроде как нравится. Другой пример: есть люди, которых раздражает шум, производимый детьми, играющими на детской площадке.Часто одни и те же люди находят его менее раздражающим (или даже приятным), когда у них появляются собственные дети, и они начинают ассоциировать звук с чем-то приятным.
Полезно осознавать, что по большей части ваше негативное отношение к тиннитусу возникает из-за первоначального шока. Если бы вы родились с тиннитусом, вы бы беспокоились об этом? Конечно нет. Для вас так устроен мир — примерно так же, как вы должны моргать каждые 20 секунд или около того. Некоторые люди, у которых тиннитус с детства, равнодушны к нему до такой степени, что считают его совершенно нормальным.
Наконец, вот несколько приемов позитивного мышления, которые помогут «подружиться» с вашим тиннитусом:
- воспринимайте это как «гудок вселенной» ( не все могут его услышать, вы среди избранных! )
- воспринимайте это как шум, который издает ваш мозг, когда он работает (, хорошо знать, что ваш мозг работает, не так ли? )
- думают, что «мое невидимое силовое поле включено и защищает меня» ( это было предложено Томасом Тангом в комментариях здесь, я думаю, что это здорово )
Что такое частичное маскирование?
Частичная маскировка — хороший метод, который поможет вам перестать эмоционально реагировать на шум в ушах.Окружите себя каким-нибудь шумом, который смешивается со звуком тиннитуса, но не заглушает его полностью. Хорошие источники шума включают компьютерный шум, записи со звуками природы (дождь, океан, горный ручей и т. Д.), Вентиляторы, радиостанции, увлажнители воздуха и т. Д. На myNoise.net есть хороший бесплатный онлайн-генератор шума. . Помните, что если ваша цель — снизить эмоциональную реакцию на шум в ушах, шум в ушах должен быть частично слышен поверх маскирующего шума. Причина в том, что вы не можете привыкнуть к тому, чего не слышите.Затем вы можете постепенно уменьшать громкость маскирующего шума, пока ваш шум в ушах не станет таким же скучным и недостойным внимания, как жужжание холодильника на кухне.
Тиннитус лишает вас тишины?
Среди пациентов с тиннитусом есть тенденция думать: «Я больше никогда не услышу тишину», но стоит отметить, что человека в любом случае неспособны слышать полную тишину . В известном исследовании Хеллера и Бергмана (1953) из 100 студентов университетов без шума в ушах, помещенных в безэховую камеру, 93% сообщили, что слышали жужжащий, пульсирующий или свистящий звук.
Как научиться не замечать шум?
В основе шума в ушах лежит The Loop . Петля — это мой собственный термин для обозначения петли положительной обратной связи, созданной следующими двумя механизмами:
- Чем больше внимания вы уделяете тиннитусу, тем громче он становится. (Вы говорите своему мозгу: «Этот звук важен / угрожает, мне нужно услышать его более отчетливо».)
- Чем громче ваш шум в ушах, тем больше он привлекает ваше внимание , что, в свою очередь, делает его еще громче и т. Д.
Это порочный круг, из которого очень трудно вырваться. В первые несколько дней после появления шума в ушах я уделял ему столько внимания, что со временем смог услышать его даже во время просмотра телевизора.
Цикл начинается, когда вы сосредотачиваете свое внимание на шуме. Как только вы позволите себе это сделать, шум станет громче, и вам будет труднее отвлечься. Итак, правило номер один: не запускайте The Loop . Как только вы обнаружите, что ваше внимание блуждает по направлению к шуму, используйте свою волю к , немедленно сосредоточьтесь на чем-то другом.Быть занятым. Похлопайте себя по лицу. Если вы пытаетесь заснуть, попробуйте считать. Вспомните, каким несчастным вы себя чувствовали, когда в последний раз позволили себе сосредоточиться на шуме. Делайте все возможное, чтобы отвлечься от шума в ушах. Если ничего не помогает, замаскируйте это музыкой или шумом. Используйте «маневр Reddit» для краткосрочного облегчения. Но что бы вы ни делали, не запускает The Loop .
Чтобы научиться отвлекать внимание от шума в ушах, требуется тренировка. Один из приемов, который помогает в этом, — это громко тикающие часы в вашей комнате.В тот момент, когда ваше внимание отвлекается на шум в ушах, вместо этого сосредоточьтесь на tick-tock . Подсчет тиков — тоже хороший способ заснуть.
Тиннитус становится громче, когда вы беспокоитесь о нем, поэтому все, что снижает общий уровень беспокойства, полезно. Есть лекарства вроде ксанакса, которые, как известно, помогают, но упражнения тоже отлично работают. Если вы чувствуете себя настолько уставшим, что еле двигаетесь, действительно трудно думать о тиннитусе — когда ваше тело болит, все, о чем вы можете думать, это о том, как приятно лечь и отдохнуть.Я бы также порекомендовал поэкспериментировать с холодным душем. В общем, все, что вызывает (безопасную) боль, хорошо, потому что, когда боль проходит, вы испытываете противоположное чувство: блаженство, тепло, энергию.
Если вы какое-то время не слышите свой шум в ушах, не слушайте его . Не спрашивайте себя: «Я слышу шум сейчас?» или «Он действительно исчез или просто временно замаскирован окружающим шумом?». В первые недели после появления шума в ушах, когда он переставал быть заметным, я уходил в тихую комнату и надевал изолирующие наушники, чтобы посмотреть, действительно ли исчезло.Я делал это много раз в день, и все это заставляло меня снова замечать свой шум в ушах. В конце концов, мне пришлось установить правило: мне разрешается один «тест на шум в ушах» в день, когда я встаю утром. В остальное время без проверки.
Помните: если вы прислушиваетесь к шуму в ушах, вы просто тренируете свой мозг, чтобы лучше его слышать. Не делай этого. Сосредоточьтесь на других вещах в вашем окружении и вашей жизни.
Что делать, если я уже в петле?
А, да. Когда вы находитесь в The Loop, ваш шум в ушах кажется таким громким, что он похож на тигра в вашей комнате — чертовски невозможно не обращать на него внимания.Кроме того, стресс, который вы, вероятно, испытываете, нисколько не облегчает осуществление умственного контроля.
Тем не менее, вы должны помочь себе. Вы должны как-то выбраться из петли. Вот метод, который у меня сработал: Маскируй, черт возьми, и ложись спать . Когда вы проснетесь на следующее утро, используйте все возможное самоконтроль, чтобы сосредоточить свое внимание на других вещах, кроме шума в ушах. Продолжайте говорить себе: , если я позволю себе сосредоточиться на нем, он станет больше, и будет еще труднее игнорировать.Когда ваши мысли начинают блуждать в сторону шума в ушах, ударьте себя по лицу или ущипните заднюю часть предплечья (это служит отрицательным подкреплением). Цель состоит в том, чтобы развить в себе умственную привычку отвлекаться каждый раз, когда вы начинаете думать о своем тиннитусе. Со временем станет все легче и легче отвлекаться, когда станет заметен шум в ушах.
Может быть трудно поддерживать это в течение всего дня, особенно вначале, поэтому используйте маскировку обильно. (Полная маскировка не рекомендуется в терапии по повторной тренировке тиннитуса, потому что она полностью удаляет шум, а не позволяет вам привыкнуть к нему, но мой опыт показывает, что когда вы сходите с ума от прослушивания своего шума в ушах, маскировка его частично не позволяет сделаю вас спокойнее.Бывают случаи, когда нужны экстренные меры.)
Если вы не можете не обращать внимания на свой шум в ушах, и он начинает вас беспокоить, вы можете попробовать следующую мысленную технику, которую я считаю очень эффективной. Я называю это «Трюк с холодильником » . Уловка состоит в том, чтобы представить, что звук в ушах издает какое-то устройство в комнате, например, небольшой холодильник. Удивительно, что эта мысль мгновенно снимает стресс. Как только звук ассоциируется с обычным предметом, кажется, что у мозга больше нет причин для беспокойства.Когда шум в ушах классифицируется как «повседневный шум», гораздо легче отвлечься. Чтобы сделать эту визуализацию более убедительной, вы можете представить себе, как выглядит холодильник, где он стоит и т. Д.
Полезные ресурсы по тиннитус
- Сайт доктора Наглера о тиннитусе — очень хорошо написанный сайт с информацией о тиннитусе и поддержкой доктора Стивена Наглера, который сам страдает тиннитусом. Его советы основаны на модели Павла Ястребоффа, применяемой при повторной тренировке тиннитуса (TRT).Обязательно загляните в раздел статей.
- Страница по ретренировочной терапии тиннитуса (TRT), автор Павел Ястребов. TRT «использует комбинацию низкоуровневого широкополосного шума и консультирования для достижения привыкания к шуму в ушах, то есть пациенты больше не осознают свой шум в ушах, за исключением случаев, когда они сосредотачивают на нем свое внимание, и даже тогда шум в ушах не раздражает. или надоедливый ».
- Доска сообщений службы поддержки по тиннитусу — самый большой и лучший форум для пациентов с тиннитусом
- Истории успеха от тиннитуса от реальных людей
- myNoise.net — бесплатный онлайн генератор шума
- Пластичность — Я сделал бесплатную игру для тренировки мозга, которая может изменить ваше восприятие шума в ушах — см. Ниже
Обновление (сентябрь 2011 г.)
У меня все еще есть шум в ушах, но я стал к нему безразличен до такой степени, о которой я никогда не подумал бы. По сути, теперь это похоже на звук жесткого диска в моем ноутбуке. Конечно, иногда я замечаю это, но не зацикливаюсь на этом; Я просто возвращаюсь к тому, чем занимался. Я определенно не сижу там, пишу электронное письмо на своем ноутбуке и думаю: «Боже мой, вот опять чертов жесткий диск, почему это не прекратится?».Излишне говорить, что я больше не проверяю интенсивность шума в ушах каждый день. Фактически, я провел недель , не замечая этого.
Раньше я боялся засыпать без маскировки звуков, так как тишина ночью выводит шум в ушах. Теперь в этом нет ничего страшного: я не обращаю на это внимания, и в тех редких случаях, когда я это делаю, меня это не беспокоит; для меня это просто «тот знакомый звук».
Обновление— пластичность (август 2012 г.)
В апреле 2011 года я написал HTML5-игру под названием «Пластичность» с целью перестроить мою слуховую кору и, таким образом, уменьшить шум в ушах.Идея была проста:
- Некоторые нейроны срабатывают в моей слуховой коре (так как я слышу шум в ушах).
- Кора головного мозга может реорганизовываться в ответ на тренировку.
- Заключение: я собираюсь тренировать свою слуховую кору и посмотреть, как это меняет восприятие шума в ушах.
Сработало? Сложно сказать. Я, конечно, надеялся на драматический, безошибочный результат — полное излечение. Этого не произошло. Я думал, что заметил некоторые улучшения в процессе обучения, но это могло быть простым эффектом плацебо.После месяца ежедневного использования Plasticity я отправился в короткую зарубежную поездку. Во время той поездки я заметил, что смог заснуть, не маскируя шум, впервые с тех пор, как заболел тиннитусом. Вернувшись домой, я решил перестать пользоваться маскировкой и дома. Я тоже перестал пользоваться Пластикой. В последующие месяцы мой шум в ушах постепенно стал для меня не проблемой. Я бы все равно это услышал, но только если бы попытался. Это больше не будет захватывать весь мой мозг. Поскольку слуховая тренировка была эффективной (я стал лучше распознавать звуки, о чем свидетельствуют более высокие оценки), я думаю, что, возможно, тренировка каким-то образом изменила неврологическую реакцию моего мозга на шум в ушах.Но я бы не стал ставить на это деньги.
В любом случае, теперь я сделал Plasticity доступным для всех в Интернете, так что вы можете попробовать, если хотите. (Вот еще немного информации о научном обосновании и советы о том, как использовать пластичность.) Это полностью недоказано, но, в отличие от бесчисленных поддельных лекарств в Интернете, это также совершенно бесплатно (хотя я был бы очень благодарен за ваши пожертвования, если вы могу позволить себе сэкономить немного денег).
Обновление— (сентябрь 2013 г.)
Ну ладно.Плохая новость в том, что у меня усилился тиннитус. Хорошая новость в том, что меня это не особо расстроило. Это только немного беспокоило меня 2-3 дня, потом я быстро забыл об этом.
Как стало хуже? Ну, был громкий концерт, на который я пошел с другом. Моя подруга хотела подойти поближе к сцене, и я, как идиот, последовал за ней, хотя там, где я стоял, музыка уже была неприятно громкой. Другими словами, был красный свет, но я его проигнорировал. Излишне говорить, что в ближайшее время я не буду ходить на громкие концерты.Что меня устраивает, я все равно больше слушаю дома.
Концерт оставил у меня сдвиг порога (снижение слуха) и свистящий звук в левом ухе, который сохранялся около 3 дней. Мой слух вернулся в норму (какое-то время я волновался, что так и останется), но свист не проходил. Это намного громче, чем тиннитус в моем правом ухе.
Теперь я на 90% уверен, что мой первоначальный шум в ушах тоже был вызван шумом (еще один супергромкий концерт).Итак, вот официальное объявление: Если у вас шум в ушах, избегайте громких звуков, например, на концертах в закрытых помещениях, таких как клубы.
Как я справился с этим? Как и раньше, только в 100 раз быстрее. (У меня это хорошо получается!) Я использовал немного маскировки, пластичности плюс упражнения, чтобы расслабиться, но в основном это была просто знакомая техника «не позволяй себе думать об этом». Поначалу я чувствовал себя очень плохо — в основном потому, что ненавидел себя за такую глупую ошибку и потому, что боялся, что мой слух навсегда ухудшится.Однако через пару дней я стал обращать на это все меньше и меньше внимания, и теперь я больше не думаю об этом как о проблеме. На самом деле, я очень горжусь тем, как быстро я перестал обращать на это внимание.
Удачи! Не забудьте разместить здесь свои комментарии.
Extech Тональный генератор и комплект пробников для усилителя
Доставка, доставка, обработка заказа и наличие продукции
Fondriest пользуется услугами лучших перевозчиков, чтобы заказы приходили к вам вовремя. Узнайте больше о сроках доставки, способах, стоимости и перевозчиках.
Срок поставки
Мы держим вас в курсе. Вскоре после того, как вы разместите свой заказ, вы получите электронное письмо с подтверждением заказа, чтобы подтвердить детали вашего заказа, включая доставку и смету доставки. Как только ваш заказ будет подготовлен к отправке и отправлен, вы получите электронное письмо с уведомлением о доставке с информацией о перевозчике и отслеживании.
Стоимость отгрузки и доставки
Срок отправки — это примерное время доставки товара с нашего склада.Все товары будут отправлены за один раз, если вы специально не запросите частичную доставку. В этом случае товары из вашего заказа будут отправлены по мере их поступления. Срок доставки — это примерное время, когда товар будет доставлен на ваш адрес доставки после его отправки. Расчетное время доставки зависит от способа доставки, который вы выбираете при оформлении заказа. Все оценки основаны на рабочих днях.
Варианты доставки
Fondriest предлагает несколько удобных вариантов доставки.
| Стандартная доставка: | Товары, отправленные стандартным сервисом, обычно доставляются в течение пяти рабочих дней после отправки. |
| Доставка в течение 2 дней: | За дополнительную плату Fondriest предлагает этот вариант ускоренной доставки для большинства продуктов. Товары отправляются через двухдневную службу до 16:00. EST обычно доставляется до 16:30. по местному времени через два рабочих дня после отгрузки. |
| Ночная доставка: | За дополнительную плату Fondriest предлагает этот вариант ускоренной доставки для большинства товаров. Товары отправлены до 16:00. EST через ночную службу обычно доставляется до 16:00. по местному времени через один рабочий день после отгрузки. Свяжитесь с Fondriest для получения информации о более ранней доставке в ночное время. |
| Ваш аккаунт: | Fondriest предлагает бесплатную доставку на ваш счет наиболее популярным перевозчикам. |
Помните, что эти оценки относятся только к времени в пути и не применяются до тех пор, пока продукт не покинет склад Fondriest. Поскольку Fondriest не может контролировать доставку вашего заказа после того, как ваш заказ покинет склад Fondriest, мы не можем нести ответственность за просрочку доставки, независимо от указанного вами способа доставки.
Подпись требуется для большинства поставок
Большинство посылок Fondriest содержат ценное оборудование.Если вы не будете по адресу доставки, чтобы принять доставку вашего продукта, рассмотрите возможность отправки товара по адресу, где кто-то, кому вы доверяете, будет доступен, чтобы подписать вашу посылку, или примите вашу посылку, если подпись не требуется для доставки. После того, как ваш заказ подготовлен к отправке или отправлен, мы не сможем изменить адрес доставки. Право собственности и риск потери всех продуктов переходят к вам при доставке. Если вы готовы взять на себя риск доставки вашего заказа без подписи, вы можете уполномочить Fondriest организовать доставку, которая не требует присутствия кого-либо по адресу доставки.
Недоставленных пакетов
Иногда посылки возвращаются в Fondriest как недоставленные. Когда перевозчик возвращает в Fondriest посылку, которую невозможно доставить, свяжитесь с нами, чтобы организовать повторную отправку.
Неудачные попытки доставки
Большинство перевозчиков Fondriest делают три попытки доставить посылку. После трех попыток доставки курьер вернет посылку в Фондриест.
Обработка заказов
Предполагаемая дата отгрузки вашего заказа зависит от наличия продукта, времени обработки платежа и времени обработки на складе и не включает время доставки.Мы не начинаем обработку платежей до тех пор, пока Fondriest не получит всю необходимую информацию, а также полную оплату или полную авторизацию в случае кредитной карты или заказов на аренду.
Fondriest начнет обработку платежей по заказам, размещенным в выходные или праздничные дни, на следующий рабочий день. Рабочие дни с понедельника по пятницу, кроме государственных праздников.
Ваш заказ на товары, имеющиеся в наличии, которые могут быть отправлены в тот же день, должен быть получен до 14:00 по местному времени.м. в ожидании обработки платежа, чтобы в течение дня оставалось достаточно времени для отправки вашего заказа.
Наличие товара
Fondriest прилагает все усилия, чтобы доставить ваш продукт в соответствии с расчетными сроками доставки. Расчетное время выполнения заказа указано в рабочих днях (с понедельника по пятницу, кроме государственных праздников).
Хотя Fondriest прилагает все усилия для доставки вашего заказа в соответствии с указанным сроком поставки, даты доставки могут измениться из-за изменений в поставках.Если время выполнения заказа изменится, Fondriest свяжется с вами по электронной почте и предоставит пересмотренную смету доставки.
Fondriest прилагает все усилия для поставки заказанных вами продуктов, но могут быть случаи, когда Fondriest подтверждает заказы, а позже узнает, что не может поставить продукты ни вообще, ни в заказанном количестве. Эти редкие случаи могут включать, когда Fondriest узнает, что продукты больше не производятся или становятся недоступными по иным причинам, когда Fondriest не может получить компоненты для заказанной вами конфигурации или когда в интернет-магазине Fondriest произошла ошибка ценообразования.
В таких обстоятельствах Fondriest проинформирует вас и, если вы заинтересованы, Fondriest может предложить альтернативные продукты, которые могут удовлетворить ваши потребности. Если вы не хотите заказывать альтернативные продукты, Fondriest отменит ваш заказ на продукты, которые не могут быть поставлены, и на любые другие продукты, которые вы больше не хотите заказывать в результате, и вернет вам покупную цену.
Входной модуль тон-генератора для AA120M | Атлас IED
Часовой пояс: (UTC-12: 00) Международная линия дат — запад (UTC-11: 00) Всемирное координированное время-11 (UTC-10: 00) Алеутские острова (UTC-10: 00) Гавайи (UTC-09: 30) Маркизские острова ( UTC-09: 00) Аляска (UTC-09: 00) Универсальное скоординированное время-09 (UTC-08: 00) Нижняя Калифорния (UTC-08: 00) Универсальное скоординированное время-08 (UTC-08: 00) Тихоокеанское время ( США и Канада) (UTC-07: 00) Аризона (UTC-07: 00) Чиуауа, Ла-Пас, Масатлан (UTC-07: 00) Горное время (США и Канада) (UTC-07: 00) Юкон (UTC- 06:00) Центральная Америка (UTC-06: 00) Центральное время (США и Канада) (UTC-06: 00) Остров Пасхи (UTC-06: 00) Гвадалахара, Мехико, Монтеррей (UTC-06: 00) Саскачеван (UTC-05: 00) Богота, Лима, Кито, Рио-Бранко (UTC-05: 00) Четумаль (UTC-05: 00) Восточное время (США и Канада) (UTC-05: 00) Гаити (UTC-05: 00) Гавана (UTC-05: 00) Индиана (Восток) (UTC-05: 00) Теркс и Кайкос (UTC-04: 00) Асунсьон (UTC-04: 00) Атлантическое время (Канада) (UTC-04: 00 ) Каракас (UTC-04: 00) Куяба (UTC-04: 00) Джорджтаун, Ла-Пас, Манаус, Сан-Хуан (UTC-04: 00) Сантьяго (UTC-03: 30) Ньюфаундленд (UTC-03: 00) Арагуайна (UTC-03: 00 ) Бразилиа (UTC-03: 00) Кайенна, Форталеза (UTC-03: 00) Город Буэнос-Айрес (UTC-03: 00) Гренландия (UTC-03: 00) Монтевидео (UTC-03: 00) Пунта-Аренас (UTC -03: 00) Сен-Пьер и Микелон (UTC-03: 00) Сальвадор (UTC-02: 00) Всемирное координированное время-02 (UTC-02: 00) Средняя Атлантика — Старая (UTC-01: 00) Азорские острова ( UTC-01: 00) Острова Кабо-Верде.(UTC) Всемирное координированное время (UTC + 00: 00) Дублин, Эдинбург, Лиссабон, Лондон (UTC + 00: 00) Монровия, Рейкьявик (UTC + 00: 00) Сан-Томе (UTC + 01: 00) Касабланка (UTC + 01:00) Амстердам, Берлин, Берн, Рим, Стокгольм, Вена (UTC + 01: 00) Белград, Братислава, Будапешт, Любляна, Прага (UTC + 01: 00) Брюссель, Копенгаген, Мадрид, Париж (UTC + 01: 00) Сараево, Скопье, Варшава, Загреб (UTC + 01: 00) Западная Центральная Африка (UTC + 02: 00) Амман (UTC + 02: 00) Афины, Бухарест (UTC + 02: 00) Бейрут (UTC + 02: 00) Каир (UTC + 02: 00) Кишинев (UTC + 02: 00) Дамаск (UTC + 02: 00) Газа, Хеврон (UTC + 02: 00) Хараре, Претория (UTC + 02: 00) Хельсинки, Киев, Рига, София, Таллинн, Вильнюс (UTC + 02: 00) Иерусалим (UTC + 02: 00) Джуба (UTC + 02: 00) Калининград (UTC + 02: 00) Хартум (UTC + 02: 00) Триполи (UTC + 02:00) Виндхук (UTC + 03: 00) Багдад (UTC + 03: 00) Стамбул (UTC + 03: 00) Кувейт, Эр-Рияд (UTC + 03: 00) Минск (UTC + 03: 00) Москва, С.-Петербург (UTC + 03: 00) Найроби (UTC + 03: 00) Волгоград (UTC + 03: 30) Тегеран (UTC + 04: 00) Абу-Даби, Маскат (UTC + 04: 00) Астрахань, Ульяновск (UTC + 04 : 00) Баку (UTC + 04: 00) Ижевск, Самара (UTC + 04: 00) Порт-Луи (UTC + 04: 00) Саратов (UTC + 04: 00) Тбилиси (UTC + 04: 00) Ереван (UTC + 04:30) Кабул (UTC + 05: 00) Ашхабад, Ташкент (UTC + 05: 00) Екатеринбург (UTC + 05: 00) Исламабад, Карачи (UTC + 05: 00) Кызылорда (UTC + 05: 30) Ченнаи, Калькутта, Мумбаи, Нью-Дели (UTC + 05: 30) Шри-Джаяварденепура (UTC + 05: 45) Катманду (UTC + 06: 00) Астана (UTC + 06: 00) Дакка (UTC + 06: 00) Омск (UTC + 06:30) Янгон (Рангун) (UTC + 07: 00) Бангкок, Ханой, Джакарта (UTC + 07: 00) Барнаул, Горно-Алтайск (UTC + 07: 00) Ховд (UTC + 07: 00) Красноярск (UTC +07: 00) Новосибирск (UTC + 07: 00) Томск (UTC + 08: 00) Пекин, Чунцин, Гонконг, Урумчи (UTC + 08: 00) Иркутск (UTC + 08: 00) Куала-Лумпур, Сингапур (UTC +08: 00) Перт (UTC + 08: 00) Тайбэй (UTC + 08: 00) Улан-Батор (UTC + 08: 45) Евкла (UTC + 09: 00) Чита (UTC + 09: 00) Осака, Саппоро, Токио (UTC + 09: 00) Пхеньян (UTC + 09: 00) Сеул (UTC + 09: 00) Якутск (UTC + 09: 30) Адель помощник (UTC + 09: 30) Дарвин (UTC + 10: 00) Брисбен (UTC + 10: 00) Канберра, Мельбурн, Сидней (UTC + 10: 00) Гуам, Порт-Морсби (UTC + 10: 00) Хобарт (UTC +10: 00) Владивосток (UTC + 10: 30) Остров Лорд-Хау (UTC + 11: 00) Остров Бугенвиль (UTC + 11: 00) Чокурдах (UTC + 11: 00) Магадан (UTC + 11: 00) Остров Норфолк (UTC + 11: 00) Сахалин (UTC + 11: 00) Соломоновы острова., Новая Каледония (UTC + 12: 00) Анадырь, Петропавловск-Камчатский (UTC + 12: 00) Окленд, Веллингтон (UTC + 12: 00) Всемирное координированное время + 12 (UTC + 12: 00) Фиджи (UTC + 12: 00) Петропавловск-Камчатский — Старое (UTC + 12: 45) Острова Чатем (UTC + 13: 00) Всемирное координированное время + 13 (UTC + 13: 00) Нукуалофа (UTC + 13: 00) Самоа (UTC + 14 : 00) Остров Киритимати
Новостная рассылка:
| Waves V12 Системные требования | |
| Mac | |
| ЦП | Intel Core i5 / i7 / i9 / Xeon |
| Память | 8 ГБ ОЗУ 8 ГБ свободного места на системном диске |
| Операционная система | 10.13.6, 10.14.6, 10.15.7 macOS 11 Big Sur пока не поддерживается. |
| Разрешение экрана | Минимум: 1024×768 Рекомендуется: 1280×1024 / 1600×1024 USB-дисплеи не поддерживаются в качестве основного дисплея. Для подключаемых модулей V12 требуется видеокарта с поддержкой Metal |
| Окна | |
| ЦП | Intel Core i5 / i7 / i9 / Xeon / AMD четырехъядерный |
| Память | 8 ГБ ОЗУ 8 ГБ свободного места на системном диске |
| Операционная система | Windows 10, 64-разрядная версия |
| Разрешение экрана | Минимум: 1024×768 Рекомендуется: 1280×1024 / 1600×1024 |
| Поддерживаемые хосты | |
| Примечание | TDM больше не поддерживается Waves v9.6 или новее: узнать больше. |
| Mac | Pro Tools 2020 (AAX Native, Audiosuite) Logic Pro X, 10.5.1 (аудиоустройства) Digital Performer 10 (аудиоустройства) Ableton Live 10.1 (VST3) Nuendo 10.3 (VST3) Cubase 10.5 (VST3) Основная сцена 3 (аудиоблоки) Garage Band 10 (аудиоблоки) Audition 13 (VST3) Premiere Pro 14 (VST3) Studio One Professional 5 (VST3) FL Studio 20 (VST3) REAPER 6 (VST3) Причина 11 (VST) Maschine 2 (VST) Komplete Kontrol 2 (VST) Bitwig Studio 3 (VST3) |
| Окна | Pro Tools 2020 (AAX Native, Audiosuite) Ableton Live 10.1 (VST3) Nuendo 10.3 (VST3) Cubase 10.5 (VST3) WaveLab 10 (VST3) Cakewalk от BandLab 2020 (VST3) Audition 13 (VST3) Premiere Pro 14 (VST3) Samplitude Pro X4 (VST3) Sequoia 15 (VST3) Pyramix 12 (VST) Studio One Professional 5 (VST3) FL Studio 20 (VST3) REAPER 6 (VST3) Reason 11 (VST) Maschine 2 (VST) Komplete Kontrol 2 ( VST) Bitwig Studio 3 (VST3) |
| Авторизация | Приложение WavesCentral управляет всеми лицензиями.Продукты разрешены либо к машине, либо к USB-ключу. Аппаратные USB-ключи, такие как iLok, больше не поддерживаются и не требуются. |
toon | Генератор звукового тона для iPad Поддержка
Описание — приложение iOS / Audio Tone Generator для iPad
Генератор звукового тона для iPad — эталонные инструменты для тестирования звуковых сигналов
«Генератор звуковых сигналов для iPad» — это высококачественное приложение для создания звуковых сигналов для iPad.
Он создает опорные звуковые сигналы в виде синусоидальных волн, частотной развертки, белого шума и розового шума, и имеет высокую точность качества DVD и точность частоты 0.1 Гц.
Он поможет вам стать эталоном для вашего аудиооборудования и громкоговорителей, вашей среды прослушивания и акустики помещения или вашего слуха.
Сигналы, создаваемые этим приложением, лучше всего использовать вместе с внешними устройствами, такими как анализатор спектра звука или измеритель уровня звука.
Кроме того, он может генерировать октавный шум в полосе 1/1 или 1/3 октавы. Шум октавного диапазона может использоваться для различных целей в качестве эталонного источника звука для измерения шума окружающей среды, настройки звука, звуковых эффектов, таких как уменьшение шума в ушах и маскирование звука.
Информация о продукте
- Версия: 4.1
- Дата выпуска: 16 мая 2018 г. (UTC).
- Размер: 0,8 МБ
- Категория: Утилиты, Музыка
- Совместимость: Совместимость с iPad. Требуется iOS 11.3 или новее. Несовместимо с iPadOS 14 и новее.
Генерация источника звука
Это приложение может генерировать следующие сигналы.
- Синусоидальная
- Синусоидальная волна
- Белый шум
- Pink Noise (шум 1 / f)
- Шум октавной полосы (1/1 октавная полоса, 1/3 октавная полоса)
Характеристики
- Генерация синусоидального сигнала в режиме SINE: предустановленные частоты — 63 Гц, 125 Гц, 250 Гц, 500 Гц, 1000 Гц, 2000 Гц, 4000 Гц, 8000 Гц, 16000 Гц
- Развертка частоты в режиме SWEEP: предустановленные частоты — 20 Гц — 20000 Гц, 200 Гц — 4000 Гц, 1000 Гц — 8000 Гц, 220–880 Гц (A3 — A5)
- Контроль времени развертки: от 10 секунд до 180 секунд.
- Пауза в режиме SWEEP.
- Генерация шума в режиме NOISE: белый шум или розовый шум.
- — Частотная характеристика: 20 Гц — 22000 Гц / -3 дБ
- Генерация шума в октавной полосе в режиме NOISE: полоса 1/1 или 1/3 октавы.
- Генерация пакетного сигнала в режиме NOISE: Нет, 1, 2, 5 10 сек.
- Поддерживает диапазон частот от 20 Гц до 23999,9 Гц.
- Точность частоты: 0,1 Гц
- Прямой ввод частоты с клавиатуры.
- Выбор выходного канала: L, R, L&R
- Инверсия фазы: в фазе / вне фазы
- Регулятор выходного усиления.
- Качество вывода DVD.
- Оптимизирован для iPhone, Компактный размер кода.
Приложения
Это приложение может быть очень полезно для множества приложений, включая:
- Тестирование громкоговорителей и наушников
- Прожиг для звукового оборудования и громкоговорителей
- Тестирование и настройка звуковых усилителей, эквалайзеров и многого другого звукового оборудования.
- Акустические испытания
- Измерение частотной характеристики аудиосистем с использованием белого и розового шума
- Маскировка звука
- Расслабление и медитация
- Проверка слуха
- Создание звука комара для подростков
Вид сверху
Во время запуска приложения «Audio Tone Generator для iPad» будет отображаться вид сверху.
Top View имеет область выбора режима вверху, область панели управления в середине и область управления внизу.
Сначала в области выбора режима выберите один из четырех режимов работы: Синусоидальная (синусоидальная), частотная развертка (развертка), шум (шум), информация о приложении (информация).
В области панели управления выбранная панель управления перемещается в центральное положение и отображается, и становится возможной настройка каждого параметра.
В области управления находятся Play, Stop, Volume Volume, Выбор выходного канала (LEFT & RIGHT, LEFT, RIGHT) и инверсия фазы.
Синусоидальный режим
Во время запуска этого приложения вы можете видеть область рабочих настроек вверху и область управления внизу.
В области управления вы можете выбрать один из режимов работы: синусоидальный (SINE), синусоидальный (SWEEP) и шумовой (NOISE)). Кроме того, вы сможете управлять громкостью воспроизведения, воспроизведением / остановкой и выходным каналом.
В области настройки работы вы можете увидеть параметр режима работы, который был выбран в области управления.
Режим синусоидальной развертки
Этот режим используется для генерации синусоидального сигнала.
Если прикоснуться к монитору отображения частоты, можно использовать клавиатуру.При вводе с клавиатуры вы должны установить частоту 23999,9 Гц с 20,0 Гц. Следует отметить, что начальное значение не вводится при запуске приложения, вам нужно будет установить частоту с точностью до одного десятичного знака.
Далее, сигнал может быть установлен от частоты восьми типов, нажав кнопку предустановки. Он генерирует тональный сигнал кнопкой PLAY и останавливается кнопкой STOP.
Режим шума
Этот режим используется для генерации белого и розового шума. Вы можете выбрать один из розового или белого шума.Он генерирует сигнал кнопкой PLAY и останавливается кнопкой STOP.
- Белый шум
- Амплитуда белого шума постоянна во всем слышимом диапазоне частот.
Удвоение мощности соответствует увеличению мощности на 3 децибела, поэтому считается, что белый шум увеличивает мощность на 3 дБ на октаву.
- Розовый шум
- Розовый шум фильтруется для получения равной мощности на октаву или равной мощности на 1/3 октавы.
Мощность розового шума на Гц полосы пропускания уменьшается на 3 децибела на октаву.Если для выравнивания залов выбран розовый шум, анализатор в реальном времени можно настроить так, чтобы они отображали прямую горизонтальную линию при получении розового шума.
Кроме того, можно сгенерировать пакетный сигнал, выбрав одну из 1, 2, 5 или 10 секунд с «Время пакета». Долговечность пакетного сигнала составляет 50%.
Шум октавной полосы
В режиме NOISE может генерироваться шум октавной полосы. Его также можно использовать для подробного анализа конкретной полосы частот.
Октавный полосовой шум генерируется полосовым сигналом с ограниченной частотой с помощью полосовой фильтрации 1/1 октавной полосы или 1/3 октавной полосы. Его можно использовать для измерения и оценки уровня звука определенной полосы частот на основе октавы.
Это приложение может выводить шумовой сигнал, который обрабатывает исходный сигнал белого или розового шума с помощью октавного полосового фильтра.
При нажатии кнопки «OCT band» активируется функция генерации шума октавной полосы.
Кроме того, нажав кнопки «1/1 OCT» или «1/3 OCT» и выбрав одну центральную частоту полосового фильтра. В это время центральная частота выбираемого полосового фильтра выглядит следующим образом.
- Центральная частота 1/1 октавного полосового полосового фильтра: 63, 125, 250, 500, 1000, 2000, 4000, 8000 Гц
- Центральная частота полосового фильтра 1/3 октавы: 50, 63, 80, 100, 125, 160, 200, 250, 320, 400, 500, 630, 800, 1000, 1250, 1600, 2000, 2500, 3150, 4000, 5000, 6300, 8000, 10000 Гц
Информация
Нажав «Инфо.», отображается информация о продукте. Если вы нажмете» Поддержка / Информация «, запустится Safari, и вы увидите нашу страницу поддержки. Если вы вернетесь к операции, нажмите другую кнопку режима.
Примечания к выпуску* Изменена фильтрация шума на генератор шума в октавном диапазоне, изменение дизайна пользовательского интерфейса, поддержка iOS 11.3, улучшение производительности.
* Добавлена функция настройки частоты фильтра, изменение дизайна пользовательского интерфейса, поддержка iOS 10.1, улучшение производительности.
* Соответствует iOS9.
* Выбор выходного канала. Инверсия фазы на выходе STEREO. Добавьте обработку фильтра в режим NOISE. Соответствует iOS9.
* Ошибка исправлена.
* Добавление предустановленных частот. Изменен дизайн пользовательского интерфейса. Оптимизация кода. Соответствует iOS8.
* Добавлена генерация тона трелей. Изменен дизайн пользовательского интерфейса и название приложения. Соответствует iOS7.1.
* Мелкая ошибка исправлена.
* Поддержка iOS7, улучшение производительности
* Редизайн пользовательского интерфейса, добавление функции настройки времени развертки
Примечание
- Это приложение несовместимо с iPadOS 14 и новее. Будьте осторожны при обновлении ОС.
- Пожалуйста, будьте осторожны, непрерывные громкие и высокочастотные сигналы могут повредить динамики, даже если ваш слух не воспринимает их как слишком громкие.
- При вводе частоты с клавиатуры нажмите клавишу возврата после ввода числового значения. Кроме того, в режиме развертки нажмите клавишу возврата после непрерывного ввода двух числовых значений.
- Беспроводное соединение с оборудованием Bluetooth не поддерживается.
- AirPlay data transfer — это система беспроводной связи, использующая фирменное сжатие аудиоданных Apple.Для этого есть случаи, когда случайный звуковой шум генерируется условиями радиосвязи и совместимостью оборудования для подключения AirPlay. Обратите внимание, что это может происходить в особенно высокой полосе частот.
Свяжитесь с нами
Спросите об этом приложении снизу!
- Контактная информация службы поддержки: support_ap * toon-llc.com
(ПРИМЕЧАНИЕ. Измените звездочку * этого адреса электронной почты на знак @. Отображение адреса электронной почты нашей службы поддержки было изменено для предотвращения спама.Пожалуйста, измените на правильный адрес и отправьте электронное письмо. )
Пожалуйста, свяжитесь с нами, указав следующие данные, если у вас есть какие-либо вопросы или проблемы.
- 1. Название приложения
- 2. Модель устройства
- 3. iOS версии
- 4. Страна проживания
- 5. Подробная информация о ваших просьбах или проблемах.
Вернуться к началу
| Тип | Профессиональная серия GX |
| Дата статуса предмета | 01072005 |
| Страна происхождения | нас |
| UNSPSC | 41113740 |
| Международный кодекс гармонизации | 00000 |
| Индикатор RoHS | U |
| Флаг обновления MSDS | N |

