Как устроены контакторы постоянного и переменного тока. Каковы основные элементы конструкции контакторов. Какие характеристики определяют работу контакторов. Как происходит гашение дуги в контакторах.
Назначение и общее устройство контакторов
Контактор — это электромагнитный аппарат, предназначенный для частых дистанционных включений и отключений силовых электрических цепей. Основными элементами конструкции контактора являются:
- Контактная система
- Электромагнитный привод
- Дугогасительное устройство
- Система вспомогательных контактов
Принцип действия контактора основан на притяжении якоря электромагнита при подаче напряжения на его катушку. При этом происходит замыкание или размыкание главных контактов, коммутирующих силовую цепь.
Конструкция контактной системы контакторов
Контактная система является ключевым узлом контактора, обеспечивающим коммутацию токов большой величины. Основные требования к контактам контакторов:

- Высокая электропроводность
- Механическая прочность
- Стойкость к электрической дуге
- Малое переходное сопротивление
В контакторах применяются различные конструкции контактов:
- Мостиковые контакты
- Пальцевые контакты с перекатыванием
- Сдвоенные контакты
Мостиковые контакты обеспечивают хорошую самоустановку и стабильность контактного нажатия. Пальцевые контакты с перекатыванием позволяют снизить износ за счет перемещения точки касания. Сдвоенные контакты применяются в мощных контакторах для разделения функций дугогашения и проведения тока.
Электромагнитный привод контакторов
Электромагнитный привод обеспечивает включение и отключение контактора. Он состоит из следующих основных частей:
- Магнитопровод
- Катушка электромагнита
- Якорь
- Пружина отключения
При подаче напряжения на катушку якорь притягивается к сердечнику, преодолевая усилие возвратной пружины. Это приводит к замыканию главных контактов. При снятии напряжения пружина возвращает контакты в исходное разомкнутое положение.
Дугогасительные устройства контакторов
Дугогасительные устройства служат для быстрого гашения электрической дуги, возникающей при размыкании контактов под током. В контакторах применяются следующие типы дугогасительных устройств:

- Дугогасительные камеры с узкими щелями
- Магнитное дутье
- Деионные решетки
Принцип действия дугогасительных устройств основан на удлинении, охлаждении и деионизации дугового столба. Это приводит к повышению напряжения на дуге и ее гашению при первом переходе тока через нуль.
Характеристики контакторов постоянного и переменного тока
Основными характеристиками контакторов являются:
- Номинальный ток главных контактов
- Номинальное напряжение главной цепи
- Механическая и коммутационная износостойкость
- Собственное время включения и отключения
- Допустимая частота коммутаций
Для контакторов постоянного тока важны также максимальный отключаемый ток и постоянная времени отключаемой цепи. Для контакторов переменного тока существенны категории применения, определяющие характер нагрузки.
Особенности гашения дуги в контакторах постоянного тока
Гашение дуги постоянного тока в контакторах имеет следующие особенности:
- Отсутствие естественных нулей тока затрудняет гашение
- Необходимо создать на дуге напряжение, превышающее напряжение сети
- Эффективно применение магнитного дутья для растяжения и охлаждения дуги
- Важную роль играет скорость расхождения контактов
Процесс гашения дуги постоянного тока в контакторе можно разделить на следующие стадии:

- Возникновение дуги при размыкании контактов
- Удлинение дуги под действием магнитного поля
- Вхождение дуги в дугогасительную решетку
- Деление дуги на короткие участки
- Повышение напряжения на дуге и ее окончательное гашение
Конструктивные особенности контакторов переменного тока
Контакторы переменного тока имеют ряд особенностей по сравнению с контакторами постоянного тока:
- Применение шихтованного магнитопровода для уменьшения вихревых токов
- Использование короткозамкнутого витка на полюсе для уменьшения вибрации
- Меньшие размеры дугогасительной системы из-за гашения дуги при переходе тока через нуль
- Возможность использования электромагнита переменного тока
В контакторах переменного тока часто применяют Ш-образный магнитопровод с катушкой на среднем стержне. Это обеспечивает компактность конструкции и хорошие тяговые характеристики.
Области применения контакторов
Контакторы широко применяются в различных отраслях промышленности и энергетики:
- Управление электродвигателями
- Коммутация силовых цепей
- Пуск и реверс двигателей
- Управление освещением
- Коммутация конденсаторных батарей
Выбор типа контактора зависит от характера нагрузки, режима работы, требуемой частоты коммутаций и других факторов. Правильный выбор контактора обеспечивает надежную и долговечную работу коммутируемого оборудования.

Характеристики контакторов постоянного и переменного тока — МегаЛекции
Методические указания
Самара
Самарский государственный технический университет
Печатается по решению редакционно-издательского совета СамГТУ
УДК 621. 313
Испытания контакторов постоянного и переменного тока(лабораторные работы №1, 2): метод. указ. / Сост. Э.Г. Чеботков, В.М. Хатилин. – Самара; Самар. гос. техн. ун-т, 2008. – 76 с.
Содержатся основы теории, общие сведения о конструкциях, принципе действия, особенностях, типах и характеристиках контакторов постоянного и переменного тока; приведены методические указания по выполнению лабораторных работ №1 и 2 по курсу «Электрические и электронные аппараты».
Предназначено для студентов электротехнических специальностей.
Составители Э.
Г. Чеботков, В.М. Хатилин
Рецензент д-р техн. наук В.Е. Высоцкий
УДК 621.313
© Э.Г. Чеботков, 2008
© Самарский государственный
технический университет, 2008
ОБЩИЕ СВЕДЕНИЯ
Контактор – это одноступенчатый аппарат, предназначенный для частых дистанционных включений и отключений электрических силовых цепей. Замыкание контактов контактора может осуществляться электромагнитным или гидравлическим приводом. Наибольшее распространение получили электромагнитные контакторы.
В настоящее время частота коммутаций в схемах электропривода достигает 3600 в час. Этот режим работы является наиболее тяжелым. При каждом включении и отключении происходит износ контактов. Поэтому принимаются меры к сокращению длительности горения дуги при отключении и к устранению вибраций контактов.
Общие технические требования к контакторам и условия их работы регламентированы ГОСТ 11206–77.
Ниже описываются категории применения современных контакторов и приводятся параметры коммутируемых ими цепей в зависимости от характера нагрузки.
а) Контакторы переменного тока.
АС-1 – активная или малоиндуктивная нагрузка.
АС-2 – пуск электродвигателей с фазным ротором, торможение противовключением.
AG-3 – пуск электродвигателей с короткозамкнутым ротором. Отключение вращающихся двигателей при номинальной нагрузке.
АС-4 – пуск электродвигателей с короткозамкнутым ротором. Отключение неподвижных или медленно вращающихся электродвигателей. Торможение противовключением.
б) Контакторы постоянного тока.
ДС-1 – активная или малоиндуктивная нагрузка.
ДС-2 – пуск электродвигателей постоянного тока с параллельным возбуждением и их отключение при номинальной частоте вращения.
ДС-3 – пуск электродвигателей с параллельным возбуждением и их отключение при неподвижном состоянии или медленном вращении ротора.
ДС-4 – пуск электродвигателей с последовательным возбуждением и их отключение при номинальной частоте вращения.
ДС-5 – пуск электродвигателей с последовательным возбуждением, отключение неподвижных или медленно вращающихся двигателей, торможение противотоком.
Для контакторов существует еще режим редких коммутаций, характеризуемый более тяжелыми условиями, чем при нормальных коммутациях (ток включения достигает 10 Iном). Такие режимы возникают довольно редко (например, при КЗ).
Основными техническими данными контакторов являются номинальный ток главных контактов, предельный отключаемый ток, номинальное напряжение коммутируемой цепи, механическая и коммутационная износостойкость, допустимое число включений в час, собственное время включения и отключения. Способность контактора, как и любого коммутационного аппарата, обеспечить работу при большом числе операций характеризуется износостойкостью. Различают механическую и коммутационную износостойкость.
Механическая износостойкость определяется числом циклов включения-отключения контактора без ремонта и замены его узлов и деталей. Ток в цепи при этом равен нулю. Механическая износостойкость современных контакторов составляет (10-20) · 10 6 операций.
Коммутационная износостойкость определяется таким числом включений и отключений цепи с током, после которого требуется замена контактов. Современные контакторы должны иметь коммутационную износостойкость порядка (2-3) · 106 операций (некоторые выпускаемые в настоящее время контакторы имеют коммутационную износостойкость 106 операций и менее).
Собственное время включения состоит из времени нарастания потока в электромагните контактора до значения потока трогания и времени движения якоря. Большая часть этого времени тратится на нарастание магнитного потока. Для контакторов постоянного тока с номинальным током 100 А собственное время включения составляет 0,14 с, для контакторов с током 630 А оно увеличивается до 0,37 с.
Собственное время отключения – время с момента обесточивания электромагнита контактора до момента размыкания его контактов. Оно определяется временем спада потока от установившегося значения до потока отпускания. Временем с начала движения якоря до момента размыкания контактов можно пренебречь. В контакторах постоянного тока с номинальным током 100 А собственное время отключения составляет 0,07, в контакторах с номинальным током 630 А – 0,23 с.
Номинальный ток контактора представляет собой ток, который можно пропускать по замкнутым главным контактам в течение 8 ч без коммутаций, причем превыше ние температуры различных частей контактора не должно быть больше допустимого (прерывисто-продолжительный режим работы). Номинальный рабочий ток контактора – это допустимый ток через его замкнутые главные контакты в конкретных условиях применения. Так, например, номинальный рабочий ток контактора для коммутации асинхронных двигателей с короткозамкнутым ротором выбирается из условий включения шестикратного пускового тока двигателя.
Номинальным напряжением называется наибольшее напряжение коммутируемой цепи, для работы при котором предназначен контактор. Коммутационная износостойкость главных контактов для категорий ДС-2, ДС-4 и АС-3 в режиме нормальных коммутаций должна быть не менее 0,1, а для категорий ДС-3 и АС-4 – не менее 0,02 механической износостойкости. Вспомогательные контакты должны коммутировать цепи электромагнитов переменного тока, у которых пусковой ток может во много раз превышать установившийся.
Контактор имеет следующие основные узлы: контактную систему, дугогасительное устройство, электромагнит и систему вспомогательных контактов. При подаче напряжения на обмотку электромагнита контактора его якорь притягивается. Подвижный контакт, связанный с якорем электромагнита, замыкает или размыкает главную цепь. Дугогасительное устройство обеспечивает быстрое гашение дуги, благодаря чему достигается малый износ контактов. Система вспомогательных слаботочных контактов служит для согласования работы контактора с другими устройствами.
Контакторы постоянного тока коммутируют цепь постоянного тока и имеют, как правило, электромагнит также постоянного тока.
Контакторы переменного тока коммутируют цепь переменного тока. Электромагнит этих контакторов может быть выполнен либо для работы на переменном токе, либо для работы на постоянном токе. В связи с повышением производительности труда в настоящее время схемы электрифицированных приводов требуют до 1 200 и более включений в час. Этот режим работы является наиболее тяжелым. При каждом включении и отключении происходит износ контактов. Поэтому принимаются все меры к сокращению длительности горения дуги при отключении и к устранению вибрации при включении. Большая частота операций требует высокой механической устойчивости электромагнитного механизма контактора. Способность аппарата обеспечивать работу при большом числе операций характеризуется износоустойчивостью. Различают механическую и электрическую износоустойчивость.
Механическая износоустойчивость определяется числом включений-отключений контактора без ремонта и замены его узлов и деталей.
Ток в цепи при этом равен нулю. К современным контакторам предъявляется очень высокое требование по механической износоустойчивости (10-20)· операций.
Электрическая износоустойчивость определяется числом включений и отключений, после которого требуется замена износившихся контактов. Современные контакторы должны иметь электрическую износоустойчивость порядка 2-3 млн операций. Эти требования очень высоки (часть выпускаемых в настоящее время контакторов имеет электрическую износоустойчивость 106 операций и менее). Наряду с высокой механической и электрической износоустойчивостью контакторы должны иметь малый вес и размеры. Зона выхлопа раскаленных газов дуги должна быть возможно малой, что позволяет сократить размеры всей установки в целом. Детали, наиболее быстро подвергающиеся износу, должны быть легко доступны для замены. Общие технические требования изложены в ГОСТ 11206-65.
Контактор имеет следующие основные узлы: контактную систему, дугогасительную систему, электромагнитный механизм, систему блокконтактов.
При подаче напряжения на катушку электромагнита притягивается якорь. Подвижный контакт, связанный с якорем, производит замыкание или размыкание главной цепи. Дугогасительная система обеспечивает быстрое гашение дуги, благодаря чему достигается малый износ контактов. Кроме главных контактов, контактор имеет несколько дополнительных слаботочных контактов (блок-контактов) для согласования работы контактора с другими аппаратами.
2. УСТРОЙСТВО КОНТАКТОРА С УПРАВЛЕНИЕМ
ОТ СЕТИ ПОСТОЯННОГО ТОКА
а) Контактная система. Контакты аппарата подвержены наиболее сильному электрическому и механическому износу ввиду большого числа операций в час и тяжелым условиям работы. С целью уменьшения износа преимущественное распространение получили линейные перекатывающиеся контакты. В процессе работы контакты большого числа аппаратов разрывают цепь с током, большим, чем минимальный ток дугообразования. Возникающая электрическая дуга способствует быстрому износу контактов.
Для надежного гашения дуги, образующейся при отключении, между неподвижным и подвижным контактами необходимо создавать определенное расстояние. В реальных аппаратах это расстояние выбирается с запасом.
Расстояние между неподвижным и подвижным контактами в полностью отключенном положении аппарата называется раствором контактов. Конструкция разрывных контактов зависит от номинального тока, тока короткого замыкания цепи, режима работы, назначения аппарата и рассмотрена в разделах, посвященных устройству различных аппаратов. Здесь же мы рассмотрим только некоторые общие вопросы.
В зависимости от конструкции крепления контактов меняется число контактных точек соприкосновения и стабильность контакта.
Контакт, имеющий возможность свободно устанавливаться на поверхности, имеет максимальное число точек касания. Такой контакт называется самоустанавливающимся. Пример такого контакта дан на рис. 2.1. Неподвижные контакты 1 и подвижный мостиковый контакт 2 в месте касания имеют сферические (или цилиндрические) напайки 3,выполненные из серебра или металлокерамики.
Нажатие контактов создается пружиной 4. После касания контактов скоба 5, связанная с якорем электромагнита, продолжает свое движение вверх на величину, равную вжиму (провалу) контакта 6.
Применительно крис. 2.1 провалом (вжимом) контакта называется расстояние, на которое переместится подвижный контакт, если убрать неподвижный контакт. В контактах рис. 2.1 пленка окисла не стирается, поэтому медь нельзя использовать в этой конструкции.
На рис. 2.1 показана пальцевая система с перекатыванием, широко применяемая в контакторах с медными контактами. Контактный рычаг 4 связывается с якорем электромагнита. При включении центр О перемещается по дуге с радиусом 02Ох(1). Касание пальцев 1 и 2 происходит в точке В. При дальнейшем перемещении точка касания переходит в А. Перекатывание контакта 2 по контакту 1 происходит с небольшим проскальзыванием. При этом пленка окисла на контактах стирается.
При включении контактов, из-за шероховатости на поверхности касания появляется дополнительная вибрация контактов. Поэтому величина проскальзывания должна быть небольшой. При отключении дуга загорается между точками В-В, что спасает от оплавления точки А-А,в которых контакты касаются во включенном положении. Таким образом удается разделить контакт на две части: в одной происходит гашение дуги, в другой ток проводится длительно. Поскольку для контактовнепосредственный контроль провала контактов б затруднен, о величине провала судят по зазору, образующемуся между рычагом и контактной скобой.
Во всех без исключения аппаратах имеется вжим (провал) контактов, который обеспечивает необходимое нажатие контактов. Вследствие обгорания и износа контактов в процессе эксплуатации вжим уменьшается, что приводит к уменьшению силы нажатия и росту переходного сопротивления контактов. Поэтому в эксплуатации вжим контактов должен обязательно контролироваться и находиться в пределах, требуемых заводом-изготовителем.
Особенно это относится к аппаратам, работающим в режиме частых включений и отключений (контакторы), где износ контактов особенно интенсивен. В торцевом мостиковом контакте вжим обычно составляет 3-5 мм. В мощных выключателях высокого напряжения он увеличивается до 8-10 мм.
Р и с. 2.1. Конструкции коммутирующих контактов:
а – перекатывающиеся; б – мостиковые; в – сдвоенные
При больших номинальных токах (более 2 000 А)применяется сдвоенная контактная система (рис. 2.1, а). Аппарат имеет главные контакты 1 – 1′ и дугогасительные 2 – 2′.
Тело главных контактов выполняется из меди, а поверхности их соприкосновения – из серебра, нанесенного электролитически (слой 20 мк)или в виде припаянных серебряных пластинок.
Тело дугогасительного контакта выполняется из меди. Наконечники дугогасительных контактов выполняются из дугостойкого материала вольфрама или металлокерамики.
Ввиду того, что сопротивление цепи главных контактов значительно меньше, чем дугогасительных, 75-80% длительного тока проходит через главные контакты, имеющие малое переходное сопротивление.
При отключении вначале расходятся главные контакты и весь ток цепи перебрасывается в дугогасительные. Контакты 2 – 2’расходятся в тот момент, когда расстояния между главными контактами достаточно, чтобы выдержать наибольшее напряжение, возникающее в процессе гашения дуги на дугогасительных контактах.
При включении таких контактов вначале замыкаются дугогасительные контакты, а затем главные, что обеспечивает отсутствие дуги и оплавление на серебряных поверхностях главных контактов. Ввиду громоздкости это решение применяется только при очень больших токах в автоматах и выключателях высокого напряжения.
Во всех остальных случаях стремятся подобрать соответствующий контактный материал и обойтись одноконтактной системой.
Для предотвращения вибраций контактов контактная пружина создает предварительное нажатие, равное примерно половине конечной силы нажатия.
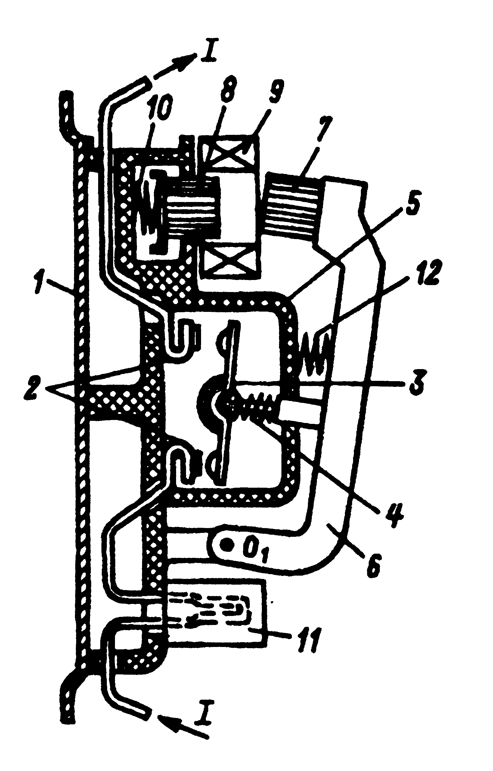
Большое влияние на вибрацию оказывают жесткость крепления неподвижного контакта и стойкость к вибрациям всего контактора в целом. В этом отношении очень удачна конструкция контактора серии КПВ-600 (рис. 2.2). Неподвижный контакт 1 жестко укреплен к скобе 2. Один конец дугогасительной катушки 3 присоединен к этой же скобе. Второй конец катушки вместе с выводом 4 надежно скреплен с изоляционным основанием из пластмассы 5. Последнее крепится к прочной стальной скобе 6,которая является основанием аппарата. Подвижный контакт 7 выполнен в виде толстой пластины. Нижний конец пластины имеет возможность поворачиваться относительно точки опоры 8. Благодаря этому пластина может перекатываться по сухарю неподвижного контакта 1. Вводной зажим 9 соединяется с подвижным контактом 7 с помощью гибкого проводника (связи) 10. Контактное нажатие создается пружиной 12.
Р и с.
2.2. Контактор постоянного тока серии КПВ–600
При износе контактов сухарь 1 заменяется на новый, а пластина подвижного контакта поворачивается на 180° и неповрежденная сторона ее используется в работе. Для уменьшения оплавления основных контактов дугой при токах более 50 А контактор имеет дугогасительные контакты – рога (2-11). Под действием магнитного поля дугогасительного устройства опорные точки дуги быстро перемещаются на скобу 2, соединенную с неподвижным контактом 1, и на защитный рог подвижного контакта 11. Возврат якоря в начальное положение (после отключения магнита) производится пружиной 13.
Основным параметром контактора является номинальный ток, который определяет величину (размеры) контактора. Так, контактор II величины имеет ток 100 А, III – 150 Аи т.д.
Характерной особенностью контактов КПВ-600 и многих других типов является электрическое соединение вывода подвижного контакта с корпусом контактора.
Во включенном положении контактора магнитопровод находится под напряжением. Даже в отключенном положении напряжение может оставаться на магнитопроводе и других деталях, поэтому соприкосновение с магнитопроводом опасно для жизни.
Серия контакторов КПВ имеет исполнение с размыкающимся главным контактом. Замыкание производится за счет действия пружины, а размыкание – за счет силы, развиваемой электромагнитом.
Номинальным током контактора называется ток прерывисто-продолжительного режима работы. При этом режиме работы контактор находится во включенном состоянии не более 8 ч. По истечении этого промежутка аппарат должен быть несколько раз включен и отключен (для зачистки контактов от окиси меди). После этого аппарат снова включается.
Если контактор располагается в шкафу, то номинальный ток понижается примерно на 10% из-за ухудшающихся условий охлаждения.
В продолжительном режиме работы, когда длительность времени непрерывного включения превышает 8 ч,допустимый ток контактора снижается примерно на 20%.
В таком режиме из-за окисления медных контактов растет переходное сопротивление, что может привести к повышению температуры выше допустимой величины.
Если контактор имеет небольшое число включений или вообще предназначен для длительного включения, то на рабочую поверхность контактов напаивается серебряная пластина. Серебряная облицовка позволяет сохранить допустимый ток контактора, равный номинальному, и в режиме продолжительного включения. Если контактор наряду с режимом продолжительного включения используется в режиме повторно-кратковременного включения, применение серебряных накладок становится нецелесообразным, так как из-за малой механической прочности серебра происходит быстрый износ контактов. В повторно-кратковременном режиме при ПВ 40% допустимая величина тока, как правило, составляет примерно 120% номинального значения.
Согласно рекомендациям завода допустимый ток повторно-кратко-временного режима для контактора КПВ-600 определяется по формуле
,
где , а п – число включений в час.
Необходимо отметить, что если при отключении в повторно-кратковременном режиме длительно горит дуга (отключается большая индуктивная нагрузка), то температура контактов может резко увеличиться за счет подогрева контактов дугой. В этом случае нагрев контактов в продолжительном режиме работы может быть меньше, чем в повторно-кратковременном режиме.
Как правило, контактная система имеет один полюс.
Для реверса асинхронных двигателей при большой частоте включений в час (до 1 200) применяется сдвоенная контактная система. В этих контакторах типа КТПВ-500, имеющих электромагнит постоянного тока, подвижные контакты изолированы от корпуса, что делает более безопасным обслуживание аппарата. На рис. 2.3 показана схема включения контакторов для реверса асинхронных двигателей.
По сравнению со схемой, имеющей однополюсные контакторы, схемарис. 2.3 имеет большое преимущество. При неполадках и отказе одного контактора подается напряжение только на один зажим двигателя.
В схеме с однополюсными контакторами отказ одного контактора ведет к возникновению тяжелого режима двухфазного пи
тания двигателя.
Р и с. 2.3. Схема включения главных контактов контактора
КТПВ-600 для реверса асинхронного двигателя
Контакторы с двухполюсной контактной системой очень удобно использовать для закорачивания сопротивлений в цепи ротора асинхронного двигателя. В контакторах типа КМВ-521 применяется также двухполюсная система. Эти контакторы предназначены для включения и отключения мощных электромагнитов приводов постоянного тока масляных выключателей. Наличие двухполюсной контактной системы, включенной в оба провода сети постоянного тока, обеспечивает надежное отключение сильно индуктивной нагрузки в виде электромагнитов.
б) Дугогасительная система. В контакторах постоянного тока наибольшее распространение получили устройства с электромагнитным дутьем.
Как указывалось, при взаимодействии магнитного поля с дугой возникает электродинамическая сила, перемещающая дугу с большой скоростью.
Электрическая дуга является газообразным проводником тока. На этот проводник, так же как на металлический, действует магнитное поле, создавая силу, пропорциональную индукции поля и току в дуге. Магнитное поле, действуя на дугу, увеличивает ее длину и перемещает элементы дуги в пространстве с большой скоростью.
Поперечное перемещение элементов дуги создает интенсивное охлаждение, что приводит к повышению градиента напряжения на столбе дуги.
При движении дуги в среде газа с большой скоростью возникает расслоение дуги на отдельные параллельные волокна. Чем длиннее дуга, тем сильнее происходит расслоение дуги.
Дуга является чрезвычайно подвижным проводником. Известно, что на токоведущую часть действуют такие силы, которые стремятся увеличить электромагнитную энергию контура. Поскольку энергия пропорциональна индуктивности, то дуга под действием своего собственного поля стремится образовывать витки, петли, так как при этом возрастает индуктивность цепи.
Эта способность дуги тем сильнее, чем больше ее длина.
Движущаяся в воздухе дуга преодолевает аэродинамическое сопротивление воздуха, которое зависит от диаметра дуги, расстояния между электродами, плотности газа и скорости движения. Опыт показывает, что во всех случаях в равномерном магнитном поле дуга движется с постоянной скоростью. Следовательно, электродинамическая сила уравновешивается силой аэродинамического сопротивления.
С целью создания эффективного охлаждения дуга с помощью магнитного поля втягивается в узкую щель между стенками из дугостойкого материала с высокой теплопроводностью (диаметр дуги больше ширины щели). Из-за увеличения теплоотдачи стенкам щели градиент в столбе дуги при наличии узкой щели значительно выше, чем у дуги, свободно перемещающейся между электродами. Это дает возможность сократить необходимую для гашения длину дуги и время гашения.
Для улучшения охлаждения дуги ее загоняют в щель из дугостойкого материала с высокой теплопроводностью.
При расхождении контактов 1 – 7 между ними возникает дуга 14 (см. рис. 2.2). Дугу можно рассматривать как проводник с током. Катушка 3 создает намагничивающую силу, под действием которой возникает поток. Этот поток проходит через сердечник катушки, полюсные наконечники 15 и воздушный зазор, в котором горит дуга. На рис. 2.2крестиками помечен магнитный поток между полюсами системы, направленный за плоскость чертежа.
Вопрос гашения дуги постоянного тока в контакторах был подробно исследован О.Б. Броном.
Нарис. 2.4 изображена зависимость раствора контактов, при котором происходит гашение дуги, от величины тока и напряженности магнитного поля для контактора одного типа. При всех значениях напряженности поля Н кривые имеют один и тот же характер: при токе 5-7 Акривая достигает максимума, после чего с ростом тока необходимый раствор падает и при токе 200 Авсе кривые сливаются. Такой ход кривых объясняется следующими явлениями. Электродинамическая сила, действующая на единицу длины дуги, равна
,
где – ток; В – индукция магнитного поля.
Рассмотрим случай, когда H = 0 (кривая 1). При малом значении тока в дуге величина электродинамической силы получается столь незначительной, что она не оказывает никакого влияния на процесс гашения. Условия, необходимые для гашения, создаются за счет механического растяжения дуги подвижным контактом. Чем больше величина отключаемого тока, тем большая энергия должна быть рассеяна в дуге. При этом условия гашения дуги наступают при большей ее длине.
При токе более 7 Ана дугу действует электродинамическая сила, возникающая как за счет магнитного поля подводящих проводников, так и за счет конфигурации самой дуги (грубо можно представить, что дуга имеет форму части окружности). Эти силы являются решающими для гашения дуги. Чем больше ток в цепи, тем больше электродинамическая сила, растягивающая дугу. В результате при токе 200 Адля гашения дуги достаточно иметь раствор контактов около 1,5 мм.Фактически при таком токе, как только контакты разойдутся, возникающие электродинамические силы выталкивают дугу из межконтактного зазора и перемещают со скоростью несколько десятков метров в секунду.
При этом длина дуги, при которой она гаснет, достигает 10 мм и более. Наличие внешнего магнитного поля способствует резкому сокращению раствора контактов в области малых токов и незначительно сказывается на процессе гашения при токах 100 Аи выше. Оптимальной напряженностью является H = 55 А/см. Дальнейшее увеличение напряженности мало влияет на процесс гашения, но требует большей мощности для создания магнитного поля, что связано с увеличением затрат меди на катушку.
Кривая зависимости длительности горения дуги от величины тока изображена на рис. 2.5. По своей форме она похожа на кривые рис. 2.4.
С ростом тока увеличивается необходимый для гашения раствор контактов. При заданной скорости их движения требуется и большее время для достижения необходимого раствора. В области больших токов процесс гашения определяется электродинамическими силами. Чем больше ток, тем больше скорость растяжения дуги динамическими силами и меньше время, необходимое для достижения дугой критической длины.
Хотя при токах выше 100 Априменение магнитного дутья кажется излишним (рис. 2.4 и 2.5), во всех контакторах на токи 100 А и выше такая система обязательно применяется. Дело в том, что наличие внешнего магнитного поля способствует быстрому перемещению опорных точек дуги на контактах, перегоняя ее на дугогасительные электроды – рога и тем самым уменьшая оплавление контактов. Для каждого значения тока имеется свое оптимальное значение поля. При напряженности, большей оптимальной, наступает усиленный износ контактов за счет того, что жидкометаллический контактный мостик, образующийся в стадии размыкания контактов, уносится и распыляется сильным магнитным полем.
Р и с. 2.4. Зависимость раствора контактов от тока дуги
Р и с. 2.5. Зависимость длительности горения дуги от тока
Величина напряжения отключаемой цепи утяжеляет процесс гашения дуги только в области малых токов до 30 А.
В области с токами выше 100 А, когда решающую роль играют электродинамические силы, величина питающего напряжения практически не влияет на раствор контактов. Раствор контактов обычно берется 10-17 мми определяется условиями гашения малого тока.
Характер нагрузки отключаемой цепи также оказывает влияние только при малых токах в области, где гашение дуги происходит за счет механического растяжения дуги. В области больших токов следует опасаться больших перенапряжений и повторных пробоев из-за резкого снижения тока к нулю при сильном магнитном поле.
В зависимости от способа создания магнитного поля различают системы с последовательным (сериесным) включением дугогасительной катушки и с параллельным (шунтовым) включением катушки и системы с постоянным магнитом.
В случае применения сериесной катушки она обтекается током, проходящим в отключаемой цепи. Если пренебречь магнитным сопротивлением стали, то можно считать, что индукция пропорциональна отключаемому току.
Тогда выражение для силы, действующей на дугу, можно преобразовать к виду
.
Таким образом, сила, действующая на единицу длины дуги, пропорциональна квадрату тока.
Как было показано ранее, наиболее важно иметь необходимую величину магнитного поля для дутья в области малых токов. Сериесная система обладает как раз тем недостатком, что в этой области токов не создает необходимой напряженности магнитного поля. В результате гашение дуги получается малоэффективным. На рис. 2.5 изображена зависимость длительности горения дуги и электродинамической силы, действующей на нее, от величины тока для контактора на 150 А. Кривые времени гашения: 1 – при отсутствии магнитного дутья; 2 – при сериесной системе. При токе 10 Адлительность горения дуги достигает 0,09 сек.Такая длительность горения дуги недопустима, так как возможно устойчивое горение без погасания.
Согласно опытным данным ток, надежно отключаемый контакторами с сериесным дутьем, составляет 20-25% номинального тока аппарата.
Для надежного и быстрого гашения дуги в области малых токов применяются контакторы на небольшой ток (блок-контакторы) со сменными дугогасительными катушками. Эти катушки имеют номинальный ток 1,5-40 А. При малом отключаемом токе катушка имеет большое число витков, благодаря чему создается необходимое магнитное поле для гашения дуги за малое время.
Необходимо отметить, что за счет сильного магнитного дутья возможен резкий обрыв тока, что приводит к возникновению перенапряжений в сильно индуктивной цепи. Поэтому рекомендуется дугогасительную катушку выбирать на ток, который не более чем в 3 раза превышает ток, отключаемый контактором в цепи с большой индуктивностью. Предельный ток, который может отключать блок-контактор, не должен превышать трехкратного значения номинального тока дугогасительной катушки.
Достоинства системы с сериесной катушкой таковы.
1. Система хорошо работает в области токов свыше 100 А. При этих токах магнитное поле быстро сдувает дугу с рабочих поверхностей контактов и обеспечивает малый их износ.
2. Работа системы не зависит от направления тока. При изменении направления тока меняет знак и магнитное поле. Сила, действующая на дугу, не изменяет своего направления.
3. Поскольку через катушку проходит номинальный ток контактора, она выполняется из провода большого сечения. Такая катушка механически прочна и не боится ударов, возникающих при работе контактора. Падение напряжения на катушке составляет доли вольта. Поэтому к изоляции катушки не предъявляются высокие требования.
Наряду с достоинствами эта система имеет и ряд недостатков.
1. Плохое гашение дуги при малых токах (5-7 А).
2. Большая затрата меди на катушку.
3. Подогрев контактов за счет тепла, выделяемого дугогасительной катушкой.
Несмотря на эти недостатки, система с сериесной катушкой благодаря высокой надежности при гашении номинальных и больших токов получила преимущественное распространение.
В параллельной (шунтовой) системе катушка, создающая магнитное поле, подключается к независимому источнику питания.
Напряженность магнитного поля, создаваемая системой, постоянна и не зависит от отключаемого тока.
Сила, действующая на дугу, пропорциональна отключаемому току.
На рис. 2.5изображена эта зависимость для случая, когда н.с. сериесной обмотки при номинальном токе равна н.с. шунтовой. При токах от 0 до сила, действующая на дугу, при шунтовой катушке получается большей, чем при сериесной, – прямая F2. Это позволяет резко снизить длительность горения дуги в области малых токов. При токах больших сила, действующая на дугу, при сериесной катушке больше, чем при шунтовой. Однако для гашения это не имеет существенного значения, так как решающими являются силы, возникающие в самом контуре дуги.
Зависимость времени гашения дуги от тока для шунтовой обмотки приведена на рис. 2.5 (кривая 3).
Поскольку в области малых токов шунтовая катушка действует более эффективно, чем сериесная, при одной и той же длительности горения дуги требуется меньшая н.
с., что дает экономию. Однако шунтовые катушки имеют и ряд крупных недостатков.
1. Направление электродинамической силы, действующей на дугу, зависит от полярности тока. При изменении направления тока дуга меняет направление своего движения. Контактор не может работать при перемене полярности тока.
2. Поскольку к катушке прикладывается напряжение источника питания, изоляция должна быть рассчитана на это напряжение. Катушка выполняется из тонкого провода. При ударах и вибрациях возможны повреждение изоляции провода и выход из строя катушки. Близость дуги к такой катушке делает ее работу ненадежной.
3. При коротких замыканиях возможна посадка напряжения па источнике, питающем катушки. В результате процесс гашения дуги идет неэффективно.
В связи с указанными недостатками системы с шунтовой обмоткой в настоящее время применяются только в случаях, когда необходимо отключать небольшие токи от 5 до 10 А. В аппаратах на большие силы тока эта система не применяется.
Система с постоянным магнитом по существу мало отличается по своей характеристике от системы с шунтовой обмоткой. Магнитное поле создается за счет постоянного магнита.
По сравнению с системами, где поле создается обмотками, постоянный магнит имеет ряд преимуществ.
1. Нет затрат энергии на создание магнитного поля.
2. Резко сокращается расход меди на контактор.
3. Отсутствует подогрев контактов от катушки, как это имеет место в системе с сериесной обмоткой.
Рекомендуемые страницы:
Воспользуйтесь поиском по сайту:
Назначение и устройство реле и контакторов — Студопедия.Нет
Электромагнитные контакторы МК
Назначение. Электромагнитные контакторы предназначены для включения и отключения вспомогательных цепей и цепей управления.
Конструкция. Электромагнитные контакторы по конструкции делятся на две группы:
контакторы МК-63, МК-64, МК-66, МК-68, МК-69 и МК-116.
контакторы МК-82, МК-85 и МК-96.
Аппараты обеих групп имеют однополюсное и двухполюсное исполнение, они также могут быть выполнены с электрическими блокировками и без них. Контакты электрической блокировки мостикового типа с серебряными накладками. Для защиты контактов от попадания на них пыли и грязи блокировка закрыта защитным прозрачным кожухом. Все контакторы имеют электромагнитный привод клапанного типа с втягивающей катушкой постоянного тока.
Контакторы МК-63-МК-69 и МК-116 по конструкции аналогичны. Поэтому рассмотрим устройство и работу только контактора МК-63 . Конструкция контактора выполнена таким образом, что все узлы и детали смонтированы на скобе электромагнита . Неподвижные контакты в виде скоб установлены на изоляционной колодке и образуют самостоятельный узел. Подвижные контакты в виде мостика расположены в окнах изоляционной тяги , которая своими призмами опирается с одной стороны на якорь , с другой — на коромысло . Эти детали образуют подвижную систему контактора.
Сами мостики в средней части имеют перегиб по радиусу. Такое исполнение позволяет обеспечить одновременность размыкания контактов при отключении. Все контакты снабжены металлокерамическими накладками из композиции серебро-окись кадмия, что дает возможность значительно увеличить их коммутационную износостойкость. Контактное нажатие осуществляется пружиной .
При подаче напряжения на втягивающую катушку электромагнита якорь под действием электромагнитных сил поворачивается иа призматической опоре и сообщает поступательное движение тяге. При этом происходит замыкание или размыкание силовых и блокировочных контактов. Выключение контактора осуществляется отключающей пружиной после снятия напряжения с катушки. При размыкании силовой цепи на контактах возникает электрическая дуга, которая гасится за счет интенсивного нарастания сопротивления в двух дуговых промежутках. Контактор не имеет электромагнитного дугогашения. Дугогасительная камера предназначена для ограничения пламени дуги.
Как было сказано выше, контакторы этой группы МК-66, МК-68, МК-69 и МК-116 конструктивно аналогичны. Отличие заключается в числе и сочетании силовых контактов, наличии и сочетании блокировочных контактов. Кроме того, подвижные контакты контактора МК-116 мостикового типа не имеют перегиба в средней части. У контактора МК-66 для обеспечения быстродействия срабатывания втягивающая катушка зашунтирована конденсаторами.
Контакторы МК-82, МК-85 и МК-96 по конструкции также аналогичны и поэтому рассматривается только устройство контактора МК-83 .
Контактор состоит из основных узлов: электромагнитного привода, электромагнитной системы дугогашения, контактной системы и электрической блокировки.
Электромагнитный привод (электромагнит) выполнен в виде П-образной скобы, на которой смонтированы все узлы и детали аппарата, В окне скобы на призме установлен якорь , который удержи в а ет ся отключающей пружиной и специальными накладками. К скобе с помощью болта закреплена втягивающая катушка.
Электромагнитная система дугогашения состоит из дугогаситель-ной катушки и дугогасительной камеры с полюсами. Вся эта система смонтирована на изоляционном прессованном основании , установленном также на П-образной скобе электромагнитного привода. На основании расположены выводы контактора.
Контактная система включает в себя подвижной и неподвижный контакты с контактной пружиной. Неподвижный контакт установлен на кронштейне, закрепленном на изоляционном основании, а подвижной контакт установлен в корпусе изоляционного кронштейна на игольчатой опоре и соединен гибким соединением с выводом контактора. Контакты выполнены из профильной кадмиевой меди, что обеспечивает их высокую коммутационную износостойкое. Для обеспечения заданного раствора и провала предусмотрены регулировочные пластины и шайбы .
Электрическая блокировка выполнена в виде самостоятельного узла. Блокировочные контакты — мостикового типа с накладками из серебра. Для защиты контактов от попадания на них пыли и грязи блокировка закрыта прозрачным кожухом.
Крепится блокировка непосредственно па скобе электромагнита.
Пневматические контакторы ПК
Назначение. Пневматические контакторы предназначены для включения и отключения силовых цепей электровоза. Пневматические контакторы всех типов по конструкции и принципу действия аналогичны. Поэтому рассмотрим устройство и работу только контактора ПК-96.
Конструкция. Контактор состоит из следующих основных узлов: неподвижного «и подвижного контактов, пневматического привода , дугогасительной камеры и электрической блокировки . Все узлы и детали аппарата смонтированы на изолированном металлическом стержне . Узел неподвижного контакта состоит из кронштейна , дугогасительной катушки , главного контакта и дугогасительного контакта . На кронштейне подвижного контакта шарнирно установлен рычаг , несущий контактодержатель с главным контактом и дугогасительным контактом . Главные контакты имеют накладки из композиции серебро-окись кадмия и предназначены для длительного прохождения через них тока, дугогасительные контакты имеют накладки из композиции медь-вольфрам и предназначены для коммутации силового тока.
Рычаг изоляционной тягой связан со штоком пневматического привода . Привод включает в себя цилиндр, отключающую пружину, подвижной шток с поршнем и электромагнитный вентиль. Уплотнение поршня осуществляется резиновой манжетой.
Для дугогашения в контакторе использована однощелевая дугогасительная камера, выполненная в виде двух прессованных боковин из дугостойкого материала. На выходе камеры установлены пламегасительные решетки.
Электрическая блокировка — пальцевого типа. Колодка блокировки с медными сегментами соединена с подвижной системой контактора через тягу, с помощью которой и приводится в действие.
Включение контактора осуществляется сжатым воздухом, поступающим в цилиндр пневматического привода через электромагнитный вентиль при подаче на его катушку напряжения. Поршень под действием сжатого воздуха перемещает подвижную систему аппарата, производит замыкание силовых и переключение блокировочных контактов. При этом дугогасительные контакты замыкаются первыми.
Отключение контактора происходит под действием отключающей пружины после снятия напряжения с катушки вентиля. Сжатый воздух выходит из цилиндра через корпус вентиля в атмосферу. Поденная система возвращается положение, размыкая сначала главные, а затем дугогасительные контакты. Возникающие на дугогасительных контактах электрическая дуга под действием магнитного поля дугогасительной катушки входит в щель камеры, где и гасится.
Тепловые реле ТРТ
Реле ТРТ предназначены для защиты вспомогательных машин от перегрузок.
Конструкция. Биметаллические пластины имеют и-образную форму и посажены на ось . На правый конец пластины опирается цилиндрическая пружина 11, другой конец которой опирается на изоляционную колодку, несущую на себе подвижной контактный мостик с серебряными контактами. Левый конец пластины соединен с механизмом установки позволяющим регулировать ток срабатывания путем изменения натяга биметаллических пластин. При достижении тока срабатывания термобиметаллические пластины изгибаются настолько, что поворачивают пружину , изменяется направление усилия на колодку , колодка поворачивается вокруг оси и отключает контакт.
Спустя 1-2 мин пластины остывают, занимают первоначальное положение п реле самовосстанавливается.
В корпусе установлен неподвижный контакт . Кнопка служит для принудительного восстановления реле до полного остывания пластин. Ток установки реле увеличивается примерно на 3,5% при уменьшении температуры окружающей среды па каждые 10° С и уменьшается на то же значение при увеличении температуры.
Реле управления и защиты
Назначение. Промежуточные реле РП-277, РП-279, РП-280, РП-262, РП-283, РП-287, РП-580-2 предназначены для размножения сигналов первичных реле и коммутации цепей управления.
Реле времени РЭВ-292, РЭВ-295, РЭВ-597 предназначены для управления с выдержкой времени аппаратами цепей управления; РЭВ-299 — для управления схемой защиты от юза; РЭВ-312 (рис. 148) — для управления импульсной подсыпкой песка при боксованиии.
Реле заземлення РЗ-303 предназначено для защиты силовой цепи электровоза при замыкании на «землю».
Реле контроля «земли» РКЗ-306 предназначено для сигнализации о появлении замыкания на «землю» вспомогательных цепей.
Реле защиты от юза РЗЮ-580-1 предназначено для сигнализации о юзе колесных пар, включения контактора ослабления возбуждения и включения клапана песочниц.
Реле боксования РБ-4С9 предназначено для защиты тяговых двигателей от боксования; воздействует на подсыпку песка под колеса электровоза п включение сигнальной лампочки.
Реле перегрузки РТ-252, РТ-253, РТ-255 , РТ-465-01 предназначены для защиты от перегрузок и коротких замыканий в силовых и вспомогательных цепях электровоза.
Конструкция. По конструкции реле промежуточные, реле времени, реле заземления, реле контроля «земли», реле защиты от юза максимально унифицированы. Реле электромагнитные, с магнитной системой клапанного типа. Магнитная система состоит из ярма U-образной формы и якоря . Магнитопровод установлен на панели из пластмассы. Реле (кроме реле времени) имеют полюсный наконечник сферической формы.
Для предохранения от саморазвинчивания резьбовое соединение наконечника и сердечника магнитопровода производится на сурике железном густотертом. На сердечнике магнитопровода расположена катушка . На якоре установлена немагнитная прокладка .
Блокировка представляет собой самостоятельный узел . От попадания пыли и грязи контакты блокировки защищены прозрачным кожухом. Контакты — мостикового типа, материал контактных накладок — серебро.
Неподвижные контакты установлены на изоляционной панели . Подвижные контакты собраны на штоке и изолированы друг от друга втулками . Контактное нажатие создается пружиной . Перемещение всего подвижного контактного узла создается отключающей пружиной . Различное сочетание контактов в пределах одного типоразмера получают заменой съемных неподвижных контактов, поворотом мостиков, уменьшением или добавлением контактных пар.
5.Схема СМ
Управление силовой цепью электровоза переменного тока сводится к управлению с помощью главной рукоятки серводвигателем СМ главного контроллера: его ручному «или автоматическому пуску, фиксации (остановке) серводвигателя на какой-либо позиции, его реверсированию, сбросу позиций и фиксации на позициях сброса.
Пуск серводвигателя, его реверсирование, электрическое торможение осуществляются с помощью контакторов 208 и.206 (на рис. 91 сохранена нумерация аппаратов, присвоенная заводом-изготовителем), замыкающие и размыкающие контакты которых включены в его цепь. (Напомним, что все контакты на рис. 91 показаны в положении, соответствующем отсутствию тока в аппаратах.) В необходимых случаях с помощью главной рукоятки можно быстро выключить главный выключатель силовой цепи.
Рис. 91. Упрощенная схема цепи управления тяговыми двигателями электровоза переменного тока
В соответствии со сказанным главная рукоятка контроллера машиниста электровоза может занимать восемь позиций: 0 — нулевая; БВ — быстрое выключение главного выключателя; АВ — автоматическое выключение; РВ — ручное выключение; ФВ — фиксация выключения; ФП — фиксация пуска; РП — ручной пуск; АП — автоматический пуск.
Машинист при подготовке электровоза к пуску включает кнопку Цепь управления и замыкает специальным ключом контакт 213 блокировочного устройства тормозов, в результате чего подается напряжение 50 В в цепь управления контроллера. Затем машинист ставит главную рукоятку на позицию 0. Если при этом вал одного из двух главных контроллеров находится не на нулевой позиции (машинист управляет двумя главными контроллерами, расположенными в каждой секции локомотива), то через ряд блокировок замыкается цепь катушки контактора 208. Тогда включается его замыкающий контакт и выключается размыкающий в цепи серводвигателя. На позиции 0, как видно из развертки кулачковых шайб главного вала контроллера машиниста, катушка контактора 206 обесточена и его размыкающие контакты в цепи серводвигателя СМ включены так, что двигатель вращается в сторону сброса позиции. Как только вал главного контроллера установится в нулевую позицию, специальная блокировка прервет цепь катушки контактора 208, контакты которого разорвут цепь питания двигателя СМ и накоротко замкнут обмотку его якоря.
В результате начнется электрическое торможение двигателя СМ.
Затем машинист переводит главную рукоятку контроллера в положение фиксации пуска ФП, контактор 206 включится и его контакты подготовят цепь якоря серводвигателя СМ к тому, что при замыкании его цепи контактами контактора 208 он начнет вращаться в направлении, соответствующем набору позиций. Контактор 208 включится при переводе главной рукоятки контроллера из положения ФП в положение РП и серводвигатель повернет вал группового переключателя на одну позицию набора.
Как только этот поворот завершится, соответствующие блокировки пррвут цепи питания катушки контактора 208 и его размыкающие контакты замкнут накоротко якорь серводвигателя СМ. Для набора следующей позиции машинист должен поставить главную рукоятку снова в положение ФП, чтобы подготовить цепь якоря серводвигателя, и затем перевести рукоятку в положение РП.
Переводя рукоятку с позиции на позицию, машинист следит за показаниями амперметра, чтобы не допустить перегрузки тяговых двигателей.
их устройство, принцип действия, назначение, область применения — Студопедия.Нет
Контроллер — это электрический аппарат, с помощью которого изменяют схемы включения в силовой цепи и цепи возбуждения электрических машин.
Конструктивно он представляет собой переключающее многоступенчатое устройство. Привод контроллеров ручной, ножной или электродвигательный. Переключающее контактное устройство состоит из ряда неподвижных контактов, с которыми замыкаются или размыкаются подвижные контакты при повороте вала.
В зависимости от конструкции контактного устройства контроллеры подразделяются на барабанные и кулачковые контроллеры.
Барабанный контроллер состоит из изоляционного валика барабана, который вращается при помощи рукоятки (штурвала). На поверхности валика размещены в определенном порядке контактные медные полосы, а на изоляционной планке- неподвижные контакты.
При повороте рукоятки на определенный угол медные полосы соединяются со своими неподвижными контактами.
Барабанные контроллеры применяются для управления двигателями постоянного тока мощностью до 45 кВт и переменного тока — до 75 кВт.
Кулачковые контроллеры применяются для управления двигателями больших мощностей. На плате из изоляционного материала укреплен неподвижный контакт. Подвижный контакт закреплен шарнирно на рычаге, который на противоположном конце имеет ролик, перекатывающийся по профильной (кулачковой) шайбе, помещенной на вертикальном валу. При повороте вала рычаг поворачивается, преодолевая сопротивление пружин и, замыкает контакты.
Контактор
Контакторы — это двухпозиционные аппараты с самовозвратом дистанционного управления, которые предназначены для частых включений и отключений силовых электрических цепей при нормальных режимах работы. В контакторах предусмотрены защиты, присущие автоматам.
Рис. 6.15
Контакторы (рис.
6.15) имеют главные (силовые) контакты (4, 10) и вспомогательные или блок — контакты (6 — размыкающие, 7 — замыкающие), предназначенные для организации цепей управления и блокировки. Главные контакты, как правило, снабжаются специальными дугогасительными камерами (8).
При подаче питания на электромагнитную катушку (1), расположенную на ферромагнитном сердечнике (11), подвижный якорь (3) притягивается к сердечнику и при этом замыкаются силовые контакты. Одновременно с ними срабатывают блок — контакты.
При исчезновении напряжения или его уменьшении до 50% от номинального под действием пружин якорь вернется в исходное состояние. Для уменьшения вибрации магнитная система снабжена короткозамкнутым витком (2).
Электромагнитные контакторы получили широкое распространение, они являются основными коммутирующими аппаратами схем автоматизированного электропривода.Магнитные пускатели переменного тока предназначены в основном для дистанционного управления асинхронными электродвигателями.
Осуществляют также нулевую защиту, т. е. при исчезновении напряжения или его снижении на 40-60% от номинального магнитная система отпадает и силовые контакты размыкаются. В комплекте с тепловым реле пускатели выполняют также защиту электродвигателей от перегрузок и от токов, возникающих при обрыве одной из фаз.Наиболее распространенные серии пускателей с контактной системой и электромагнитным приводом: ПМЕ, ПМА, ПА*, ПВН, ПМЛ, ПВ, ПАЕ*, ПМ12.Пускатели выпускаются в открытом, защищенном и пылебрызгонепроницаемом исполнениях, с тепловыми реле и без них, бывают реверсивными и нереверсивными.
Устройство и принцип действия электромагнитного реле, геркона, теплового реле, реле времени, фотореле.
Реле — это элемент автоматического устройства, который при воздействии на его вход внешних физических явлений скачкообразно принимает значение выходной величины.Электромагнитное реле представляет собой прибор, в котором при достижении определенного значения входной величины выходная величина изменяется скачком и предназначено для применения в цепях управления, сигнализации.
Существует много разновидностей реле, как по принципу действия, так и по назначению. Реле бывают: механические, гидравлические, пневматические, тепловые, акустические, оптические, электрические и др.
По назначению они подразделяются на реле автоматики, реле защиты, исполнительные реле, реле промежуточные, реле связи.
Устройство. Рассмотрим в качестве примера электромагнитное реле с поворотным якорем (рис. 1). В этом реле различают две части: воспринимающую электрический сигнал и исполнительную.
Воспринимающая часть состоит из электромагнита , представляющего собой катушку, надетую на стальной сердечник, якоря и пружины .
Исполнительная часть состоит из неподвижных контактов , подвижной контактной пластины , посредством которой воспринимающая часть реле воздействует на исполнительную, и контактов
Следует обратить внимание на то, что воспринимающая и исполнительная части реле не имеют между собой электрической связи и включаются в разные электрические цепи.
Реле приводится в действие слабым (малоточным) сигналом, и само может приводить в действие более мощную исполнительную аппаратуру (контактор, масляный выключатель, пускатель и т.д.).
Принцип действия. Когда ток в катушке электромагнита отсутствует, якорь под действием пружины удерживается в верхнем положении, при этом контакты реле разорваны.
При появлении тока в катушке электромагнита якорь притягивается к сердечнику и подвижный контакт замыкается с неподвижным. Происходит замыкание исполнительной цепи, т. е. включение того или иного подсоединенного исполнительного устройства.
В зависимости от исполнения реле комплектуются розетками под пайку, под DIN-рейку, розетками под винт.
Простейшее герконовое реле с замыкающими контактами состоит из двух контактных сердечников с высокой магнитной проницаемостью (пермаллой), размещенных в стеклянном герметичном баллоне, заполненном либо инертным газом, либо чистым азотом, либо сочетанием азота с водородом.
5 Па. Инертная среда предотвращает окисление контактных сердечников. Стеклянный баллон герконового реле устанавливается внутри обмотки управления, питаемой постоянным током. При подаче тока в обмотку герконового реле возникает магнитное поле, которое проходит по контактным сердечникам через рабочий зазор зазор между ними и замыкается по воздуху вокруг катушки управления. Создаваемый при этом магнитный поток при прохождении через рабочий зазор образует тяговую электромагнитную силу, которая, преодолевая упругость контактных сердечников, соединяет их между собой. Для создания минимального переходного сопротивления контактов, поверхности касания герконов покрывают золотом, радием, паладием или серебром. При отключении тока в обмотке электромагнита герконового реле сила исчезает, и под действием сил упругости контакты размыкаются. В герконовых реле отсутствуют детали, подвергающиеся трению, а контакты сердечника многофункциональны, так как при этом выполняют одновременно функцию магнитопровода, пружины и токопровода.
Для уменьшения размеров намагничивающей катушки увеличивают допустимую плотность тока, используя для намотки теплостойкий эмалированный провод. Все детали изготавливаются штамповкой, а соединяются сваркой или пайкой. Для уменьшения зоны включенного состояния в герконах применяются магнитные экраны. Пружины герконов не имеют предварительных натягов, поэтому включение их контактов происходит без периода трогания. Если в герконах наряду с электромагнитом используется постоянный магнит, то герконы из нейтральных переходят в поляризованные. В отличии от электромагнитных реле обычного типа, у которых контактное нажатие зависит от параметров контактных пружин, контактное нажатие герконовых реле зависит от МДС обмотки и увеличивается с ее ростом. Из-за технологической погрешности коэффициента возврата герконовые реле имеют большой разброс от 0,3 до 0,9. С целью увеличения коммутационного тока и номинальной мощности герконовые реле имеют дополнительные дугогасительные контакты. Такие реле называются герметичные силовые контакты или герсиконы.
Промышленностью выпускаются герсиконы от 6,3 до 180 А. Частота включений в час достигает 1200. С помощью герсиконов осуществляется пуск асинхронных двигателей мощностью до 3 кВт. Особый класс герконов – реле на ферритах, которые обладают свойством памяти. В таких реле для переключения в катушку необходимо подать импульс тока обратной полярности с целью размагничивания ферритного сердечника. Они называются герметизированные запоминающие контакты или гезаконы.
Тепловые реле — это электрические аппараты, предназначенные для защиты электродвигателей от токовой перегрузки. Наиболее распространенные типы тепловых реле: ТРП, ТРН, РТЛ и РТТ. Долговечность энергетического оборудования в значительной степени зависит от перегрузок, которым оно подвергается во время работы.
Биметаллическая пластина теплового реле состоит из 2-х пластин, одна из которых имеет больший температурный коэффициент расширения, другая — меньший. В месте прилегания друг к другу пластины жестко скреплены либо за счет проката в горячем состоянии, либо за счет сварки.
Если закрепить неподвижно такую пластину и нагреть, то произойдет изгиб пластины в сторону материала с меньшим. Именно это явление используется в тепловых реле.
Широкое распространение в тепловых реле получили материалы инвар (малое значение a) и немагнитная или хромоникелевая сталь.
Нагрев биметаллического элемента теплового реле может производиться за счет тепла, выделяемого в пластине током нагрузки. Очень часто нагрев биметалла производится от специального нагревателя, по которому протекает ток нагрузки. Лучшие характеристики получаются при комбинированном нагреве, когда пластина нагревается и за счет тепла, выделяемого током, проходящим через биметалл, и за счет тепла, выделяемого специальным нагревателем, также обтекаемым током нагрузки. Прогибаясь, биметаллическая пластина своим свободным концом воздействует на контактную систему теплового реле.
Принцип работы фотореле для уличного освещения основывается на действии фотодатчика, контролирующего уровень света.
Такой датчик бывает выносным, то есть расположенным вне корпуса, и встроенным, монтированным в электрический щиток. Для выносных фотореле существуют обязательные условия эксплуатации, которые предусматривают наличие прочного герметичного корпуса, имеющего повышенные показатели уровня защищённости от неблагоприятных факторов окружающей среды. Фотореле оснащается, в обязательном порядке, потенциометром, предназначенным для безошибочного определения порога функции выключения и включения. Также каждое подобное устройство имеет встроенную защиту от ложных срабатываний, вызванных помехами различного уровня. Качественное сертифицированное оборудование срабатывает только в строго определённые моменты, заранее заданные мастером при установке.
Простое отличие пускателя от контактора по ГОСТ и правилам.
Даже среди профессиональных электриков нередко возникают жаркие споры, какой коммутационный аппарат считать пускателем, а какой контактором.
Не особо разбирающиеся, и то и другое попросту называют пускачами.
Что уж говорить о рядовых потребителях, которые с этими устройствами могут столкнуться всего пару раз за всю жизнь.
Ошибки при выборе
Некоторые ошибочно в первую очередь смотрят на дугогасительные камеры, считая, что если они есть, тогда перед ними контактор.
Якобы они нужны для гашения токов, начиная с 5-й величины. Пятая величина – ток равный I=100А.
При этом думая, что пускатель рассчитан только на малые токи (до 100А).
Сторонники данной классификации даже придумали собственную градацию:
- реле – это устройства для малых токов
- пускатели – для средних
- контакторы – для больших токов
Все это конечно не соответствует действительности. В таких заблуждениях, скорее всего, виновата одна довольно популярная марка, а именно ПМЛ.
У этих моделей пускатели рассчитаны на токи от 10 до 100А, а контакторы от 10 до 800А. Отсюда и пошла неразбериха.
Якобы, если устройство более 100А, значит оно относится к контакторам. На некоторых упаковках даже указываются, казалось бы, прямо противоположные надписи. С одной стороны пишется:
- ПМ – пускатель магнитный
И тут же с другой:
Чему верить и что говорят об этом правила и документация? Чтобы это понять, в первую очередь найдем определения этих устройств и посмотрим в чем заключаются отличия.
Что такое контактор
Вот что говорит об этом действующий на данный момент ГОСТ 17703-72 “Аппараты электрические коммутационные. Основные понятия.”
Здесь в качестве самовозврата используется пружина. Возможность частых коммутаций токов обеспечивается самой конструкцией.
Некоторые вопросы возникают относительно последней формулировки – “приводимый в действие двигательным приводом”.
Какой элемент считать двигательным приводом?
Чтобы разобраться, опять обратимся к ГОСТу и найдем соответствующее определение.
Можно ли считать, что в контакторе установлен эл.магнитный привод? Что об этом говорит другой ГОСТ 24856-2014 “Арматура трубопроводная. Термины и определения.”
Как видите, это именно то, что нужно. В нашем случае, подвижные контакты как раз таки и приводятся в действие эл.магнитным полем катушки.
Принцип действия в контакторах тянущий – при подаче напряжения часть сердечника втягивается и неподвижные контакты замыкаются с подвижными.
Однако помимо вышеприведенных определений контактора, есть еще несколько. Например, в СТО 173330282.27.010.001-2008 “Электроэнергетика. Термины и определения.” приведена более упрощенная формулировка:
А вот что говорится в ГОСТ 60309-4-2013 “Вилки, розетки и соединители промышленного назначения”.
Смысл во всех этих расшифровках названий один и тот же, и глобальных разночтений не наблюдается.
Теперь давайте рассмотрим определение пускателя.
Что такое пускатель
Разобраться в этом нам поможет ГОСТ Р 500030.4.4-2012 “Аппаратура распределения и управления низковольтная”.
Самое главное, что вы должны понять из этого определения:
Пускатель – это не одиночное устройство, это комбинация нескольких устройств, необходимых для пуска и остановки двигателя.
Например, в нем в качестве защиты от перегрузки может выступать тепловое реле.
Вытащите его, и ваш пускатель превратится в контактор. А еще в пускателях могут быть встроены защиты от обрыва фазы, от падения напряжения и др.
Все это и превращает обычный контактор в пускатель.
Исходя из этого и выводится главное правило, как отличить контактор от пускателя:
- контактор – это ОДИНОЧНЫЙ двухпозиционный коммутационный аппарат
- пускатель – это комбинация коммутационных устройств
Выходит, что контактор это всего лишь одна из частей комбинации или иными словами – часть пускателя.
Таким образом, назначение устройства вытекает из самого названия “пускатель” – от слова “пуск” двигателя. Контактор от слова “контакт”, то есть просто коммутировать, соединять и разъединять цепь (без ее защиты).
Никакие другие самовольные интерпретации не имеют под собой нормативного обоснования. Чем чаще вы будете обращаться именно к документам, а не к “электрикам с опытом”, тем проще будет докопаться до истины и самое главное, всегда можно будет убедительно доказать свои слова и правоту.
Источник — Фарадей
Статьи по теме
Контактор переменного тока — Электрическое реле времени Geya, Завод автоматизации в КИТАЕ
Почему контактор переменного тока Geya
Все контакторы переменного тока, производимые GEYA, будут производиться в строгом соответствии с производственным процессом.
GRYA имеет подробный архив, чтобы гарантировать отсутствие ошибок при разработке, производстве, приемке и продаже контакторов переменного тока.
Для проверки работоспособности контактора переменного тока мы проведем строгие испытания, и все элементы могут быть проданы и отправлены только после прохождения испытаний.
GEYA предлагает устойчивые решения, которые помогают нашим клиентам эффективно управлять электрической, гидравлической и механической мощностью — безопаснее, эффективнее и надежнее.
При нормальном использовании, в течение гарантийного периода, если контактор переменного тока имеет проблему или повреждение, GEYA активно и ответственно примет необходимые меры по исправлению положения и отремонтирует или заменит его бесплатно. По истечении гарантийного срока мы по-прежнему будем предоставлять пожизненное платное техническое обслуживание продукта.
С момента основания более 10 лет назад наши продукты и услуги помогали людям работать более безопасно, более энергоэффективно и сокращать выбросы.
Geya Electric занимается проектированием и производством низковольтных электрических устройств для промышленного применения. Наша текущая продукция предлагает широкий спектр низковольтных электрических устройств и элементов управления автоматикой, включая MCB, MCCB, RCD, выключатель-разъединитель, контактор, реле, таймер, распределительную коробку и другие серии сопутствующих аксессуаров и компонентов.Кроме того, мы предлагаем ряд применений для систем солнечной энергии, включая контроллер заряда солнечной энергии, инвертор солнечных насосов, а также системы солнечной энергии.
GEYA Electric предлагает ассортимент из более чем 100 продуктов, которые соответствуют самым строгим требованиям международных стандартов, таких как CCC, CE, CB, SAA, SEMKO, TUV и Rosh.
GEYA выполнит в соответствии с требованиями пользователей, чтобы обеспечить высокое качество, высокий уровень обслуживания и высокую скорость выполнения задач по доставке.
Разница между контактором переменного тока и контактором постоянного тока
Контактор переменного тока может быть заменен контактором постоянного тока в случае аварии, но время срабатывания не должно быть более 2 часов (поскольку характеристики рассеивания тепла катушки переменного тока хуже, чем у катушки постоянного тока, что определяется их различной конструкцией ).
Для длительного использования резистор лучше подключить последовательно к катушке переменного тока. Напротив, контактор постоянного тока не может быть заменен контактором переменного тока.
имеет несколько катушек, а контактор постоянного тока их больше, их можно отличить по размеру катушки. Если ток в главной цепи слишком велик (Ie> 250 А), контактор должен иметь последовательную дуплексную обмотку. Катушка реле постоянного тока имеет большое реактивное сопротивление, но небольшой ток.
Железный сердечник контактора переменного тока обычно ламинирован листом кремнистой стали, чтобы уменьшить вихревые токи и гистерезисные потери, возникающие из-за переменного магнитного поля в железном сердечнике, избежать перегрева железного сердечника.Однако железный сердечник в катушке контактора постоянного тока не будет генерировать вихревой ток, и в сердечнике постоянного тока нет проблем с нагревом, поэтому железный сердечник может быть изготовлен из полностью литой стали или чугуна.
Катушка цепи постоянного тока не имеет индуктивности, поэтому у катушки больше витков, что приводит к большому сопротивлению и потерям в меди. Для того чтобы катушка могла хорошо отводить тепло, ее обычно делают тонкой цилиндрической формы. Катушка контактора переменного тока имеет меньше витков и небольшое сопротивление, но катушка также выделяет тепло, поэтому катушка обычно имеет толстую и короткую цилиндрическую форму.Между тем, оставляется зазор, чтобы облегчить отвод тепла и избежать перегорания катушек. Чтобы устранить вибрацию и шум, создаваемые электромагнитом, на поверхность статического железного сердечника контактора переменного тока встроено кольцо короткого замыкания, в то время как контактор постоянного тока не нуждается в кольце короткого замыкания.
Железный сердечник контактора переменного тока покрыт листом кремнистой стали, что снижает вихревые токи и гистерезисные потери, создаваемые переменным магнитным полем в железном сердечнике.Когда переменный ток проходит через магнитную катушку, катушка генерирует переменную силу срабатывания на якорь.
Когда переменный ток равен нулю, магнитный поток в катушке также становится нулевым, как и сила срабатывания якоря. Якорь покажет тенденцию к отпусканию под действием пружины сброса.
Это приводит к тому, что сила срабатывания между динамическим и статическим сердечником изменяется вместе с изменением переменного тока, таким образом вызывая изменения и шум, ускоряя контактный износ между динамическим и статическим сердечником, что приводит к плохому контакту.Серьезно, это также может привести к выгоранию контактов. Чтобы устранить этот недостаток, в частичный конец основной колонны встраивается медное кольцо, которое называется короткозамкнутым кольцом. Это короткозамкнутое кольцо эквивалентно вторичной обмотке трансформатора. Когда катушка подключена к источнику переменного тока, не только катушка генерирует магнитный поток, но и индуцированный ток в короткозамкнутом кольце. В это время короткозамкнутое кольцо эквивалентно цепи чистой индуктивности.
Согласно фазовому положению цепи чистой индуктивности, мы знаем, что магнитный поток, вызванный током катушки, и магнитный поток, вызванный индуцированным током короткозамкнутого кольца, не могут быть нулевыми одновременно.
А именно, когда ток, обеспечиваемый источником питания, равен нулю, индуцированный ток короткозамкнутого кольца не может быть нулевым, его магнитный поток притягивает пару якоря и, таким образом, преодолевает тенденцию к отпусканию якоря и гарантирует, что якорь всегда приводится в действие. когда он включен. В результате шум и вибрация, очевидно, снижаются, поэтому короткозамкнутое кольцо также называют кольцом устранения вибрации.
Основные различия между контактором переменного тока и контактором постоянного тока:
- Железный сердечник контактора переменного тока будет генерировать вихревые токи и гистерезисные потери, в то время как контактор постоянного тока не имеет потерь в сердечнике.Поэтому железный сердечник контактора переменного тока изготовлен из многослойных листов кремнистой стали, которые обычно имеют E-образную форму, в то время как железный сердечник контактора постоянного тока изготовлен из полностью мягкой стали, которая обычно имеет U-образную форму.

- Когда однофазный переменный ток проходит через контактор переменного тока, на конце статического сердечника встраивается кольцо короткого замыкания для устранения вибрации и шума, создаваемых электромагнитом. Однако контактор постоянного тока не нуждается в кольце короткого замыкания. Контактор переменного тока
- оснащен устройством гашения дуги с решеткой, в то время как контактор постоянного тока оснащен устройством гашения дуги магнитным гашением. Контактор переменного тока
- имеет большой пусковой ток, его максимальная рабочая частота составляет около 600 раз в час, а у контактора постоянного тока может быть 1200 раз в час.
Купите подходящий контактор переменного тока от 9А до 95А или контактор постоянного тока от 50А до 600А на ATO, чем больше вы покупаете, тем больше скидок.
Контактор переменного тока 3SC8 / Контакторы / Электрооборудование и материалы
3SC8 подходит для использования в цепях переменного тока 50 Гц или 60 Гц, номинальное напряжение изоляции 660 В, номинальное рабочее напряжение до 690 В, номинальное рабочее напряжение 380/400 В в типе AC-3, номинальный рабочий ток до 95 А, для включения , прерывание, частый запуск и управление двигателем переменного тока.
В сочетании с блоком вспомогательных контактов, таймером задержки, устройством механической блокировки и т. Д. Он становится контактором задержки, контактором механической блокировки, пускателем звезда-треугольник. С тепловым реле он объединяется в электромагнитный пускатель. Контактор производится в соответствии с IEC 60947. -4.Продукт SEMKO сертифицирован ИНТЕРТЕК.
Номинальный рабочий ток: 9A, 12A, 18A, 25A, 32A, 40A, 50A, 65A, 80,95A
Прочая продукция поставщиков
Все товары поставщикаТе же продукты
| Стопорных Для Bores | Продавец: WENZHOU MAIWEI AUTO PARTS CO., ООО | Стопорных Для Bores, стопорные | |
| Стопорное кольцо для отверстия | Продавец: WENZHOU MAIWEI AUTO PARTS CO. , LTD | Стопорное кольцо для отверстий, стопорных | |
| Основные Внутренний стопорное кольцо | Продавец: WENZHOU MAIWEI AUTO PARTS CO., ООО | Основные внутреннее стопорное кольцо, стопорное кольцо | |
| Стальная внутренняя шайба | Продавец: WENZHOU MAIWEI AUTO PARTS CO., LTD | сталь Внутренняя шайба, стопорное кольцо | |
| Стопорных для дырок | Продавец: WENZHOU MAIWEI AUTO PARTS CO., ООО | Стопорных для дырок стопорных |
Phoenix Contact «4-в-1» Полупроводниковый реверсивный контактор CONTACTRON ELR W3-230AC / 500AC-9I 2297060 Scheda Tecnica — Pagina 1 di 56
97
96
MAN
RES
AUT
E
Us
R
L
9000 R
W3-
24DC / 500AC-9I
Заказ.
-No .:
22
970
57
Полупроводниковый
реверсивный
контактор
www
.interface.phoenixcontact.com
32825
Blomberg,
Германия
Ввод:
Вход:
:
42-500
В перем. e
Категория
3
13849-1: 9 0137
Категория
3
EN
954-1:
1 / L1
3 / L2
5 / L3
2 / T1
4 / T2
4 / T2
4 /
Сброс
Сброс
Автосброс
Сброс
2
MAN
MAN
24
В постоянного тока
с
U
с
U
97
96/98
97
96/98
95
и ошибка
24VDC
L
R
E 90 005
II (2)
GD
PTB
07 ATEX
3145
X
Err
, 5
9,0
Сброс
макс.
9 A
1 / L1
3 / L2
5 / L3
2 / T1
4 / T2
4 / T2
MAN
RES
AUT
97
96
95
R
E
ELR
W3-
24DC / 500AC-9I
4,0
6,5 96137
34 34 95MAN
RES
AUT
E
Us
R
L
T
T
ELR
W3-
24DC / 500AC-2I
Ord.-No .:
22
970
31
Полупроводниковый
реверсивный
контактор
www
.
interface.phoenixcontact.com
32825
Blomberg,
Германия
Ввод:
Вход:
:
42-500
В перем. Тока / 2,4A
IEC
61508:
SIL
3
3
e
Категория
3
13849-1:
Категория
3
EN
954-1:
1 / L1
3 / L2
5 / L3
2 / T2
4 / T2
4 / T2
4 /
Сброс
Сброс
Автосброс
Сброс
2
MAN
MAN
24
В постоянного тока
с
U
с
U
97
96/98
97
96/98
95
и ошибка
24VDC
L
R
E
II (2)
GD
PTB
07 ATEX
3145
X
Err
макс.
2,4
A
1 / L1
3 / L2
5 / L3
2 / T1
6 / T3MAN
RES
AUT
97
96
96
95
37S
E
ELR
W3-
24DC / 500AC-2I
0,18
34 0,8
34 0,8
1,63
Halbleiter-Wendeschütze
Твердотельный реверсивный контактор
Обратный контактор на полупроводники 9000 5
Контактор инверсный полупроводниковый
ELR W3- 24DC / 500AC-2I
Арт.-Nr .: 2297031
ELR W3-230AC / 500AC-2I
Art.-Nr .: 2297044
ELR W3- 24DC / 500AC-9I
Art.-Nr .: 2297057
ELR W3-230AC / 500AC-9I
Артикул: 2297060
DE
EN
FR
ES
PHOENIX DONTACT -32823 Бломберг, Германия
Факс + 49- (0) 5235-341200, Телефон + 49- (0) 5235-300
MNR 67/05.


, LTD