Автор схемы этого усилителя А. И. Манаков занимается конструированием высококачественной звуковоспроизводящей аппаратуры с 1963 года. По моему мнению, он немало преуспел в этом. Конструкции его имеют отличное звучание, легко повторяемы и имеют заслуженный успех даже у начинающих. Я лишь (с разрешения автора) изложу особенности его работы.
Вниманию читателей предлагается простая оригинальная схема усилителя мощности в двух вариантах. Первый — бюджетный, с автоматическим смещением выходной лампы. Второй — с фиксированным смещением от отдельной обмотки силового трансформатора.
По мнению автора схемы, вариант с фиксированным смещением отличается более глубоким и красивым звуком, хотя и вариант с автоматическим смещением вас не разочарует, позволив всем его повторившим не узнать звучание своих любимых записей.
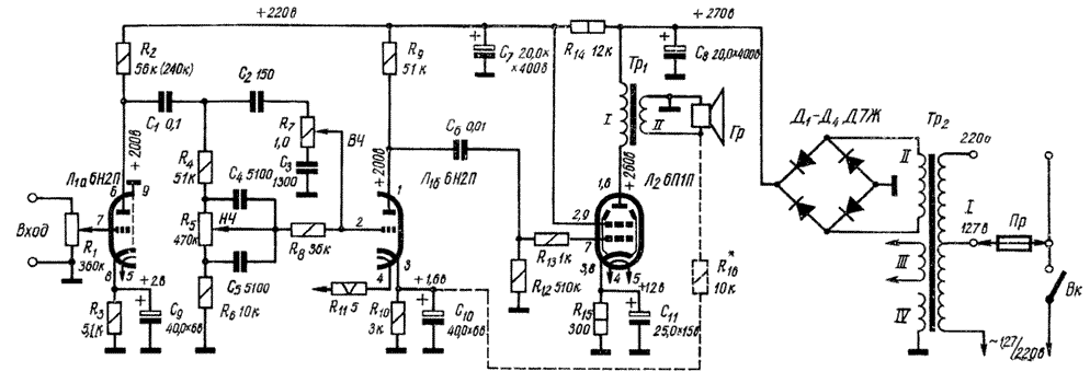
Схема усилителя в варианте с автосмещением выходной лампы приведена на рис. 1. Входной сигнал после регулятора громкости подается на управляющую сетку двойного триода 6Н2П. Лампа эта имеет высокий коэффициент усиления и высокое внутреннее сопрогивление, что в данном случае не очень хорошо. В подробности это-‘0 я вдаваться не буду, так как об этом можно прочитать в любой радиотехнической литературе.
Рис. 1. Схема усилителя
Основной особенностью включения лампы предварительного каскада является параллельное включение двух триодов, находящихся внутри одного баллона лампы 6Н2П. Этим достигается уменьшение внутреннего сопротивления лампы, что влечет за собой улучшение нагрузочной способности и соотношение сигнал/шум. Сопротивление нагрузки выбрано не случайно, при этом достигается компенсация коэффициента нелинейных искажений выходного каскада и высокая динамика сигнала. Конденсатор емкостью 470 мкФ, шунтирующий резистор катода, позволяет устранить влияние обратной связи, уменьшающей усиление первого каскада.
Конденсатор емкостью 0,22 мкФ является разделительным и от его качества очень сильно зависит звук усилителя в целом. Можно применить ФТ, К71, К78, при желании получить более “теплое” звучание -К40У-2, К40У-9, К42У-2. Не рекомендуется БМ, МБМ ввиду их утечки. Нежелательно применять К73 из-за их менее естественного звучания. Еще одно. При применении выходного трансформатора ТВ31-9 емкость этого конденсатора следует уменьшить до 0,047…0,068 мкФ. Дело в том, что ламповый однотактник при внешней простоте — конструкция сложная, например, емкость этого конденсатора входит в расчет амплитудно-частотной характеристики выходного каскада.
Теперь о выходном каскаде. Лампа 6П43П была выбрана не случайно. После прослушивания многих экземпляров ламп 6П14П, 6П18П, 6П43П было отдано предпочтение именно последней. Конструкция лампы характеризуется правильной геометрией внутренних частей, что само по себе говорит о высоком классе этого пентода. Поставьте именно эту лампу — и вы будете вознаграждены сочным и ярким звучанием, прекрасной детализацией звука и его оттенками.
Емкость конденсатора в цепи автоматического смещения можно увеличить до 1000 мкФ (сравните звук), а резистором, включенным параллельно этому конденсатору, выставляется ток катода выходной лампы в пределах 50 мА (в варианте с автосмещением).
Автор использовал выходной трансформатор ТВЗ 1-9 от лампового телевизора, перебранный и “сваренный” в парафине заново, заменив бумагу в зазоре на чертежную кальку, я же использовал трансформатор TW6SE московской фирмы “Аудиоинструмент”.
По моему мнению, отличному, например, от мнения Симулкина, схема усилителя которого приведена в журнале “Радиохобби” №2 за 2003 год (с. 57), никакой другой режим, кроме триодного, использовать не нужно. Рассуждения Станислава на стр. 58 о пентодном включении выходной лампы для рок-музыки, ультралинейного — для шансона и реггей, а триодного — для классической музыки мне кажутся спорными. Эклектикой можно заниматься, но к звуку это никакого отношения не имеет.
Основы построения высококачественных усилителей неизменны в течение многих десятилетий. Это:
— кратчайший, с наименьшими потерями, путь сигнала;
— высококачественные комплектующие;
— триодный режим выходного каскада.
Щелкать переключателем, да еще в анодной. цепи, нелогично и нецелесообразно, С этим к сурдологу.
Вариант блока питания приведен на рис. 2. Схема БП не отличается от описанных многократно и в комментариях не нуждается. Питать накал постоянным током не нужно, это приведет к ухудшению микродинамики.
Для варианта усилителя с фиксированным смещением выходной лампы, схема которого приведена на рис. 3, в блок питания добавляется дополнительный источник напряжения смещения, схема которого приведена на рис. 4. Подстроечным резистором R2 выставляется напряжение 0,04…0,05 В в контрольной точке К.Т. на схеме усилителя рис. 3.
Рис. 2. Схема блока питания
Рис. 3. Схема усилителя с фиксированным смещением выходной лампы
Рис. 4. Схема источника напряжения смещения
Рис. 5. Схема блока питания
Рис. 6. Схема блока питания
В заключение привожу параметры усилителя при фиксированном смещении, измеренные А. Манаковым.
Рвых = 2,5 Вт при КНИ = 2. ..3% на частоте 10ОО Гц. При Рвых = 2,2 Вт КНИ = 0,8…1%.
При использовании ТВЗ 1-9 частотный диапазон с 35…40 Гц до 18…19 кГц при неравномерности 1,5…2,0 дБ (зависит от качества исполнения ТВЗ 1-9). При использовании TW6SE фирмы “Аудиоинструмент” диапазон частот еще шире. Более подробно об изделиях этой фирмы можно узнать по ссылке на сайте Михаила Торопкина www.metaleater.narod.ru
Пусть вас не пугает невысокая выходная мощность — в комплекте с акустикой, чувствительностью от 90 дБ 2…3 Вт вполне достаточно.
Автор статьи — В. Пузанов. Статья опубликована в РЛ, №9, 2003 г.
Схема лампового усилителя мощности на 6Н2П и двух 6П14П (6Вт)
SE или однотактные схемы – это усилители, в которых сигнал усиливается одним усиливающим элементом (лампой, транзистором) последовательно на каждом каскаде. Эти системы работают в чистом классе А и ценятся многими аудиофилами благодаря их хорошей микродинамике и точности в представлении деталей. Простота также является преимуществом. Недостатками этих схем являются: низкая энергоэффективность (класс A), низкий коэффициент усиления, немного более высокий уровень искажений. Представляем здесь макет такого усилителя.
Предполагается, что это простая и дешевая система, которую можно построить имея минимальный опыт в электронике. Обычно самой дорогой частью лампового усилителя являются трансформаторы громкоговорителей, силовые трансформаторы и лампы. Поэтому, чтобы снизить затраты, предлагаем использовать акустические трансформаторы от старого лампового телевизора (понадобятся два). В таком телевизоре вы также найдете радиолампы, более мощные резисторы, некоторые высоковольтные конденсаторы также пригодятся.
Лампы, необходимые для создания этого усилителя, можно также достать разобрав старое радио. Сетевые трансформаторы можно намотать или купить. Конечно это не Hi-End усилитель, а простой усилитель для начинающих, но звук уже будет заметно отличаться от «кремния». Хотя качество звука в ламповых усилителях сильно зависит от трансформаторов громкоговорителей. Предлагаемые для сборки небольшие трансформаторы, используемые в ламповых телевизорах, не имеют очень хороших частотных параметров. Реально хороший трансформатор большой, тяжелый и довольно дорогой.
Список элементов
Усилитель
R1, R1A – 1 кОм,
R2, R2A – 470 кОм,
R3, R3A – 150 кОм,
R4, R4A – 1-1,5 кОм,
R5, R5A – 150-200 кОм
R6, R6A – 470 кОм,
R7, R7A – 1 кОм,
R8 – 500-1000 Ом, отрегулируйте ток сетки, чтобы он не превышал 5 мА,
R9, R9A – 120-180 Ом, подберите для получения нужного тока катода,
R10, R10A – 5-20 кОм,
R11 – 10-20 кОм,
P – 2×47 кОм / логарифмический,
C1, C1A – 100 мкФ / 16 В,
C2, C2A – 100-220 нФ / 250 В,
C3 – 100 нФ / 400 В,
C4 – 47 мкФ / 400 В,
C5, C5A – 100 мкФ / 25 В,
C7 – 33-100 пФ, выбрать чтобы он не срезал высокие частоты и сигнал осциллографа был правильным,
C6, C6A – около 1 нФ / 250 В припаять непосредственно к выходам трансформатора громкоговорителя.
Блок питания
R101 – 400-1000 Ом / 5 Вт,
R102, – 3-5 кОм / 1 Вт,
R103 – 270 кОм / 0,5 Вт,
R106 – 0,8-1,5 кОм чтобы светодиод светил достаточно ярко,
трансформатор питания 220 В / 250 В – 0,15 А, 6,3 В – 2,5 A.
Схема очень проста. На рисунке показан один канал, другой идентичен. Сигнал со входа через потенциометр P подается на триоды малой мощности (L1), работающие в схеме с общим катодом. После усиления на пентод (L2) подается через конденсатор C2. Трансформатор громкоговорителя (его анодная обмотка) является нагрузкой для этой лампы. Вторичные обмотки трансформатора позволяют питать динамик или наушники.
Усилитель охвачен петлей отрицательной обратной связи, которая уменьшает искажения и расширяет частотную характеристику. Однако это делается за счет усиления. Обратная связь берется с выхода динамика трансформатора и через резистор R10 подается на катод первой лампы (L1). Конденсатор С7 используется для возможной фазовой коррекции. Конденсаторы C3, C4 и резистор R11 образуют фильтр для предотвращения возбуждения усилителя. Аналогичную роль играют резисторы R1 и R7 в цепях ламповых сеток.
Радиолампа L2 может работать в двух режимах – пентод и триод. Режим пентод более мощный, с большим искажением. Режим триода менее эффективен, но имеет меньше искажений. Изменение режима работы может быть сделано с резистором R8. Он в режиме триода должен иметь небольшое значение – обычно это 100 Ом. Если хотим использовать режим пентод для работы усилителя, подключаем R8 как показано на схеме. Можно дать и более высокое значение но так, чтобы ток, протекающий через сетку 2, был немного меньше 5 мА. Как правило значение резистора составляет 500-1000 Ом.
Для подключения громкоговорителей необходим трансформатор, который изменит высокое напряжение в анодной цепи подходящим для сопротивления динамиков или наушников. Для этой цели идеально подходят популярные и простые в добыче трансформаторы из старого лампового телевизора. Естественно понадобится два, по одному на канал.
Можете поэкспериментировать с другими лампами, вместо 6П14П использовать более мощные пентоды (например 6L6 или другие) но помните, что это требует изменения напряжения питания, силовой трансформатор должен иметь также большую мощность. Значения элементов, определяющих рабочую точку лампы, тоже должны быть соответствующим образом подобраны, и трансформаторы АС должны быть адаптированы к типу ламп. Схемы таких усилителей можно легко найти на нашем сайте.
Детали и конструкция
Для улучшения звучания на низших частотах можно применить акустический фазоинвертер. Однако конструкция таких фазоинвертеров довольно сложна и поэтому лучше использовать уголковый отражатель, размещенный в углу комнаты или зала. Угол образует своеобразный акустический рупор.
Рис. 3. Конструкция уголкового отражателя.
Уголковый отражатель (рис. порядка 60-—70 Гц. Вид на уголковый отражатель сзади приведен на рис. 4.
Рис. 4. Вид на уголковый отражатель сзади.
Усилитель собран на П-образном шасси размерами 50Х150X200 мм, изготовленном из дюралюминия толщиной 3мм. Потенциометры R1, R2 и R3 укреплены на передней стенке шасси, входные и выходные гнезда — на задней стенке шасси.
Поскольку усилитель и выпрямитель собраны на одном шасси не больших размеров, то монтаж следует вести аккуратно, избегая длинных проводов.
Корпуса потенциометров следует обязательно заземлить, а сами потенциометры отделить от монтажа металлической перегородкой — экраном.
Конденсаторы С1 и С2 припаиваются непосредственно к выводам потенциометров, а провода, идущие от входного гнезда к точке соединения R2 С1 С2 и от движка потенциометра R3 к конденсатору С3, желательно заключить в заземленную экранирующую оболочку. Полупроводниковые диоды монтируются на небольшой монтажной плате, укрепленной на нижней крышке силового трансформатора.
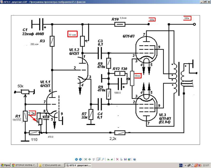
Рис. 5. Конструкция лампового усилителя мощности ан 6Н2П + 2х 6П14П.
Выходной трансформатор Тр1 выполнен на сердечнике типа УШ-19, толщина набора 25 мм. Его обмотки Iб и Iв имеют по 360 витков провода ПЭЛ 0,16; обмотки Іа и Iг содержат по 1140 витков того же провода. Обмотка II имеет 46 витков провода ПЭЛ 1,2. В качестве Tp1 можно также применить выходной трансформатор от радиоприемников «Люкс» или «Фестиваль». Силовой трансформатор—типаЭЛС-2. Для питания анодных цепей используется одна половина повышающей обмотки. Можно также использовать силовые трансформаторы от приемников «Муромец», «Октава» и т. д. Для облегчения режима работы полупроводниковых диодов их лучше зашунтировать сопротивлениями по 100—150 ком.
Блок питания усилителя
Блок питания тоже не сложный. Анодное напряжение выпрямляется с помощью моста и фильтруется RC-фильтром, состоящим из резисторов R101-R102 и конденсаторов C101-C107. Резистор R108 разряжает высоковольтные конденсаторы после выключения питания.
Резисторы R105, R104 симметрируют напряжение накала на землю, так что шум сети, слышимый в динамиках, должен быть минимален. Резистор R101 довольно сильно нагревается, поэтому для лучшего отвода тепла его можно разместить на небольшом радиаторе, либо два сразу подключить – последовательно или параллельно (путем выбора сопротивления отдельных резисторов соответственно). Этот источник питания обеспечивает питание одновременно обоих каналов УНЧ.
После включения усилитель должен прогреться несколько минут, чтобы стабилизировались токи протекающие через лампы. Резисторы R101 и R102 в блоке питания, а также R9 и R9A на лампах будут нагреваться до высокой температуры, это нормально. Однако если в воздухе есть запах выжженного лака и видим, что краска на одном из резисторов меняет цвет, значит у резистора слишком мало запаса. В этом случае его следует заменить на такой же по номиналу, но с большей мощностью. После более длительного периода работы снова проверяем напряжение питания и падение напряжения на катодных резисторах ламп. Производим коррекцию анодных токов лампы L2 (L2A).
↑ О звуке
В качестве временного кабинета — колонка с динамиком 100ГДШ-33.
Понравился звук и перегруза и чистого. Перегруз звучит плотно, насыщенно, без существенного мусора и призвуков. Испробованы лампы: 6Н1П – приятный тембр и мягкий звук. 6Н2П – большинство стареньких ламп шелестит, 6Н2П-ЕВ – приятный мягкий звук (оставлена играть дальше), 6Н23П – приятный звук с более звонким оттенком.
В целом, усилителем доволен. Отец не хочет отдавать гитару.
Печатные платы УНЧ
Можно собрать УНЧ навесным монтажом, а можно на платах печатных. На чертеже плат с лампами отмечен способ соединения с другими элементами усилителя (потенциометр, трансформаторы). Все соединения выполнены с использованием витой пары, то есть пары жестко скрученных проводов. Это должно устранить или, по крайней мере, уменьшить наведенный шум в проводах.
В основе металлическое шасси. Позади трансформаторов громкоговорителей находится тороидальный силовой трансформатор, помещенный в металлическую банку, которая уменьшает сетевые помехи, распространяемые этим трансформатором.
Усилитель действительно играет тепло и как-то по-другому, у него большая глубина звука, больше объём. Хотя он даёт только 2 Вт мощности, звучание идеально подходит для небольшой комнаты!
Внимание! Электронные устройства обычно питаются от сети 220 В. Сетевое напряжение опасно, поэтому используйте хорошо продуманные решения конструкций, чтобы не подвергать себя и других пользователей поражению электрическим током. В ламповых устройствах также имеются высокие напряжения. Производите любые регулировки только когда источник питания выключен и после разрядки высоковольтных конденсаторов. Лампы и некоторые резисторы нагреваются до высоких температур.
Лампы из-за высокого входного сопротивления очень чувствительны к внешним помехам. Поэтому используйте экранированные кабели. Металл, подключенный к массе корпуса усилителя, защитит усилитель от ловли внешних помех.
УНЧ КЛАССА D С РАДИОЛАМПОЙ
САМОДЕЛЬНЫЙ УНЧ PUSH-PULL
ЛАМПОВЫЙ ДЛЯ ДОМАШНЕЙ АУДИОСИСТЕМЫ
ПРЕАМП ДЛЯ ПРОИГРЫВАТЕЛЯ ПЛАСТИНОК
↑ Схема
Разумеется, первым делом были окинуты просторы интернета в поисках надежных и проверенных конструкций, которые можно было бы использовать. И найдено их, честно говоря, было много. Но у всех были свои недостатки. У меня был ограничен бюджет, потому среди недостатков торчали следующие:
Большое количество ламп
Редкие или дорогие лампы
Чрезмерная навороченность конструкции
Низкое качество схемы и, как следствие, звука
После долгих поисков и анализа схем, выбор был сделан в пользу довольно простого, но очень интересного варианта. Он подходит по всем пунктам — простая конструкция с хорошими характеристиками, не имеющая в себе редких или сильно дорогих деталей. Вот такая загогулина: Исключён фрагмент. Полный вариант статьи доступен меценатам и полноправным членам сообщества. Читай условия доступа.
Да, понимаю, что кого-то испугал уже факт того, что на входе стоит трансформатор. Посему, в общем-то, меня можно обвинить в том, что я, мягко говоря, покривил душой, когда говорил про отсутствие редких и дорогих деталей. С какой-то то точки зрения да, это правда. Но если следовать всем канонам и выискивать специализированные высокоточные секционированные входные трансформаторы с шибко крутыми характеристиками да еще и известных марок, то и смысла не имеет делать такую схему! Потому я обошелся кое-чем попроще.
6N2P-EV против 12AX7 | diyAudio
spaceistheplace
Участник
#1
#1
Может ли кто-нибудь рассказать о сходствах и различиях между 6N2P-EV и 12ax7, учитывая, что:
Оба подключены для правильной распиновки при 6,3 В в одной и той же цепи, и силовой трансформатор имеет достаточный ток для любого из них.
(Я полагаю, что 6N2P требует 40 мА или около того дополнительного тока по сравнению с 12ax7)
Некоторые говорят, что 6N2P-EV более близок к 6SL7.
Я бы предпочел не перефразировать более известные различия, а вместо этого перейти к тому, что может быть некоторыми различиями «под поверхностью»
Существует множество мнений относительно того, какое место они занимают в схеме вещей. С лучшими NOS 12ax7 в «абсурдной» ценовой зоне, что вы думаете о ценности 6N2P-EV в схемах, традиционно использующих 12ax7?
Какие существенные различия нам, возможно, придется учитывать?
Насколько я понимаю, если 6N2P-EV является эквивалентом, он, по крайней мере, теоретически превосходит 12ax7, поскольку, насколько я понимаю, он имеет заземленный экран на контакте 9 для уменьшения перекрестных помех? Они также, по-видимому, рассчитаны на большее количество часов работы и более надежны (для приложений mil).
Они также НАМНОГО дешевле, чем 12ax7 Telefunken!
Точно так же я также слышал, что 6N2P-EV имеет больше колебаний от образца к образцу.
Я поменял местами 6N2P-EV и 12ax7 и слышал повторяющиеся различия, но я не уверен, что то же самое было бы, если бы я поменял 12ax7 на 12ax7 другого производителя. т.е. просто нормальная дисперсия.
Я не проводил двойное слепое тестирование. Я просто не настроен на это, так что отнеситесь к моим случайным наблюдениям с долей скептицизма.
К сожалению, у меня также нет криволинейного трейсера, иначе я бы занялся детективной работой… но я с жадностью присматриваюсь к uTracer, так что это может быть реализовано раньше, чем позже.
Итак, я решил спросить у тех, кто гораздо более сведущ, чем я:
Могу ли я предположить, что 6N2P-EV является заменой, учитывая вышеизложенное, или я что-то упускаю?
Соответствуют ли спецификации реальным образцам? Те же рабочие точки?
Интересно, пробовал ли кто-нибудь пару дюжин или около того из них с разных заводов и может предоставить некоторую информацию об их распространении?
Какие лучшие годы и заводы?
Существуют ли другие более совершенные суффиксы 6N2P? Я считаю, что EV — это критерий прочности.
В качестве отступления: один человек из России, с которым я разговаривал, упомянул, что начиная с Горбачева качество трубок и других миллионных деталей было другим. Он сказал, что точно не станет покупать лампы, произведенные в России после 1991 года, а в идеале — до середины 80-х годов. Разделяют ли другие эту точку зрения?
Заранее спасибо за ваши мысли и идеи.
Последнее редактирование:
6A3ЛЕТО
Участник
#2
#2
Существует так много вариаций среди ламп, шума, дисторшна, микрофона, усиления и т. д. по сравнению с другими аналогами.
Вот несколько отличий максимально допустимых характеристик 6N2P от 12AX7 и 12AX7A
подтолкните любой из них к максимальным пределам, другие будут.
Кажется, я помню, что один из журналов «Vacuum Tube Valley» протестировал очень большое количество типов 12AX7. Когда-то я видел это в Интернете.
Последнее редактирование:
spaceistheplace
Участник
#3
#3
В другой теме вы писали о соединительной крышке и частоте кроссовера на схеме ниже.
Кажется, 6N2P нуждается в настройке, чтобы хорошо работать в этой схеме, если я вас правильно понял.
Я слежу за тобой?
spaceistheplace
Участник
#4
#4
артосало
Участник
#5
#5
6N2P-EV имеет меньшую входную емкость, чем 12AX7, и существенно меньшую, чем длинная пластина 12AX7, хотя в спецификациях указано другое. Я когда-то измерял их и могу найти результат где-нибудь в своих заметках.
Я использую 6х3н, иначе известный как 6н2п. Срок службы ЭМ меньше, чем у простого 6Н2П. Осторожно; нагреватели не совместимы с ECC83/12AX7! Штырь 9 — центральный вывод 12-вольтового нагревателя в ECC83, а штырек 9 — экран в 6n2p.
ДжонСнелл Электронный
Участник
#7
#7
Мой тестер клапана AVO 160 называет российский клапан 6AX7 из-за 6-вольтового нагревателя между контактами 4 и 5.
ксенофонн
Участник
#8
#8
Добрый день из Греции! Я использую эти лампы в своем предусилителе. Предусилитель аудио симфонии плюс-р. Покупал сей аппарат до 7 лет,с ebay из гонконга.Схема внутри похожа на копию marantz 7 или 8,точно не помню. Это линейный предусилитель с 4 линейными входами. Он поставляется с 3 лампами 12ax7 shuguang и 1 ламповым выпрямителем 6×4, используемым в качестве устройства плавного пуска.
Блок питания стабилизирован выпрямителями из нержавеющей стали и огромными конденсаторами с несколькими транзисторами, используемыми для стабилизации напряжения на печатной плате. Звук у этой штуки неплохой и приемлемый, но в музыкальных басах есть некоторая компрессия. Проблема решилась быстро, убрал лампу 6х4, которая работает как компрессор, с огромным падением напряжения, что мне не понравилось!
После этого мода звук стал намного лучше, но на мой вкус он не очень. После прокатки труб лучший звук появился у переиздания Mullard ECC83 и оригинального telefunken Ecc83, специального сорта от старой машины EGC. Последняя трубка, которая тестируется 6N2P-EV я меняю соединение нити накала и удивляюсь!! Пришел лучший звук, кристально чистый на высоких частотах, идеальная трубчатая середина и сильный бас, звук лучше, чем у ламп Telefunken. Идеальный звук для меня! Эти лампы очень дешевые, очень прочные и звучат фантастически!
После 7 лет интенсивного использования трубки стали шумными, с треском и шипением, отличный срок службы. Меняю на такие же и все ок. PS Эти лампы имеют знак ракеты, и я думаю, что это восход военные лампы, лучшая замена для западных 12ax7 / ECC83, отличное качество, низкая цена, намного лучше, чем лампы NOS, и лампы нового производства!
ториверсен
Участник
#9
#9
Кривые
Я сравнил кривые Ia/Ua для 6N2P-EV и ECC83. Кривая 0 вольт искажена, но остальные показывают, что две лампы почти одинаковы.
Лингвендил
Участник
#10
#10
Меньшая входная емкость и экранирование между секциями делают 6N2P хорошим выбором для использования там, где вы обычно видите 12AX7, но с некоторыми соображениями, которые могут иметь значение для вас. .. является большим, но если строить с нуля, это не проблема. Щит точно того стоит.
Это довольно вариативный тюбик, как и ожидалось от тюбиков оптом времен холодной войны… Не думайте, что вы получаете две одинаковые секции в каждой бутылке, если только вы специально не покупаете тюбики с проверенными/согласованными секциями. 6Н2П-ЭВ в этом плане лучше, но не сильно. Если ваша схема полагается на согласованную секцию для правильной работы, вам лучше купить группу и сопоставить секции самостоятельно или доплатить за согласованные секции. Или используйте их в приложениях, которые либо настраиваются на несоответствие, используют схемы балансировки (дифференциал с хвостом CCS и т. д.), либо используйте их в ситуациях, когда несоответствие не имеет значения (IE, сплиттер-гармошка), поэтому это не проблема.
Некоторые могут потреблять ток из сети, когда вы приближаетесь к нулевому участку кривой… более высокие напряжения могут помочь предотвратить это, но 12AX7 примерно такой же в этом отношении. При использовании во входной позиции просто держите сопротивление сетки на разумном уровне и не беспокойтесь.
Учитывая все вышесказанное, в любой день я предпочту болотный стандарт 6N2P большинству разновидностей 12AX7, и они мне очень нравятся. Типы электромобилей, безусловно, довольно хороши, но они имеют более короткий срок службы и стоят дороже. Я не уверен, что они действительно нужны в большинстве приложений, которые не выходят за рамки возможного, или в физически требовательных средах, таких как гитарные усилители, или в других областях с интенсивным использованием.
Я слышал, что многие люди говорят, что это больше похоже на 6SL7, но я не заметил большого сходства, по крайней мере, не больше, чем у 12AX7/6SL7. Я также использую их в ситуациях, которые, как правило, имеют консервативные рабочие точки и используют катодную дегенерацию, а также GNFB, так что принимайте это как хотите.
kodabmx
Участник
#11
#11
Есть еще китайский 6N4J, который предположительно является ECC83, но я не могу найти лист.
имбирная трубочка
Участник
#12
#12
Mu = 100 для обоих gm = 2,25 мА/В для 6N2P и 1,6 мА/В для 12AX7 Таким образом, rp будет немного ниже для 6N2P — вероятно, немного чище (меньше искажений) в режиме гитарного усилителя. Максимальное напряжение катода нагревателя составляет 100 В для 6N2P против 150 В для 12AX7 — обратите внимание на использование катодных фазоделителей и катодных повторителей. Ура, Ян
артосало
Участник
№13
№13
gm = 2,25 мА/В для 6N2P и 1,6 мА/В для 12AX7
Нажмите, чтобы развернуть…
Gm зависит от анодного тока. Токи одинаковы для обеих спецификаций? Я не знаю. Вот что я протестировал:
артосало
Участник
№14
№14
А вот спецификация 6Н2П (гм при разном смещении):
6A3ЛЕТО
Участник
№15
№15
Артосало,
Спасибо за график.
Из графика видно, что Gm составляет 3500 мкОм при напряжении 300 В и -0,75 Вg. Но не забудьте проверить рабочую точку и там (ток пластины), потому что, если мы используем его там, он будет превышать номинальную рассеиваемую мощность непрерывной пластины.
В противном случае у меня возникло бы искушение использовать его там и использовать Gm для очень слабых сигналов (но я знаю, что это может привести к преждевременной смерти).
Последнее редактирование:
45144
Отключенная учетная запись
№16
№16
Я использую 6n2p-ev в моем фонокорректоре Hagerman Cornet2 в течение нескольких лет. Я установил переключатели, чтобы можно было переключаться между 6n2p-ev и 12ax7. Я пробовал адаптеры, но они были шумными, может быть, потому, что вы не можете подключить экран к земле.
Я все еще работаю над оптимальными изменениями схемы для 6n2p-ev, но мне нужно слушать слухи.
артосало
Участник
# 17
# 17
Я все еще работаю над оптимальными изменениями схемы для 6n2p-ev, но я должен идти своим путем.
Нажмите, чтобы развернуть…
Оптимальная схема
имеет довольно много технических требований. Например, частотная характеристика должна соответствовать кривой RIAA в пределах
+
0,5 дБ.
Вы думаете, что можете добраться до этого только своими ушами?
spaceistheplace
Участник
# 18
# 18
В частности, я собираюсь изучить использование 6N2P-EV в 834PTF Роми/Торстен и сравнить его с 12ax7.
Будут небольшие отличия и другой подход к блоку питания для параллельного подключения нагревателей на 6,3В.
Может быть интересно взять некоторые другие распространенные схемы RIAA 12×7 и посмотреть, как они работают с 6N2P-EV, в моделировании и на практике, чтобы дополнительно изучить, какие изменения могут потребоваться и почему.
Кажется, что это слишком хорошая и недорогая трубка, чтобы отказываться от нее из-за ее распиновки и отсутствия широкого распространения за пределами России.
Последнее редактирование:
kodabmx
Участник
# 19
# 19
Я использовал его как прямую замену 6SL7. Никаких изменений в схеме не потребовалось. Далее я перемонтирую свой старый осциллограф Heathkit, чтобы использовать 6N2P вместо 12AX7.
45144
Отключенная учетная запись
#20
#20
артосало сказал:
Оптимальная схема
имеет довольно много технических требований. Например, частотная характеристика должна соответствовать кривой RIAA в пределах
+
0,5 дБ.
Вы думаете, что можете дотянуться до этого только своими ушами?
Нажмите, чтобы развернуть…
В конечном счете, важен звук, который слышат мои уши.
Из того, что я заметил своими ушами, 6N2P имеет тенденцию отодвигать риаа в сторону баса, хотя и не чрезмерно. Моя система имеет тенденцию быть яркой (Klipsch La Scalas), так что это не так уж плохо.
Я собираюсь грубо проверить riaa, воспроизведя тестовую запись и записав выходное напряжение. Затем нарисуйте показания.
Это схема
Последнее редактирование:
Драйверный каскад для усилителя 6p3s SE
Индако
Член
#1
#1
Здравствуйте, планирую собрать однотактный усилитель (триодный или линейный) на паре российских ламп 6П3С. Я уже сделал для него шасси из деревянного/железного листа, и вот один из моих знакомых предложил мне схему с двумя 6н2п в канале SRPP pe в качестве драйверных ламп. Интересно, может ли это быть в порядке, некоторые другие схемы также показывают одну лампу с высоким мю (ECC85, 12AX7 и т. д.), общую с обоими или ECC82 — ECC88 в конфигурации с одним или общим катодом. Еще вопрос, к этим российским может подойти выходной трансформатор на 2,5к? Я знаю, что 3,5-4k должно быть оптимальным, но я пытался управлять линиями нагрузки, и мне показалось, что Rk=400R при 300V B+, возможно, добавляя некоторую обратную связь. Спасибо
56085
Запрещено
#2
#2
Если вы имеете в виду 2 предварительных каскада на канал с подключенным в каждом каскаде одним 6N2P srpp, то вы получите слишком большое усиление (около 50 x 50 = 2500). Если вы имеете в виду один 6N2P srpp, подключенный к каждому каналу, то усиление будет около 50, так что при желании останется место для NFB.
Я оставляю другим комментировать, является ли 6N2P srpp, управляющий подключенным триодом 6P3S, хорошим выбором звука или нет.
Первичка 2,5К для подключенного триода 6П3С мне кажется очень малой (она даже меньше 2х сопротивления обкладки в триодном режиме). Но вот схема, в которой используется первичная обмотка 2,5 К, и техническое описание оптического транзистора (на самом деле он используется как 2,5 К/8 Ом).
Последнее редактирование:
Индако
Член
#3
#3
Спасибо за файлы, правда на китайском заметил разные схемы и ту где 2.5 ОТ занят.
Я имел в виду один 6n2p на канал, как видно из прилагаемой схемы ниже. К сожалению, это OT, который у меня есть, я знаю, что его импеданс едва соответствует 6P3S (возможно, он должен быть лучше с 2A3 или подобным).
Том Бэвис
Участник
#4
#4
В техническом паспорте указана нагрузка 2,5 кОм для пластины и экрана 250 В, в режиме ожидания при 72 мА. Некоторая отрицательная обратная связь необходима для уменьшения искажений и снижения выходного импеданса.
Индако
Член
#5
#8
Вторая схема кажется более интересной, экран 6п3п хорошо регулируется серией стабилитронов, хотя я бы поставил, может быть, конденсатор MKP на землю.
Проблемы Я хотел бы использовать некоторые трубки, которые у меня уже есть. Русских у меня всего три вида, 6п1 6н2п и (6п3с как п.т.) или как вариант есс82, есс88, есс85, 6cg7…
Подозреваю тогда, что пару ОТ я купил, оценен продавцом на EL34, 6L6, ecc, на самом деле подходят для создания гитарного усилителя, где лампы плотно прилегают к шее и не требуются требования HIFI.
Индако
Член
17.08.2021 10:47
#9
17. 08.2021 10:47
#9
моногенератор
Участник
17.08.2021 14:43
#10
17.08.2021 14:43
#10
Насколько я помню, 6P3S хочет, чтобы OPT был около 5k или 6k в триоде, может быть 4k в тетродном режиме, аналогично 6P6S, но с более высокими рейтингами.
Что касается драйвера, я смотрел на это, и хотя я еще не пробовал, я рассматривал: 6N3P, 6N5P, ECC88.
Я думаю, что 6N2P может быть немного слаб, но это только утверждение
ронгон
Участник
17.08.2021 17:44
#11
17.08.2021 17:44
#11
Я думаю, что входная емкость 6L6 (6P3S) в триоде составляет около 100 пФ (могу предположить, что она высокая, но это лучше, чем слишком низкая).
Идея состоит в том, что вы хотите, чтобы каскад драйвера мог потреблять достаточный ток, чтобы избежать ограничения нарастания на громких высокочастотных переходных процессах при включенном усилителе.
По моим расчетам, если ваш 6П3С-триод смещен на -35Vg1, и вы хотите, чтобы эти 35В пика доходили до 100кГц (излишество, я знаю, но…), то каскад драйвера должен быть поглотить 2,2 мА во входную емкость.
По моему мнению, 6N2P был бы маргиналом в этом положении, но, вероятно, он работал бы достаточно хорошо в реальной жизни, потому что реальная музыка не имеет высокочастотного содержания в полном масштабе (большая часть энергии приходится на низкие средние частоты). ). Тем не менее, я считаю хорошей практикой проектировать с большим запасом мощности, поэтому я бы предпочел видеть драйверную лампу с Ip 4 мА или более. Вы всегда можете использовать 6N2P с катодным повторителем 6N8S, 6N3P или ECC88 или истоковым повторителем MOSFET после него.
Некоторым нравится драйвер с одним триодом, например, 6S45P или 6J9 с триодной разводкой.P или 6J52P, но они подходят для радиочастотных ламп, которые имеют тенденцию сильно различаться и могут быть микрофонными.
Индако
Член
2021-08-17 21:11
#12
17. 08.2021 21:11
#12
Спасибо за предложение, действительно есть несколько схем, основанных на катодном повторителе в каскаде драйвера, как вы говорите, и, как вы говорите, они могут улучшить звук. В любом случае, поскольку у OT 50% ультралинейных ответвлений, я думаю, что использую их вместо простого триода. Проблема в том, как использовать нынешние OT из-за их низкого импеданса (2,5 кОм), что слишком мало для этих ламп. Они имеют мощность 15 Вт (около 1,5 кг каждый) и хорошо подходят для того, чтобы выбросить их (на заводе ES.CO. электронные излишки) и прервать проект.
Хотя и не в лучшую сторону, моя идея состоит в том, чтобы заменить мой 8-омный динамик на 4-омный вторичный ответвитель, чтобы иметь вторичное отраженное сопротивление около 4800 Ом. Конечно, я немного потеряю средне-высокую частоту и получу нехватку мощности, но я могу попробовать и посмотреть.
Индако
Член
17.08.2021 22:18
№13
17.08.2021 22:18
№13
Я забыл, динамики, которые я обычно использую, имеют номинальное сопротивление 6 Ом, а не 8, как ошибочно сказали.
ронгон
Участник
17. 08.2021 23:46
№14
17.08.2021 23:46
№14
Индако сказал:
Проблема в том, как использовать нынешние OT из-за их низкого импеданса (2,5 кОм), что слишком мало для этих ламп.
Нажмите, чтобы развернуть…
Это несимметричные OPT, верно? Первичная обмотка 2,5 кОм была бы подходящей для 2A3 или 300B, а также была бы подходящей для EL34 в триоде, особенно если использовать больше на стороне низкого напряжения пластины / высокого тока пластины, например, 325 В пластина-катод, 70 мА пластинчатый ток. Таким образом, вы получите меньше энергии, но, поскольку вы будете использовать ультралинейный режим с использованием касания экрана, вы должны получить несколько ватт.
Однако для 6P3S/6L6GB эти 2,5 КБ, вероятно, слишком малы. Согласно паспорту старых ламп, 6L6-триод с Vp=250В и Ip=40мА имеет rp 1700 Ом. Может быть, если вы используете вторичный ответвитель на 4 Ом…
Кунв
Участник
18.08.2021 00:33
№15
18.08.2021 00:33
№15
Индако сказал:
Спасибо за предложение, действительно, есть несколько схем, основанных на катодном повторителе в каскаде драйвера, как вы говорите, и, как вы говорите, они могут принести некоторые звуковые улучшения. В любом случае, поскольку у OT 50% ультралинейных ответвлений, я думаю, что использую их вместо простого триода. Проблема в том, как использовать нынешние OT из-за их низкого импеданса (2,5 кОм), что слишком мало для этих ламп. Они имеют мощность 15 Вт (около 1,5 кг каждый) и хорошо подходят для того, чтобы выбросить их (на заводе ES.CO. электронные излишки) и прервать проект.
Хотя и не в лучшую сторону, моя идея состоит в том, чтобы заменить мой 8-омный динамик на 4-омный вторичный ответвитель, чтобы иметь вторичное отраженное сопротивление около 4800 Ом. Конечно, я немного потеряю средне-высокую частоту и получу нехватку мощности, но я могу попробовать и посмотреть.
Нажмите, чтобы развернуть…
Вы можете использовать более низкий OT Z 2,5k с дополнительными модификациями, но предпочтительнее использовать лампу с высоким рассеиванием, скажем, 30Вт 6L6GC/6LGT : 0009
2. Добавить катодную обратную связь (подключить катод выходной лампы к выходу вместо земли). Это изменило выходную фазу, и вы не можете использовать NFB, но это нормально, поскольку я модифицировал драйвер, чтобы вместо этого использовать более локальную обратную связь, чтобы уменьшить искажения. Вы можете прочитать больше об отзывах о Schade в этой теме: Отзыв о Schade Я могу опубликовать файл моделирования, если он вам нужен.
Последнее редактирование: 2021-08-18 00:41
Индако
Участник
18.08.2021 14:54
№16
18. 08.2021 14:54
№16
Я еще не думал о схеме каскода, но, как показано на вашем графике, она хорошо работает с 6SN7, 9 Вт — хорошая мощность, несмотря на обратную связь. Чем-то напоминает мне схему Абделлы/Джендрано, за исключением драйверной ступени.
Понятно, что нужно более высокое напряжение, но я должен посмотреть, хватит ли для этого моих ОТ и ламп 6L6GC 30 Вт. Я думаю, что в этом случае с почти 100 мА (87 + 10) током, протекающим через трубку, 20 Вт OT будет лучше, чем фактические 15 Вт. Я заметил также входной конденсатор на 100 пФ для компенсации эффекта Миллера и использование светодиода в катоде драйвера (думаю, меньше шума), поэтому я занесу эту схему «в список дел»…
Индако
Член
18. 08.2021 16:06
# 17
18.08.2021 16:06
# 17
Я нашел еще одну схему, которая может подойти для моих нужд.
Он использует две параллельные лампы в каскаде драйвера (12AX7 ≈ 6N2P-EV) и содержит переменный NFB. В таких рабочих условиях 2,5k OT кажется вполне приемлемым для указанного диапазона ламп.