Как работает генератор Стивена Марка. Из каких компонентов состоит устройство. Какие особенности конструкции позволяют получать избыточную энергию. Как собрать работающий прототип генератора TPU в домашних условиях. На что обратить внимание при сборке.
Принцип работы генератора Стивена Марка
Генератор Стивена Марка, также известный как TPU (Toroidal Power Unit), представляет собой устройство для получения избыточной электроэнергии. Его главная особенность заключается в том, что после запуска он производит больше энергии, чем потребляет, фактически работая как генератор свободной энергии.
Основные принципы работы TPU:
- Создание резонансных частот в металлических элементах конструкции
- Возникновение сильных токовых ударов
- Формирование вращающегося магнитного поля
- Взаимодействие магнитных полей с образованием вихревых токов
За счет правильно подобранной конфигурации катушек и параметров питающих сигналов в устройстве возникают резонансные процессы, позволяющие получить на выходе мощность, в несколько раз превышающую входную.

Основные компоненты генератора TPU
Конструкция генератора Стивена Марка включает следующие ключевые элементы:
- Внутренняя кольцеобразная основа — служит стабильной платформой для размещения катушек
- Внутренняя коллекторная катушка — располагается вблизи центра основы
- Четыре управляющие катушки — расположены по окружности через 90 градусов
- Внешняя коллекторная катушка — охватывает всю конструкцию снаружи
- Генератор прямоугольных сигналов — формирует питающие импульсы
- Силовые транзисторы — усиливают входные сигналы для питания катушек
Правильный подбор параметров всех этих компонентов и их взаимное расположение являются ключевыми факторами для получения избыточной энергии на выходе устройства.
Особенности конструкции генератора Стивена Марка
Рассмотрим некоторые важные конструктивные особенности TPU:
- Внутренняя основа выполняется в виде металлического кольца диаметром 15-20 см
- Внутренняя коллекторная катушка наматывается из многожильного провода (литцендрат)
- Управляющие катушки делаются плоскими бифилярными, их ширина больше толщины
- Между управляющими катушками оставляется зазор около 1,5 см
- Внешняя коллекторная катушка также бифилярного типа
- Все катушки запитываются от общего генератора импульсов через силовые транзисторы
Такая конфигурация позволяет создать в устройстве сложную картину взаимодействующих магнитных полей и токов, что является основой для получения избыточной энергии.

Схема подключения компонентов TPU
Электрическая схема генератора Стивена Марка включает несколько основных секций:
- Входная секция — генератор прямоугольных импульсов
- Секция управления — драйверы силовых транзисторов
- Секция катушек — управляющие и коллекторные катушки
- Выходная секция — снятие выходной мощности
Ключевые моменты при подключении компонентов:
- Использование общей обратной земли для всех цепей
- Установка блокировочных конденсаторов для защиты от обратного излучения
- Правильный выбор параметров питающих импульсов (частота, скважность)
- Синхронизация работы всех катушек
Точная настройка всех параметров схемы критически важна для получения избыточной энергии на выходе устройства.
Рекомендации по сборке рабочего прототипа
При самостоятельной сборке генератора Стивена Марка следует учитывать ряд важных моментов:
- Использовать качественные компоненты с минимальными допусками
- Тщательно соблюдать геометрию расположения всех элементов
- Обеспечить надежную изоляцию всех токоведущих частей
- Использовать экранирование для защиты от электромагнитных помех
- Предусмотреть эффективное охлаждение силовых элементов
- Обеспечить точную настройку частот и амплитуд питающих сигналов
Важно понимать, что сборка рабочего устройства требует определенных знаний и навыков в области электроники и физики. Новичкам рекомендуется начинать с более простых конструкций.

Возможные проблемы при работе генератора TPU
При эксплуатации генератора Стивена Марка могут возникать некоторые нежелательные эффекты:
- Сильный нагрев отдельных элементов конструкции
- Возникновение электромагнитных помех, влияющих на окружающую электронику
- Нестабильность выходных параметров при изменении нагрузки
- Сложность длительного поддержания резонансного режима
- Возможное негативное влияние на здоровье при длительной работе рядом с устройством
Для минимизации этих эффектов необходимо тщательно прорабатывать систему охлаждения, экранирования и стабилизации выходных параметров генератора.
Перспективы практического применения TPU
Несмотря на противоречивость и неоднозначность технологии, генераторы типа TPU могут найти применение в следующих областях:
- Автономное энергоснабжение удаленных объектов
- Резервные источники питания
- Зарядные устройства для электротранспорта
- Питание маломощной бытовой техники
- Системы отопления и горячего водоснабжения
Однако для широкого практического внедрения технологии требуется дальнейшая оптимизация конструкции и повышение надежности устройств. Также необходимо проведение дополнительных исследований для подтверждения безопасности длительной эксплуатации.

Заключение
Генератор Стивена Марка представляет собой интересное и перспективное устройство для получения избыточной энергии. Несмотря на неоднозначность технологии, она привлекает внимание многих исследователей и энтузиастов. Самостоятельная сборка рабочего прототипа TPU — сложная, но увлекательная задача, позволяющая глубже понять принципы работы подобных систем. При этом важно соблюдать меры предосторожности и критически подходить к оценке результатов экспериментов.
Бестопливный генератор своими руками 2-ЧАСТОТНЫЙ TPU
Бестопливный генератор своими руками 2-ЧАСТОТНЫЙ TPU
Несколько лет назад электрик изобретатель по имени Стивен Марк придумал устройство, которое после запуска производило достаточно большое количество электричества. Устройство он назвал Тороидальный Генератор Стивена Марка TPU. Этим генератором запитывались различные потребители электрической энергии начиная от ламп накаливания и заканчивая сложными бытовыми приборами, такими как телевизор, электродрель. Примечательно, что после запуска TPU генератор не требует никакой подпитки энергии извне и работает неограниченно долго. При работе со слов испытателей ощущается небольшой гироскопический эффект, а также нагрев устройства. Многие смогли повторить это устройство. Принцип действия основан на создании резонансных частот, токовых ударов в металле, а также создании магнитного вихря.
Ранее на нашем сайте публиковалось видео:
Генератор Стива Маркса (Steve Marks’s TPU) Видео и инструкция по изготовлению
2-ЧАСТОТНЫЙ TPU, ОСНОВАННЫЙ НА СТОЛКНОВЕНИИ вращающихся магнитных полей (2 freq-MAGCLASHTPU)
Ver.
1.2 — 04-18-2007
by ronotte
ВВЕДЕНИЕ
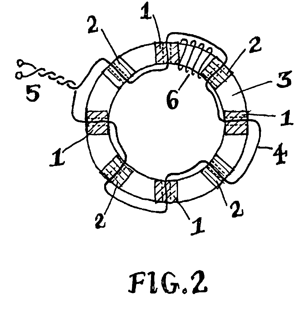
Этот «однокольцевой» TPU состоитиз:
Внутренней кольцеобразной основы.
Внутренней коллекторной катушки.
Четырёх управляющих катушек.
Внешней коллекторной катушки.
Внутренняя кольцеобразная основа
Внутренняя кольцеобразная основа служит в качестве стабильной платформы, на и вокруг которой будут расположены все катушки. В этом случае, для ускорения производства, я воспользовался 5мм.compensatedwood (фанерой?), но, разумеется, Вы можете использовать пластик или даже лучше: лист растянутого полиуретана (expandedpolyurethanesheet) (обычно используется для теплоизоляции стен), потому что он «мягкий» и поможет поглотить вибрации внутреннего коллектора. Вот картинка этой деревянной основы.
Основа катушки
Чтобы выпилить её из листа, я воспользовался лобзиком и наклеенным поверх листом с разметкой.
Размеры:
Внутренний диаметр 18.0 см.
Внешний диаметр 23.
0 см.
Ширина 2.5 см.
Толщина 5 мм.
Внутренняя коллекторная катушка
Внутренняя коллекторная катушка в этой версии сделана из 3-х витков 5 параллельных литцендратов*, каждый литнцендрат состоит из 40 медных жил диаметром 0,05 мм. Какнаследующемрисунке.Итого у меня получилось 40 * 5 = 200 выводов (leads).
Этот литцендрат должен быть положен на основу и расположен вблизи центра. Я просто приклеил его к дереву, чтобы закрепить.
В качестве альтернативы, я думаю, Вы можете использовать стандартный одножильный провод сечением 1 мм…. В конце концов, можете проложить 2-4 провода параллельно… или попробовать как-нибудь ещё.
Примечание: что касается количества витков, я использовал 3, но, вероятно, одного будет достаточно.
Управляющие катушки
Управляющиекатушкибифилярные (двухпроводные).Всего 4 катушки, каждая по 90 градусов, как обычно для установки вращающегося магнитного поля, согласно патенту 390721.
Эти катушки, по соображениям основы, будут плоского типа, т.к. их ширина больше толщины. Вот картинка этих проводных CC, ясно показывающая, что я имел в виду.
Бифилярные CC
Видно, что имеется зазор около 1.5 см. между катушками (неоднородность ширины дерева – следствие моих ошибок в изготовлении основы).
Каждая катушка намотана стандартным одножильным проводом сечением 1 мм. со стандартной «CE» изоляцией.У каждой катушки – 21 бифилярный виток.
Также видно два вывода спараллеленого литцендрата (с красными штырьками Faston).
Я советую заранее отрезать 8 проводов длиной чуть больше метра прежде, чем начать наматывание, чтобы количество витков у катушек было одинаково. Использование различных цветов также поможет (позже) различать вывода.
Выходной коллектор
Катушка выходного коллектора также бифилярного типа. Я использовал такой же провод, как и для CC. Нужнопокрытьвсюдоступнуюповерхность.
Выходной коллектор
На картинке коллектор имеет пробелы, но я перемотал его, покрыв всю поверхность.
Общие соображения по сборке
Как Вы видите, этот TPU очень простой, и его просто собрать. Весит он также меньше 100 граммов.
Я настоятельно рекомендую использовать деревянную основу (например, из того же материала, из которого вы сделали основу катушки) для установки самого TPU и расположения всей электроники или как минимум – необходимых двух силовых MOSFET’ов*.
Вот то, что я имею в виду. Это черновой пример, но сейчас я заинтересован в том, чтобы сделать это быстро.
TPU с полностью подключенными проводами
СХЕМА СОЕДИНЕНИЙ
Эта схема делится на 4 секции:
Секция входа (input section).
Секция управления (driver section),
Секция катушек (coil section).
Секция выхода (output section).
Особое внимание должно быть уделено установке общей обратной земли (commonreturn ground). Этообязательно.Я использовал большой блок клемм, чтобы свести вместе все +VDC и все вывода земли (установите этот блок клемм внутри или на сам TPU).
Опять-таки ОБЯЗАТЕЛЬНО установить между двумя этими точками полиэстровый конденсатор на 10 микрофарад / 100В (10 microF/100V polyester capacitor). Если Вы этого не сделаете, Вы увидите, что на всё Ваше оборудование, начиная с БП, будет воздействовать возвращаемое излучение / токи (у меня БП запитывался от TPU!!!!!). Я потратил уйму времени на то, чтобы освободиться от этого эффекта!!
СЕКЦИЯ ВХОДА
Цель входной секции (слева снизу на чертеже) – предоставить интерфейс к генератору прямоугольного сигнала и подходящим образом выдавать синхронизированные прямоугольные волны (первой и второй гармоник). Эта задача легко решается с помощью КМОП-мультивибратора (CMOSflip-flop (FF)).
Проблема в том, что, как я обнаружил, мой Wavetek 145 не может полностью запитать (drive) IRF7307, и сам FF (мультивибратор?) на полной скорости (до 2 МГц), и я был вынужден запитывать (drive) IRF7307 скоростным транзистором (high speed switching transistor) 2N914. Разумеется, можете использовать, что у Вас есть, возможно, 2N2222 или подобный тоже подойдёт (недостающее(?) значение сопротивления коллектора – 220 Ом (the collector resistancevalue missingis 220 ohm)).
Если нужно, я дам больше информации.
СЕКЦИЯ УПРАВЛЕНИЯ MOSFET’АМИ (MOSFET DRIVER SECTION)
После множества тестов я решил использовать стандартный предлагаемый (конструктором) интерфейс IRF7307. Это эффективно обеспечивает хорошее решение, чтобы полностью запитать (drive) силовой (power) MOSFET, корректно заряжая его входную ёмкость. Тем не менее, я видел, что форма сигнала на затвореPOWER-MOSFET’а во время работы на полной скорости далека от идеальной!!! Мимолетные всплески столь высоки, что неизбежно отражаются в любом мыслимом режиме на затворе (это основной повод использоватьIRF7307, т.к. он предоставляет (имеет?) очень низкий импеданс (impedance path) и таким образом минимизирует другие воздействия).
Здесь я вижу основу для дальнейшего улучшения. Так что Вы можете попробовать другие решения providing to have a scope with at least 100 MHz bandwidth.
Затвор POWERMOSFET’а при полной нагрузке
Как Вы видите, здесь полно наложений шума, возникающего от действия высокоскоростной коммутации больших токов.
По моему мнению, часть его (шума) приходит с земли (и т.о. может быть оптимизировано), часть – от эффекта Миллера (очень сложно компенсировать), часть – от электростатических взаимодействий с расположенными поблизости схемами.
Несмотря на всё это, MOSFET’ы, как Вы видели, коммутируют нормально!!!!!
На данный момент трудно сказать, есть ли место для усовершенствований….
На фото – используемый тестовый стенд.
Если у вас есть возможность и желание сделать подобное и собрать рабочую модель вам сюда x-F.A.Q.
И САМОЕ ВАЖНОЕ!!! ПРОСТОМУ ЧЕЛОВЕКУ БЕЗ ОПРЕДЕЛЕННЫХ ЗНАНИЙ ПО ФИЗИКЕ И ЭЛЕКТРОНИКЕ — РАБОЧУЮ МОДЕЛЬ СОБРАТЬ БУДЕТ СЛОЖНО ИЛИ ДАЖЕ НЕВОЗМОЖНО!
Лекция Ацюковского в Политехническом. На повестке дня генератор свободной энергии грузинского изобретателя Тариэла Капанадзе, которому удалось получить 5 kW электроэнергии иэ эфира:
Часть 1
http://vk.
com/video-235470_111924327?hash=0366c55343b387d9
Часть 2
http://vk.com/video-235470_111925690?hash=19b51905c2566ac8
Скачать:
Ronotte — TPU.pdf
что это, инструкция по сборке
Дата публикации: 17 октября 2019
Содержание
- Никаких движущихся частей
- Особенности уникальной конструкции
- Примерное руководство по сборке
Тороидальный генератор TPU Стивена Марка — еще одна разновидность бестопливного магнитного усилителя тока МЭГ. Разработка запатентована в США в 2006 году. Конструкция предполагает совмещение генератора и резонансного трансформатора.
Никаких движущихся частей
Изобретатель Стивен Марк создал устройство, которое после запуска производит в 10 раз больше энергии, чем потребляет. От приспособления запитывались разные потребители: лампы накаливания, телевизоры, дрели. Обустроить энергосберегающий дом такой технологией пока невозможно, но интересные идеи для дальнейшего развития направления в ней есть.
Экспериментаторы утверждают, что во время работы двигателя Стивена Марка ощущается некоторый гигроскопический эффект. Плюс устройство нагревается. Принцип действия скрывается в резонансных частотах, токовых ударах в металле и магнитном вихре.
Попытки повторить изобретение начались после публикации в Overunity переписки автора устройства и журналиста Линдсея. Один из экспериментаторов отмечал вредные характеристики трехчастотного прибора: он отрицательно влияет на здоровье человека. Специалисты на форумах связывают получение прибавки с использованием затратного и бесполезного для практического применения ЯМР (ядерного магнитного резонанса).
В научной среде более безопасной считают однофазную схему последователей Стивена Марка — Отто Сабджарика и Ронетте. В ней все катушки запитаны от общего генератора.
Особенности уникальной конструкции
Изобретатели не распространяются о секретах прибора. Но есть некоторые руководства по сборке аналогов.
Рассмотрим их.
В схеме конструкции имеется:
- внутренняя кольцеобразная основа;
- внутренняя коллекторная катушка;
- четыре управляющие катушки;
- внешняя коллекторная катушка.
Первый элемент служит стабильной платформой. На ней и вокруг располагаются катушки. Это металлическое кольцо в диаметре около 15-20 см.
Внутренние катушки делаются из провода. Они бифилярные двухпроводные, по 90 градусов, как в установке магнитного поля. Их ширина должна быть больше толщины. Между катушками оставляется зазор в 1,5 см. Выходной коллектор бифилярный.
Запитываются катушки однофазно от общего генератора. На выходе получаем мощность около 100 Вт. Она увеличивается при условии соблюдения мер безопасности, которые связаны с излучением кольца Стивена Марка в схеме своими руками.
Разрядников, высоковольтных цепей в устройстве нет, поэтому оно может использоваться для электропитания и обогрева.
Примерное руководство по сборке
Подробной инструкции по сборке генератора Стивена Марка не существует.
Есть некоторые соображения и отрывочные сведения от экспериментаторов.
Особое внимание уделяется общей обратной земле. Можно использовать большой блок клемм, установленный на сам ТПУ. Обязателен и конденсатор. Без него на всю конструкцию будет воздействовать возвращаемое излучение.
Входная секция должна предоставлять интерфейс к генератору плюс производить синхронизированные прямоугольные волны. Задачу можно решить КМОП-мультивибратором.
От действия высокоскоростной токовой коммутации наблюдаются наложения шума. Есть мнение, что частично это происходит из земли и от эффекта Миллера. Влияют и электростатические взаимодействия с расположенными рядом схемами. Но коммутация происходит в достаточной степени.
Весь секрет ТПУ Стивена Марка в многофазном задающем генераторе. Соотношение фаз и амплитуд требует точной настройки, что предполагает наличие определенного опыта и знаний. Если их недостаточно, разумно начать эксперименты со способов получения бесплатного электричества из земли или воспроизвести упрощенные конструкции генераторов.
Самодельная электрическая система фургона — подключение вентилятора Maxxair и 12-вольтовых ламп к цели ноль · Анна Ти
Когда я строил свой дом на колесах, самой сложной частью было определение электрической системы фургона. Каждый раз, когда я смотрел на это, мне казалось, что мой мозг отключается, как только он видит скучные слова, такие как «инвертор», «литий», «глубокий цикл…». Я знал, что мне нужна солнечная энергия, но я так не знал, как это сделать .
Пока я (в основном) разобрался со всей лексикой, как человек с нулевым опытом возни с проводами, мне нужно было что-то попроще . Если у вас есть друг-электрик, я вам завидую и хочу, чтобы вы меня представили. Но если вы этого не сделаете и боитесь, что можете сжечь свой фургон, это руководство для вас! Это простое руководство по электрической системе автодома должно рассказать вам все, что вам нужно знать — одна вещь, которую я нашел разочаровывающей при чтении руководств других людей, — это отсутствие подробностей — как вы соединяете провода? Как монтировать солнечные батареи? Какой размер предохранителей мне нужен?
Если вы идиот новичок, как и я, я понял.
В этом руководстве будет рассказано обо всем: подключении вентилятора Maxxair к Goal Zero Yeti, подключении 12-вольтовых ламп к аккумулятору, подключении солнечных панелей и всех основных элементах электрической системы автофургона, которые помогут вам разобраться в беспорядке. проводов, предохранителей и вилок.
Прикрепите эту фотографию, чтобы добавить в закладки руководство по электрооборудованию фургона для дальнейшего использования!
Некоторые ссылки в этом блоге являются партнерскими ссылками, что означает, что я получаю небольшую комиссию, если вы покупаете любой из этих товаров (бесплатно для вас). И это здорово, потому что я все равно собирался поделиться, и это позволяет мне продолжать делать бесплатные руководства!
Солнечная система для автофургона и схема подключения солнечной панели
Я начну с верхней части электрической системы автофургона. Солнечные панели устанавливаются на крышу фургона — здесь и происходит все волшебство.
И под волшебством я подразумеваю, что энергия солнца собирается и направляется в батарею. Мне нравится думать, что это похоже на магию.
Солнечные панели для электрической системы автофургона
Первой частью солнечной системы автофургона являются панели. Эти — солнечные панели, которые я использовал . Солнечные панели Renogy мощностью 100 Вт () легкие, гибкие и простые в установке. Другая популярная солнечная панель, которую я видел (и фактически использовал для своего первого фургона), — это панели от Goal Zero, но они намного дороже, тяжелее и немного сложнее в установке, поэтому я определенно предпочитаю Renogy. те.
Если вы выберете другую солнечную панель, следите за напряжением . Проверьте, сколько может выдержать батарея, которую вы используете. Goal Zero Yeti (аккумулятор, который я выбрал, подробнее об этом позже) не может выдерживать более 22 вольт. Эта солнечная панель 12, так что это в пределах диапазона!
Напряжение — это мощность электрической силы, поэтому, если оно слишком высокое, оно может испортить вашу батарею.
Ватт – это показатель того, сколько энергии может собрать солнечная панель. Несколькими абзацами ниже я также расскажу о том, как работает напряжение, когда у вас более одной солнечной панели!
Я использовал солнечные панели на 100 Ватт, поэтому 100 Ватт – это максимальное количество энергии, которое они могут собрать. Но на самом деле она не достигает 100 — фактическая мощность зависит от того, сколько солнечного света.
У меня четыре солнечные панели на крыше 400 ватт всего). Я начал с 2-х панелей и обнаружил, что зимой, когда дни короче, очень сложно держать батарею заряженной, а если будет более одного пасмурного дня подряд, моя батарея разрядится. С 4 солнечными панелями у меня почти никогда не бывает проблем! Я осторожен с парковкой на солнце, и пока я не провожу слишком много времени в тени или не сталкиваюсь со слишком большим количеством дождливых дней подряд, мне этого достаточно, чтобы держать аккумулятор заряженным.
Я питаю свой холодильник 24/7, заряжаю телефон и ноутбук и довольно часто использую свет.
У большинства людей одинаковое энергопотребление, поэтому, если вы не работаете с электроинструментами или телевизором, я бы рекомендовал 300–400 Вт. 200 может подойти, если вы постоянно находитесь на солнце или у вас мало крупной электроники.
Солнечные панели Renogy имеют 6 отверстий по краям для облегчения монтажа. Просто просверлите направляющие отверстия, затем вставьте саморезы. Не забудьте нанести герметик под и над каждым винтом — вы точно не хотите протечек! Герметик 3м популярен у спасателей фургонов, и, насколько я могу судить, он отлично работает.
Схема электропроводки фургона-автофургона на солнечных батареях
Комбинация солнечных панелей не увеличивает напряжение — если вы их правильно подключите . Все мои солнечные панели на 12 вольт, поэтому, когда они подключены, напряжение по-прежнему составляет 12 вольт. В следующем разделе объясняется, как подключить ваши солнечные панели, и есть схема подключения солнечной энергии в автодоме!
Это называется параллельным соединением .
Две солнечные панели не соединены друг с другом — вместо этого вы используете разветвители , чтобы соединить их и подключить к аккумулятору. Если у вас больше солнечных панелей, вам может понадобиться больше разветвителей!
Один из проводов на солнечных панелях Renogy очень короткий по какой-то причине (вероятно, чтобы продать больше кабелей… Я вижу вас, Renogy), поэтому вам может понадобиться короткий удлинительный кабель , чтобы убедиться, что обе солнечные панели может достигать разветвителя . Этот небольшой удлинитель нужно соединить вместе — я использовал стыковой соединитель и обжимной инструмент . Затем я наклеил на соединение водонепроницаемую гибкую ленту , чтобы дождь не попал внутрь.
Затем ответвительные разъемы подключаются к другому удлинительному кабелю (вам понадобится два таких кабеля), который проходит через вашу крышу! Вы можете либо использовать кольцевую пилу , чтобы просверлить большое отверстие, через которое будут проходить концы удлинительного кабеля, либо обрезать провода, просверлить небольшое отверстие и соединить их вместе внутри фургона.
Я выбрал вариант с большой дыркой, поэтому, когда я наносил на нее герметик , мне пришлось заклеить дыру скотчем изнутри фургона, чтобы герметик не выпал. Я как бы думаю, что сделать маленькое отверстие и соединить провода было бы лучше, но увы.
Установка аккумуляторного фургона Goal Zero Yeti
Теперь, когда солнечные панели установлены, вам понадобится способ хранения этой энергии. Аккумуляторная батарея — это электростанция любой электросистемы автофургона — это посредник между солнечной энергией и электричеством . Солнечные панели собирают солнечный свет, а аккумулятор сохраняет его, а Goal Zero Yeti каким-то образом преобразует солнечную энергию в пригодную для использования электроэнергию. Настройка фургона Goal Zero проста, потому что батарея представляет собой систему plug & play, которая не требует дополнительной настройки!
У меня есть Goal Zero Yeti 1400, который больше не продают, потому что изменили дизайн. Эквивалентом того, что у меня есть сейчас, является Goal Zero Yeti 1000X , , но есть несколько меньших и более дешевых вариантов, если вам не нужна такая большая мощность (и вы можете добавить расширения, если вам нужно больше мощности).
Не буду тебе врать — это дорого. Но наличие электричества в фургоне позволяет мне работать из любого места, поэтому я просто говорю себе, что таким образом оно уравновешивается.
Эта вещь невероятна, потому что это все в одном — вам не нужно приобретать инвертор или выяснять, какая батарея вам нужна, все это есть в Yeti. Он сообщает вам, сколько ватт вы получаете и сколько вы используете, сколько заряда у вас осталось и как долго его хватит. Вы можете подключить все, что вам нужно, прямо к нему (хотя я держу его под своей скамейкой и добавил розетку на стену — об этом позже). У него также есть удобное приложение, которое вы можете использовать для подключения к Yeti и просмотра всей статистики — удобно, если, как и я, ваш Goal Zero Yeti спрятан, и вы не можете легко видеть экран.
Чтобы подключить солнечные панели к Yeti, вам понадобится этот кабель . Подключите свои панели к аккумулятору, и у вас есть питание! Просто так.
Солнечные панели My заряжают аккумулятор , но вы также можете подключить его к сетевой розетке — он поставляется с кабелем, который позволяет вам это делать, поэтому, если вы находитесь рядом с домом друга, вы можете подключить его Я также затащил его в Starbucks для экстренной подзарядки.
Вы также можете подключить его к 12-вольтовой розетке автомобиля, но не делайте этого с сетевой вилкой и адаптером! Это может привести к перегрузке аккумулятора, и вам нужен специальный Кабель Goal Zero для безопасного подключения. Сколько кабелей они заставят нас купить, верно?
У меня есть автомобильный адаптер , поэтому моя батарея также заряжается, пока я езжу на . Также можно подключить его к вашему генератору, чтобы заряжать таким образом, но у меня есть несколько иррациональный страх проблем с машиной, и я боюсь связываться с механикой своего фургона :).
Плюсы аккумуляторной батареи Goal Zero Yeti для Van Life
- простота использования
- включает в себя все необходимое (инвертор, аккумулятор, контроллер заряда, сетевой фильтр)
- можно заряжать от генератора переменного тока или вилки постоянного тока автомобиля
- легко подключается к солнечным панелям
- можно подключить к настенной розетке
- можно расширить после (обновить позже, а не платить сразу)
- не занимает много места
Недостатки аккумулятора Goal Zero Yeti для Van Life
- тяжелый (хорошо, если вы держите его в своем фургоне, но не идеально, если вы планируете часто его вывозить)
- требуется некоторое время для полной зарядки
- требует надстройки для автомобильной зарядки
Электрическая система автофургона — розетки
Вы можете полностью подключить все прямо к Yeti, но, поскольку я храню свой под скамейкой, к нему не так легко получить доступ.
Кроме того, я подумал, что настенные розетки подойдут для моего фургона.
Эта розетка имеет два порта переменного тока и два порта USB и представляет собой просто удлинитель . У Yeti есть два порта переменного тока, поэтому я подключил свой холодильник к одному, а эту розетку к другому. я использовал 9Электролобзиком 0031 , чтобы прорезать дырку в обшивке моего корабля (перед тем, как я ее поставил), и протянуть провод от розетки к Йети. Очень просто!
У меня есть холодильник Dometic с электроприводом . Я выбрал его, а не обычный мини-холодильник, потому что он намного более энергоэффективен , так как он включается только тогда, когда ему нужно остыть, а не постоянно. Это помогает сохранить тонну энергии, поэтому я думаю, что это стоит дополнительных затрат по сравнению с обычным мини-холодильником, чтобы гарантировать, что у меня не останется разряженная батарея и гниющие овощи. Минус в том, что здесь только одно отделение, так что вы можете иметь либо холодильник, либо морозильник, но не то и другое одновременно.
Я научился жить без мороженого, но Dometic производит несколько моделей большего размера с двумя разными отделениями!
Как подключить вентилятор Maxxair к аккумулятору Goal Zero Yeti
Вентилятор необходим для электрической системы вашего фургона. Это помогает поддерживать вентиляцию фургона и предотвращает накопление влаги — плесень — это кошмар для ванлиферов, поэтому хорошая вентиляция имеет ключевое значение.
Я думаю, что вентилятор Maxxair — лучший — можно найти дешевле ( Fantastic Fans популярны), но у этого есть защита от дождя, и мне больше всего в нем нравится то, что он может оставаться открытым, пока вы едете (важно для меня — я и мой мозг-горох не забудем закрыть его каждый раз).
После того, как вы сделаете самое страшное и прорежете дыру в крыше (лучше всего для этого подойдет электролобзик ), у вас будет вентилятор с двумя торчащими проводами — белым и черным.
Для этого я использовал провод 14 ga . Что немного странно, так это то, что черный провод вентилятора соединяется с красным проводом 14 ga, а белый провод вентилятора соединяется с черным проводом 14 ga. Я связал их с стыковые соединители и кримпер.
Другой конец проводов должен быть рядом с местом, где вы собираетесь разместить аккумулятор. Его по-прежнему необходимо подключить к блоку предохранителей, но я объясню это в следующем разделе.
Подключение 12-вольтовых фонарей к аккумулятору Goal Zero Yeti
Вероятно, это была самая запутанная часть электрической системы моего фургона. Столько проводов….
Если вы провели какое-то время в Интернете, посвященном #vanlife, , вы, вероятно, знакомы с этими потолочные светильники . Все и их собаки используют их для освещения своих фургонов и фургонов, но это потому, что они самые лучшие!
Они милые, яркие и не потребляют много энергии! Чтобы установить их, я использовал 2,25-дюймовую кольцевую пилу , чтобы прорезать 4 отверстия в панели внахлестку.
Обязательно проложите провода, прежде чем монтировать какие-либо панели на стенах — если только вы не хотите, чтобы ваши провода по какой-то причине были снаружи. Я использовал провод 20 калибра и примотал его скотчем к потолку так, чтобы один конец находился рядом с аккумулятором, а другой примерно в месте расположения светильников. Обязательно сделайте красный и черный провод для каждого фонаря!
После этого я установил потолочные панели, потому что хотел иметь возможность сразу же установить светильники, чтобы убедиться, что они работают, но пока оставил стены в покое, потому что мне еще нужно было выяснить, где мой выключатель блок предохранителей пойдет.
После того, как я прибил панель с 4 отверстиями на место, я протянул провода через отверстия и подключил их к своим фонарям. Здесь красные провода соединяются с красными, черные провода с черными. Я их соединил стыковыми разъемами (меньше, чем я использовал для более толстых проводов).
Светильники имеют маленькие зажимы, поэтому после подключения проводов их просто вставляешь в отверстие, и они встают на место!
Мы почти закончили! Теперь пришло время подключить выключатель света — я рекомендую сделать некоторые из ваших настенных панелей сейчас (я начал сверху и прошел примерно до середины стены) — чтобы вы могли вырезать отверстие для вашего выключателя и розетки, и проведи туда провода.
Чтобы подключить свет к выключателю, вам понадобится 9 шт.0003 все четыре красных провода от фар . Используйте инструмент для зачистки проводов , чтобы немного зачистить концы проводов, затем скрутите их вместе.
Далее вам понадобится монтажная лопатка . P вставьте четыре красных провода в лопатку (закругленная сторона). Плотно обжать. Вы также можете соединить их с помощью стыкового соединителя и подключить один провод к лопате, в любом случае это работает.
Теперь подключите лопату к выключателю , пропустив все красные провода через отверстие в стене, а затем просто вставив один из штырей выключателя в лопату. Я выбрал простой переключатель вкл/выкл на лицевой панели , но если вы хотите пофантазировать, вы также можете приобрести что-то с диммером!
Выключатель освещения имеет два контакта — второй будет подключаться к блоку предохранителей, поэтому возьмите другую лопатку для проводов, обожмите в ней один красный провод 14 AWG, затем подключите его ко второму контакту.
Убедитесь, что оставшаяся часть провода достаточно длинная, чтобы достать до блока предохранителей. Ваши черные провода не идут к выключателю — они подключатся прямо к блоку предохранителей .
Схема подключения вентилятора Maxxair и схема подключения 12-вольтовых ламп к блоку предохранителей
Теперь пришло время подключить все к блоку предохранителей . Я рекомендую получить этот блок предохранителей — он имеет отрицательную шину вместе с положительной, поэтому вам нужно купить только одну штуковину.
Для подключения к нему вам понадобятся кольцевые клеммы . Я просверлил отверстие в одной из своих стеновых панелей, чтобы пропустить все провода, и прикрутил блок предохранителей к стене. Все это лежит под моей скамьей!
Запуск с вентилятором. Чтобы подключить вентилятор Maxxair к блоку предохранителей 12 В, затем блоку предохранителей 12 В к Goal Zero Yeti , возьмите черный провод от вентилятора и обожмите его в кольцевую клемму.
Затем выберите любую из отрицательных клемм, что означает первые три ряда вверху. Отвинтите винт, наденьте на него кольцевую клемму и закрутите обратно.
Затем обожмите красный провод к положительной клемме — любой, которая не находится в первых трех рядах вверху. В нижней части блока предохранителей есть +, а в верхней -. Красные провода — плюс, черные — минус. Это все на данный момент.
Чтобы подключить свет, возьмите красный провод, идущий от выключателя света, и подключите его к плюсовой клемме.
Возьмите четыре черных провода, которые соединяются с каждой лампочкой, и скрутите их вместе. Подсоедините его к отрицательной клемме.
Рядом с каждой положительной клеммой находится место для предохранителя. Ваша система не будет работать без него, поэтому вставьте предохранитель в каждый слот, к которому подключен провод. Предохранитель 10 А лучше всего подходит для вентилятора Maxxair, а 5 ампер достаточно для освещения.
Если ваша система не совсем такая, как у меня, посмотрите, какие размеры предохранителей вам нужны.
Смысл предохранителя в том, что если у вас слишком много электричества (это не научный способ сказать это, но вы знаете), предохранитель должен перегореть, останавливая ток и предотвращая повреждение вашей батареи. или другие части соединения. Если вы используете слишком маленький, он взорвется, и ваше электричество не будет работать. Если он слишком большой, он не взорвется, когда вам это нужно, и вы можете повредить что-то дорогое.
Блок предохранителей 12 В для схемы подключения Goal Zero
Мы почти закончили!! Еще один шаг, чтобы все заработало. Вам нужно подключить Goal Zero Yeti к блоку предохранителей . Это легко сделать! Вам понадобится этот кабель , который подключается к порту питания 12 В на Yeti. Красный провод подключается к положительной клемме в нижней части блока предохранителей, а черный подключается к отрицательной наверху! Кабель был коротковат для меня, поэтому я отрезал оба и добавил к каждому несколько дюймов провода, соединив их стыковыми разъемами.
Как только это будет сделано, Yeti будет подключен! Я подключил удлинитель розетки к одному из портов переменного тока (стандартная настенная розетка), а холодильник — к другому. Оттуда я подключаю всю свою электронику к розетке, чтобы запитать все в фургоне!
Схема электрической системы фургона Life
Это все, что я сделал в электрической системе своего фургона, чтобы все заработало! Солнечная энергия и проводка — это не самое простое решение, но оно того стоит, когда вы можете быть посреди леса и иметь холодильник, чтобы хранить вещи в холоде, и свет, чтобы читать.
Электрическая схема фургона справа представляет собой обзор всей системы , и вы можете прикрепить ее (и любые другие схемы в посте) на Pinterest и сохранить для дальнейшего использования!
Сводка материалов, использованных для электрической системы самодельного автофургона
Вот список всего, что я использовал для электрической системы самодельного автофургона! Я надеюсь, что это помогло — счастливого строительства :).
Если у вас есть вопросы, оставьте комментарий ниже!
Main Components
Goal Zero Battery
Dometic Fridge
Renogy Solar Panels
12v Ceiling Lights
Maxxair Ceiling Fan
Light Switch
Fuse Block
Wall Outlet
Tools & Misc
Jigsaw
Обжимной инструмент и инструмент для зачистки проводов
Кольцевая пила
Водонепроницаемая гибкая лента
Герметик
Провода и разъемы
Ответвительные разъемы
Переходник от солнечной панели к аккумулятору
Короткий кабель-удлинитель для панели солнечных батарей
Длинный кабель-удлинитель для панели солнечных батарей
Маленькие стыковые разъемы
Большие стыковые разъемы
Автомобильное зарядное устройство
Провод 14ga
Провод 20ga
Лопата для проводки
Предохранитель к разъему аккумулятора
Предохранители
Как починить портативный генератор Починить портативный генератор
Шона Коннолли 8 января 2014 г.
174 860 Просмотров
Справочник покупателя , Полезная информация
Вы когда-нибудь пытались запустить свой портативный генератор, но вас встречала тишина? Вот как починить портативный генератор.
Не паникуйте. Есть ряд быстрых шагов, которые вы можете выполнить, прежде чем выкопать квитанцию и позвонить профессионалам.
1. Проверить топливо
Мы знаем; это все равно, что попросить проверить, подключен ли чайник к сети. Но одна из наиболее распространенных причин выхода из строя портативного генератора заключается в том, что в нем может просто не хватить топлива. Особенно, если последний раз вы использовали его в прошлом году. Помимо проверки количества топлива, обязательно проверяйте качество топлива, так как топливо может ухудшиться во время хранения. Если это произошло, и двигатель засорился, вам может потребоваться помощь механика.
2. Проверка масла
Многие переносные генераторы оснащены функцией автоматической проверки уровня масла и автоматически отключаются, если уровень масла становится слишком низким.
Проверьте уровень масла с помощью щупа и при необходимости долейте масло до полного уровня.
Также проверьте, не требуется ли замена масла в генераторе. В руководстве по эксплуатации вашего генератора производитель рекомендует периодичность замены масла. Ниже приведена хорошая демонстрация того, как клиент меняет масло в своем инверторном генераторе:
Как заменить масло в инверторном генераторе3. «Полевая вспышка» Портативный генератор с аккумулятором
Звучит сложно? Это просто означает запуск переносного генератора от внешнего источника (Примечание: пытайтесь это делать только с генераторами конденсаторного типа, а не с инверторными генераторами) .
При длительном хранении магнетизм ротора генератора может уменьшиться, что снизит его способность производить электричество. Небольшой ток от аккумулятора может быстро решить эту проблему.
Вспышка поля — это простая техника запуска от внешнего источника, используемая в случае, если портативный генератор не запускается нормально. Используйте аккумулятор и правильно подключите провода от генератора к аккумулятору (минус к минусу, плюс к плюсу, провода обычно имеют цветовую маркировку). Снимите свечу зажигания с генератора и потяните шнур стартера, чтобы он заработал.
4. Проверьте нагрузку
Одна из распространенных проблем заключается в том, что генератор перегружен и просто не может вырабатывать достаточную мощность. Каждый переносной генератор рассчитан на определенную электрическую нагрузку, которую нельзя превышать. Чего многие люди не понимают, так это того, что некоторые приборы потребляют больше энергии при запуске, чем во время работы.
Генератор может питать рабочую нагрузку, но не пусковую нагрузку, которая может быть в пять раз выше. Решите проблему, временно удалив некоторые элементы. Добавляйте их постепенно, дождавшись, пока один из них перейдет в рабочий режим, прежде чем добавлять другой.
5. Замена предохранителей и автоматических выключателей
Если ваш портативный генератор работает, но не вырабатывает электроэнергию, возможно, он перегорел предохранитель или отключил автоматический выключатель. Сброс прерывателя и замена перегоревших предохранителей легко решит эту проблему. Однако, чтобы это не повторилось, постарайтесь выяснить, что вызвало их срабатывание или перегорание, прежде чем перезапускать генератор.
6. Генератор работает, но нет питания
Если генератор работает, но на вас не подается питание, возможно, повреждены какие-то внутренние настройки или двигатель.
Чтобы проверить это, держите под рукой вольтметр и амперметр. Узнайте, какими должны быть правильные показания, из руководства пользователя вашего генератора и проверьте, дают ли счетчики соответствующие показания. Если нет, то это, безусловно, внутренняя проблема, для решения которой требуется опыт профессионала. Так что вызывайте специалистов!
Лучший способ предотвратить возникновение каких-либо проблем — принять необходимые меры предосторожности и обслуживать портативный генератор. Убедитесь, что вы делаете надлежащее и своевременное обслуживание генератора, даже если вы не используете его регулярно. Также замените любые детали, которые могут использоваться сверх их обычного срока службы. И, наконец, не забывайте использовать масло и топливо хорошего качества, поскольку они циркулируют по всему двигателю, контактируя со многими различными компонентами.
Все еще нужна помощь?
Посмотрите это полезное видео о проверках технического обслуживания вашего генератора:

