Как собрать плазменную зажигалку из подручных материалов. Какие детали понадобятся для самодельной электрической зажигалки. Пошаговая инструкция по сборке плазменной зажигалки своими руками. Принцип работы и схема плазменного прикуривателя.
Принцип работы плазменной зажигалки
Плазменная зажигалка — это устройство, создающее электрическую дугу между двумя электродами для поджига газа или других горючих материалов. Принцип ее работы основан на преобразовании низкого напряжения аккумулятора (3-5 В) в высокое напряжение (несколько тысяч вольт) с помощью электронной схемы.
Основные компоненты плазменной зажигалки:
- Аккумулятор (обычно литий-ионный 3,7 В)
- Повышающий преобразователь напряжения
- Высоковольтный трансформатор
- Электроды для создания дуги
- Управляющая схема
- Корпус и кнопка включения
При нажатии кнопки схема генерирует высокочастотные импульсы, которые трансформируются в высокое напряжение. Между электродами возникает электрическая дуга с температурой несколько тысяч градусов, способная поджечь газ или другие материалы.

Необходимые компоненты для сборки
Для самостоятельной сборки плазменной зажигалки потребуются следующие компоненты:
- Литий-ионный аккумулятор 3,7 В (можно использовать от старого телефона)
- Повышающий DC-DC преобразователь (например, на микросхеме MC34063)
- Высоковольтный трансформатор от старой электронной зажигалки
- Транзистор MOSFET (IRF3205 или аналогичный)
- Диод Шоттки
- Резисторы и конденсаторы по схеме
- Кнопка включения
- Провода, припой, паяльник
- Корпус (можно использовать от старой зажигалки)
Большинство компонентов можно извлечь из старой электроники или приобрести в радиомагазине. Важно соблюдать меры предосторожности при работе с высоким напряжением.
Пошаговая инструкция по сборке
Сборка плазменной зажигалки своими руками состоит из следующих этапов:
- Подготовка компонентов и инструментов
- Сборка повышающего преобразователя напряжения
- Подключение высоковольтного трансформатора
- Монтаж электродов
- Сборка схемы управления
- Подключение аккумулятора и кнопки
- Установка компонентов в корпус
- Тестирование и настройка
Рассмотрим каждый этап подробнее:

1. Подготовка компонентов
Убедитесь, что у вас есть все необходимые детали и инструменты. Проверьте работоспособность аккумулятора и высоковольтного трансформатора.
2. Сборка преобразователя
Соберите повышающий DC-DC преобразователь на микросхеме MC34063 или аналогичной по типовой схеме. Он будет преобразовывать 3,7 В от аккумулятора в 12-15 В для питания высоковольтной части.
3. Подключение трансформатора
Подключите первичную обмотку высоковольтного трансформатора к выходу преобразователя через MOSFET-транзистор. Вторичную обмотку подключите к электродам.
4. Монтаж электродов
Установите два металлических электрода на расстоянии 3-5 мм друг от друга. Можно использовать иголки или проволоку диаметром 1-2 мм.
5. Сборка схемы управления
Соберите простую схему управления на транзисторах для генерации импульсов управления MOSFET. Можно использовать таймер NE555.
6. Подключение питания
Подключите аккумулятор через кнопку включения к преобразователю и схеме управления. Используйте провода достаточного сечения.

7. Монтаж в корпус
Аккуратно разместите все компоненты в подходящем корпусе. Обеспечьте надежную изоляцию высоковольтной части.
8. Тестирование
Осторожно протестируйте работу зажигалки. При необходимости подстройте частоту импульсов для стабильного образования дуги.
Меры безопасности при сборке и использовании
При работе с плазменной зажигалкой необходимо соблюдать следующие меры предосторожности:
- Не прикасайтесь к электродам и другим токоведущим частям во время работы
- Используйте изолирующие материалы для защиты от высокого напряжения
- Не допускайте короткого замыкания аккумулятора
- Не оставляйте работающее устройство без присмотра
- Храните зажигалку в недоступном для детей месте
- Не используйте вблизи легковоспламеняющихся материалов и газов
Помните, что самодельная плазменная зажигалка может быть опасна при неправильном использовании. Соблюдайте осторожность и технику безопасности.
Преимущества и недостатки самодельной плазменной зажигалки
Рассмотрим основные плюсы и минусы самостоятельно собранной плазменной зажигалки:

Преимущества:
- Низкая стоимость по сравнению с готовыми моделями
- Возможность модификации и улучшения конструкции
- Приобретение опыта в электронике
- Уникальный внешний вид устройства
Недостатки:
- Требуются определенные навыки и знания электроники
- Меньшая надежность по сравнению с заводскими моделями
- Потенциальная опасность при неправильной сборке
- Отсутствие гарантии и сертификации
Самодельная плазменная зажигалка может стать интересным проектом для увлеченных электроникой. Однако для повседневного использования рекомендуется приобретать сертифицированные модели от известных производителей.
Альтернативные варианты конструкции
Помимо базовой схемы, существуют и другие варианты конструкции плазменной зажигалки:
- На основе повышающего трансформатора от электронной сигареты
- С использованием готового высоковольтного модуля
- На базе импульсного трансформатора от фотовспышки
- С генератором на основе качера Бровина
Каждый вариант имеет свои особенности и сложность реализации. Выбор конкретной схемы зависит от доступных компонентов и опыта конструктора.

Возможные проблемы и их решение
При сборке и использовании самодельной плазменной зажигалки могут возникнуть следующие проблемы:
- Отсутствие дуги — проверьте напряжение на электродах и исправность высоковольтной части
- Слабая дуга — увеличьте входное напряжение или число витков трансформатора
- Быстрый разряд аккумулятора — оптимизируйте схему для снижения потребления
- Нагрев компонентов — улучшите теплоотвод, проверьте правильность монтажа
- Помехи в работе электроники — используйте экранирование и фильтрацию
Большинство проблем решается корректировкой схемы и подбором оптимальных параметров компонентов. При возникновении сложностей обратитесь за помощью к опытным радиолюбителям.
Заключение

При правильном подходе результатом станет эффектная и функциональная плазменная зажигалка, которая прослужит долгое время. Удачи в творчестве и экспериментах!
Плазменная зажигалка своими руками. | Электронные схемы
плазменная зажигалка своими руками схемаплазменная зажигалка своими руками схема
Зажигалку,использующую для поджига бумаги,дерева и т.д. высокочастотную дугу,можно собрать на одном транзисторе.
Такие зажигалки в обиходе называют плазменными,импульсными,зажигалка «тесла»))) и т.д.Схема-блокинг-генератор.Полевой транзистор можно взять из материнских плат.Подойдет 60T03H,P45N02D,IRF3205 или биполярный КТ805.Трансформатор для зажигалки применил из плат подсветки телевизора или монитора.Их там как правило от 2-х и больше.На фото,подсветка тв и там четыре таких трансформатора.
плата подсветки телевизора,импульсные трансформаторыплата подсветки телевизора,импульсные трансформаторы
ВЧ дуга не опасна,обжигает только поверхность кожи(я проверял,но проверять не рекомендую).
Дуга примерно на расстоянии 4-5мм,если развести электроды дальше,то полевой транзистор выйдет из строя,т.к.нет защиты затвора стабилитроном.С биполярным КТ805 можно электроды разводить,из строя он не выйдет.
импульсный трансформатор для самодельной плазменной зажигалки
К этой зажигалке можно собрать умножитель напряжения.
Умножитель состоит из четырех высоковольтных диодов и высоковольтных конденсаторов,емкостью 2200пФ или чуть другой емкости.Диоды можно взять из умножителя советского ТВ.Вход умножителя подключить к выходу трансформатора,контакты ВЧ дуги.Теперь на выходе умножителя будет высоковольтный разряд,расстоянием до 2см и выше при питании 9В аккумуляторной «Кроны».Хотя поискрить выйдет на 20 нажатий с таким аккумулятором.
умножитель напряжения для плазменной зажигалки
Изготовление трансформатора для сетевой газовой зажигалки. Электрическая зажигалка для газа. Принципиальная схема плазменной зажигалки
Эта электрозажигалка будет прекрасным помошником на кухни для газовых плит у которых нет функции электророзжига. Она очень удобна и безотказна в работе. Ее можно смастерить своими руками потратив всего пару часов своего времени, предварительно запасшись куском одностороннего фольгированного стеклотекстолита и минимумом недорогих и радиокомпонентов. А верным помощником послужит эскиз печатной платы и чертеж предлагаемой конструкции.
Принцип действия самодельной конструкции основан на цикличности заряда-разряда емкости С1. Осуществляется это при нажатой кнопке SВ1. Через сопротивление R1, диод VD1 и первичную обмотку трансформатора. А когда С1 разряжается, то ток течет по цепи открытый тиристор, диод VD2, первичная обмотка повышающего трансформатора.
В вторичной обмотке трансформатора индуцируется высоковольтное напряжение, которое и вызывает образование искры в зазоре между электродами и воспламеняет газ.
Трансформатор изготавливают на отрезке ферритового стержня длиной 2 сантиметра от любого радиоприемника. Обернув стержень изолентой, на него наматывают секциями 6 на 90 витков вторичную обмотку проводом ПЭВ-2 0,06. Затем изолируют высоковольтную обмотку переходят к намотке первичной всего из четырех витков, проводом той же марки, но диаметром 0,5 мм.
Особенностью этой простой радиолюбительской конструкции является то, что печатная плата одновременно является и несущей конструкцией.
Пружинный контакт SB1 изготавливают из полоски латуни толщиной 0,2 и шириной 8 мм. Сама же кнопка изготавливается из любого изоляционного материала, как вариант, из оргстекла.
Корпус зажигалки клеюят из листового полистирола или аналогичного материала. Полная изоляция высоковольтной части от всех остальных делают
это устройство абсолютно безопасным в использование.
Зажигалок для газа, собранных по схеме на рис. 4.60, работает уже несколько десятков, и все они действуют безотказно. Конструкция зажигалок проста, не содержит дефицитных деталей, несложная в наладке. Особенность схемы в том, что она питается напряжением переменного тока непосредственно от сети через конденсатор С1 и резистор R1. Диод VD1 в данной схеме работает в режиме лавинного пробоя обратным напряжением, т.е. представляет собой, по сути дела, быстродействующий стабилитрон, в паре с тиристором VS1 представляет собой аналог динистора (например, вместо них можно включить два последовательно соединенных динистора КН102В).
Диод VD2 защищает тиристор VS1 от обратного напряжения самоиндукции обмотки I трансформатора Т1 и улучшает работу генератора. Генератор вырабатывает короткие импульсы с частотой несколько сот герц, которые затем индуцируются в обмотке II трансформатора Т1 до 10 кВ и пробивают разрядник.
Трансформатор Т1 — без сердечника, намотан на катушке из капрона (оргстекла, фторопласта) диаметром 8 мм и состоит из трех секций, ширина каждой из которых — 9 мм.
Удобно использовать для Т1 готовые капроновые швейные шпульки, склеив их между собой. Сначала наматывается обмотка II — 3×1000 витков проводом ПЭТВ или ПЭВ-2 диаметром 0,12 мм. Входной конец провода в каждой секции должен быть тщательно изолирован с помощью фторопластовых трубок или лакоткани, иначе произойдет пробой изоляции.
Всю катушку Т1 парафинят в водяной бане несколько минут. Затем обмотку II в каждой секции обматывают 2-3 слоями изоленты и поверх изоляции укладывают обмотку I — 3×10 витков проводом ПЭВ-2 диаметром 0,45 мм. Резистор R1 выбирается с номиналом в пределах 12…16 кОм. Диоды VD1 — Д219А, Д220, Д223; VD2 — КД102А, КД105, Д226Б. Тиристор VS1 — КУ101Е, Г, можно также и КУ102, КУ201, КУ202 с обратным напряжением не менее 150 В. В качестве кнопки удобно использовать микропереключатель типа МП. Конденсаторы С1 и С2 — типа МБМ. К73 и др. на напряжение не менее 160 В.
Разрядником в представленной зажигалке для газа служит спаренный изолированный провод со стальными или медными жилами, который помещают внутри металлической трубки.
Трубка в конце рассверливается под окно. Провод закреплен на выходе эпоксидным клеем. Налаживание зажигалки сводится к подбору диода VD1 до возникновения надежной генерации. Пинцетом сдвигают или раздвигают электроды провода-разрядника до оптимального расстояния и образования мошной искры. Последнее, разумеется, делают в выключенной из сети зажигалке. Иногда еще необходимо подобрать емкость С2. Корпусом зажигалки может служить любой футляр, к примеру, от зубной щетки.
Простая,экономичная,самодельная зажигалка для поджига газа.12 деталей.Питание 1.2В.На транзисторах VT1-VT2 собран первый преобразователь, несимметричный мультивибратор.В коллекторную цепь VT2 подключена обмотка 1 трансформатора Тр2-повышающего трансформатора.С его вторичной обмотки,высокочастотное напряжение поступает на выпрямительный диод.Выпрямленное напряжение заряжает конденсатор С2,тот в свою очередь открывает тиристор VS1,открытый тиристор замыкает заряженный конденсатор на обмотку 1,высоковольтного трансформатора Тр1.
На обмотке 2 происходит высоковольтный разряд.Конденсатор разрядился-тиристор закрылся,и опять идет заряд накопительного конденсатора С2.
Трансформатор Тр2,взят из сломанного зарядного устройства телефона.Чтобы вытащить сердечник-феррит,его нужно нагреть.На каркас,после удаления обмоток,наматываете 500витков провода,диаметром примерно 0.08мм.Это будет обмотка 2.Далее изолируете обмотку одним-двумя слоями скотча и наматываете первичную обмотку в том же направлении,что и вторичная.Она содержит 10 витков провода диаметром около 0.4-0.8мм.Как проверить работу преобразователя показано в видео.
Высоковольтный трансформатор Тр1,второго преобразователя напряжения,
наматывают на ферритовом стержне от магнитной антенны радиоприемника длинных и средних волн.Полотном для резки кафельной плитки я неглубоко пропилил по кругу феррит.Далее руками просто разломал.Длина феррита взял 3см,но можно наверно и меньше.Обматываете феррит одним слоем скотча,по бокам приклеиваете «щечки»,и наматываете высоковольтную обмотку-2.
Первый вывод этой обмотки,который будет выходить из катушки,должен быть ОБЯЗАТЕЛЬНО продет в ПВХ изоляцию,для предотвращения его обрыва от изгиба.Проводом диаметром 0.06-0.1мм наматывате 300витков.Этот слой обматываете тремя слоями скотча,следя,чтобы края скотча заходили на щечки,иначе в этом месте будет пробой.Чтобы катушка во время намотки не разматывалась,ее нужно проклеивать каплей клея.На феррите должно уложиться пять слоев по 300 витков.Наматывать в одном направлении.При обрыве тонкого провода его можно сварить зажигалкой.Скручиваете два провода,и нагреваете конец скрутки до появления кругляшка.Потом аккуратно потяните два провода,и можно дальше продолжать намотку.Высоковольтную обмотку изолируйте тремя слоями скотча,и в том же направлении,что и вторичная,наматываете первичную.Она содержит 10 витков провода 0.6-0.8мм.Слой скотча и катушка готова.
Готовые катушки.
Транзисторы подбирал,и нашел самый наилучший вариант для работы первого преобразователя.Это распространенные транзисторы кт361 и c3205.
Вместо кт361 подойдет кт3107.Вместо с3205-кт815,s8050,bd135.Тиристор не подбирал,т.к. он тоже распространен,но наверняка подойдет из этой-же серии mcr100-…Резисторы R3-R4 служат для порога открывания тиристора.Подобрав их,вы можете умощнить искру на выходе.Диоды должны быть быстропереключающиеся,смотри даташиты.Подойдут:ps158r;fr155p;fr107;fr103.
Дуга,поджигающая газ,длиной около 5-6мм.Меньше длина дуги-газ не зажжется.Дуга не опасна,ощущения покалывания,как от пьезозажигалки.Аккумулятора должно хватить надолго.Я испытывал ее в течении часа аккумулятором емкостью 2800мА*1.2В,оставил включенной,и целый час искры шмалили у меня на столе.Проверил аккумулятор и он не разрядился.
Вот два видео как сделать зажигалку для поджига газа-газовой плиты.
Наверное все слышали и видели на Ютубе зажигалки (для сигарет или плиты газовой), производящие электрическую дугу, но в этой конструкции благодаря модуляции получаются ещё и звуковые эффекты — своеобразный плазменный динамик.
В конструкции установлен Li-ion аккумулятор, который питает транзисторные ключи. Управляющий сигнал транзисторов выходит из микроконтроллера PIC12F1840 . Он генерирует сигнал ШИМ 15 кГц, а модуляция в ритм музыки позволяет транслировать звук через горящую электрическую дугу. Код программы и схему вы найдете далее.
Принципиальная схема плазменной зажигалки
Схема плазменной поющей зажигалки на микроконтроллере
Как это работает
Программа управляет трансформатором при помощи комплементарных ШИМ-сигналов на несущей частоте 15 кГц для генерации дуги.
Затем она модулирует сигнал (а следовательно, и плазменную дугу) на звуковых частотах, чтобы создать мелодию.
На фотографиях показано готовое заводское устройство, но по приведённой схеме можно собрать такую плазменную поющую зажигалку самому — .
Разобранное устройство
Зажигалка электрическая — плата с деталями
Зажигалка с модулированной электрической дугой
Питание электрозажигалки от литиевого аккумулятора подходящих размеров, например от старого мобильного телефона или побитого смартфона.
АКБ заряжается от Micro-USB () через микросхему ЗУ LTC4054 .
Видео работы зажигалки
ЭЛЕКТРОЗАЖИГАЛКА
Перед тем, как начать статью, хочу сказать, что статья полностью напечатана для начинающих радиолюбителей. Таких статьей будет две, и обе они созданы для ознакомления со схемой и работой китайской электрозажигалки.
Долго не мог купить их, как будто в один день они исчезли с прилавков. Недавно была очередная прогулка по магазинам, и вот наконец удалось найти место, где продавали такие зажигалки всего за пол доллара за штуку. Сейчас многие не поймут меня, подумаешь, зажигалка для газа… Но такие электрозажигалки настоящая находка для радиолюбителя, в этом вы сами убедитесь. Мы рассмотрим конструкции простых и полезных устройств на основе электрической зажигалки для газа — такого вы еще не видели, так, что приготовьте кофе и устраивайтесь поудобнее, поехали!
Итак, для начала давайте поймем, о какой зажигалке идет речь и что она из себя представляет.
Такие электрозажигалки исчезли по одной простой причине — они не эффективны. Зажигалка имеет электронную начинку.
Простой высоковольтный преобразователь, на выходе которого образуется высокое напряжение в виде электрических разрядов. Напряжение этих разрядов может достигать нескольких десятков тысяч вольт, но сила тока слишком мала, поэтому никакой опасности из себя такая зажигалка не представляет. Раньше, когда такие зажигалки только начали входить в моду, они имели достаточно мощную схему, высоковольтные разряды были ощутимы на «вкус», но со временем их начали «ослаблять» и народ не стал покупать, поскольку газ не воспламенялся от серии маломощных разрядов. Но электронщик знает, что ненужных вещей не бывает, в тот день купил аж 5 таких зажигалок. Электрозажигалки были приобретены исключительно для опытов со схемой. Корпус нам не нужен, так, что можно выбрасывать. Разбираются зажигалки достаточно просто. Сейчас мы начнем рассматривать схему устройства, а затем перейдем к ознакомительным опытам.
Внутренности показаны на фотографиях. Питается электрозажигалка от одной пальчиковой батарейки (хотя искровая генерация будет и от 1 вольт). Автогенератор собран на маломощном транзисторе, напряжение после первого трансформатора 43 вольта. Далее это напряжение выпрямляется импульсным диодом и накапливается в конденсаторе.
В схеме также имеется маломощный тиристор, который играет в роль прерывателя, подавая кратковременные импульсы на второй трансформатор. Второй трансформатор секционный, в первичной обмотке имеет 10 витков провода 0,4 мм. Вторичная обмотка намотана по секциям, в каждой секции 230 витков. Такая система работает безотказно. А теперь давайте подумаем, где можно использовать эту начинку?
Поделитесь полезными схемами
| РЕМОНТ АККУМУЛЯТОРОВ ТЕЛЕФОНА Ремонт аккумулятора для мобильного телефона — методика и результаты. |
| FM УСИЛИТЕЛЬ НА 100 ВАТТ Принципиальная схема экспериментального экстремального усилителя для автомобильного модулятора, превращающая его в мощную радиостанцию. |
| СХЕМА АВТОМАТИЧЕСКОГО ЗАРЯДНОГО УСТРОЙСТВА Предлагаемое ЗУ при всей своей простоте довольно многофункционально — выполняет заряд и поддержание ёмкости небольших аккумуляторов. Данное несложное зарядное устройство автоматически отключает аккумулятор по окончании заряда и включает его при разрядке аккумулятора ниже порогового значения. |
| ВОДОНАГРЕВАТЕЛЬ СОЛНЕЧНЫЙ Использование солнечных водонагревателей. Возможности использования экологически чистой повсеместно доступной возобновляемой энергии солнечного излучения привлекают все большее внимание. В среднем по году, в зависимости от климатических условий и широты местности, поток солнечного излучения на земную поверхность составляет от 100 до 250 Вт/м2, достигая пиковых значений в полдень при ясном небе, практически в любом независимо от широты месте, около 1 000 Вт/м2. |
Плазменная зажигалка своими руками
24.07.2012 Электронная техника
Сейчас мысль как сделать несложную плазменную зажигалку. Многие, кто экспериментирует с высоковольтными модулями знает, что они скоро выходит из строя. Значительно чаще они ломаются из-за превышения времени постоянной работы. Они вычислены на 20 секунд постоянной работы.
В случае если быть больше это время, они портятся. Мы не приобретаем высокое напряжение на его выходе. Но мало кто знает, что не следует выбрасывать в мусорный коробку, если они испортились.
Они еще смогут послужить собственному хозяину и превратиться, например, в прикольную зажигалку, изготовленную к тому же собственными руками.
Приобрести же готовую возможно в этом китайском магазине. Плагин на Google Хром для экономии в нём: 7 процентов с приобретений возвращается вам.
На фото продемонстрировано, как она выглядит. Для разглядываемой самоделки потребуются неработающий модуль, батарейка на 3,7 вольта, пробка. Вот один из отзывов на это устройство: Благодарю очень сильно помог! Дача холодная, зажигалки и спички не разожгли камин!
А эта вещь сходу подожгла кроме того влажные брёвна!
Для изготовления плазменной эффектной зажигалки от начала корпуса отмерим 4 сантиметра. По метке отрезаем лишнее. Это умножительный каскад, что обычно и выходит из строя.
Эта часть нам уже не нужна. Пригодится вторая добрая половина.
Тут выходят два провода. Это вывод высоковольтного напряжения от трансформатора. В эти места закрутим по одному мелкому шурупа. Мало рассверлим углубления, дабы вошли шурупы. Сделаем контакты из проволоки.
Засунем шуруп и ввернем в модуль.
Припаяем питание и кнопку. Модуль прикручиваем к батарейке изолентой. Сейчас апробируем изделие.
Берем листок бумаги и включаем устройство.
С опаской, лучше не пробуйте испытать плазменную зажигалку на собственных руках. Не приятное чувство, но пережить возможно.
Напоследок посмотрите отзыв на фирменное устройство.
Случайные записи:
Плазменная зажигалка своими руками.
Похожие статьи, которые вам понравятся:
Самодельная электронная зажигалка
Электрозажигалка для сигарет своими руками
Наверное все слышали и видели на Ютубе зажигалки (для сигарет или плиты газовой), производящие электрическую дугу, но в этой конструкции благодаря модуляции получаются ещё и звуковые эффекты — своеобразный плазменный динамик.
В конструкции установлен Li-ion аккумулятор, который питает транзисторные ключи. Управляющий сигнал транзисторов выходит из микроконтроллера PIC12F1840. Он генерирует сигнал ШИМ 15 кГц, а модуляция в ритм музыки позволяет транслировать звук через горящую электрическую дугу. Код программы и схему вы найдете далее.
Принципиальная схема плазменной зажигалки
Схема плазменной поющей зажигалки на микроконтроллереКак это работает
Программа управляет трансформатором при помощи комплементарных ШИМ-сигналов на несущей частоте 15 кГц для генерации дуги.
Затем она модулирует сигнал (а следовательно, и плазменную дугу) на звуковых частотах, чтобы создать мелодию.
На фотографиях показано готовое заводское устройство, но по приведённой схеме можно собрать такую плазменную поющую зажигалку самому — вот прошивка.
Разобранное устройствоЗажигалка электрическая — плата с деталямиЗажигалка с модулированной электрической дугойПитание электрозажигалки от литиевого аккумулятора подходящих размеров, например от старого мобильного телефона или побитого смартфона.
АКБ заряжается от Micro-USB (смотрите распиновку) через микросхему ЗУ LTC4054.
Видео работы зажигалки
Далее смотрите онлайн видео демонстрации работы этого оригинального прикуривателя.
Китайская Самодельная Электронная Зажигалка Arc Usb Зажигалка Оптовая Бесплатный Образец
Китайская самодельная электронная зажигалка ARC USB зажигалка оптом Бесплатный образец
Описание продукта
Название позиции | Металлическая USB-зажигалка | ||
Материал | Металл | Размер | 70 * 33 * 10 мм |
Вес | 160 г | ||
Упаковка | Подарочная упаковка Упаковка | ||
16 Время зарядки около 2 часов | |||
Емкость аккумулятора | 200 мАч | ||
Время выполнения образца | В течение 3 дней | ||
Время выполнения массового производства | 15 рабочих дней заказ подтвержден 9 0005 | ||
Условия оплаты | T / T, Paypal, WU | ||
Доставка | По морю, по воздуху, Express |
1 Дуговый зажигатель питается от аккумулятор, не требуется топливо или газ.
2. Дуговый осветитель является беспламенным, что безопаснее и экологичнее.
3. Зажигалка может работать в любых погодных условиях, особенно в ветреный день.
4. В дуговой зажигалке используется процесс нажатия клавиши фортепиано, он износостойкий и легко воспламеняется.
5. Горловина зажигалки изготовлена из керамики и обладает высокой термостойкостью.
6. Дуговый прикуриватель автоматически отключит питание, когда аккумулятор полностью заряжается, а однократная зарядка занимает всего 2 часа.
7. Дуговой зажигалка может зажечь около 200 сигарет за один заряд, а также перезарядить около 500 раз.
Упаковка и доставка
Наши услуги
Перед продажей:
(1) На ваш запрос, связанный с нашей продукцией, рис будет ответ в течение 24 часов.
(2) Опытный персонал, свободно владеющий английским языком, ответит на все ваши вопросы.
(3) Мы предоставляем услуги OEM и ODM более 6 лет.И Paypal принял,
(4) Защита вашего торгового зала, идей дизайна и всей вашей личной информации.
(5) Независимо от того, большой заказ или небольшой заказ, мы предоставим все лучшее качество, лучший сервис.
(6) Если у наших продуктов возникнут какие-либо проблемы, которые мы вызвали, они будут отправлены бесплатно в следующем порядке.
Послепродажное обслуживание:
1. Гарантия 6 месяцев
2. В следующем заказе мы заменим сломанные детали новыми деталями
3.Выберите самую дешевую и безопасную транспортную компанию
4. Отслеживайте заказ, пока не получите товар
5. Приветствуем любые отзывы и советы по нашей продукции.
Дополнительные услуги:
1. MOQ: Доступен образец заказа
2. OEM: Чем больше количество, тем дешевле цена.
3. ODM: 500-1000 комплектов, сохраните свой дизайн в частном порядке. И не стану предоставлять его другим.
4. Предоставление разработанного пакета зависит от ваших потребностей
Информация о компании
FAQ
Почему выбирают нас?
(1) Мы являемся самым профессиональным производителем электронных сигарет в Китае.
(2) Общее, близкое и долгосрочное обслуживание, независимо от продажи и послепродажного обслуживания.
(3) Мы можем предложить лучшую рекламную стратегию для каждого клиента в соответствии с его продуктами и культурой.
(4) Дух нашей компании: быть ответственным перед каждым клиентом, быть ответственным перед собой.
(5) Миссия нашей компании: Обеспечить здоровый образ жизни каждому курильщику, бросить курить.
Срок доставки?
(1) Образец в течение 1-2 дней
(2) Оптовые продажи 3-7 дней в зависимости от количества;
(3) OEM 7-10 дней после получения подтверждения образца
Веб-сайт?
www.szfren.com
Новая Самодельная Зажигалка Специального Дизайна Электронная Зажигалка для Сигарет Дешевые Зажигалки Сделанные Автоматами
| Контактная информация | ||
| Название компании | Shaodong County Haopai Lighter Co. , Ltd. | |
| Контактное лицо | Джойс Ян | |
| Телефон / WhatsApp | +8618073958460 | |
| Y18073958460 Tu0008 | ||
| Городок 1 | ||
| QQ4 | QQ49 Провинция Хунань, Китай | |
| Веб-сайт | http: // www.good-lighter.en.alibaba.com/ | |
1. Каковы ваши индивидуальные MOQ?
Обычно минимальный заказ составляет 200000 шт. Для пробного заказа допускается меньшее количество.
2. Можете ли вы отправить нам образцы бесплатно?
Бесплатные образцы могут быть предоставлены, вам просто нужно заплатить за экспресс-доставку. Зажигалка будет отправлена китайской EMS без газа. По соображениям безопасности TNT, UPS, DHL и т. Д.Не подходят.
3.
Можно ли напечатать наш логотип на зажигалках?
Конечно, можем. Существует несколько видов печати, шелкографии, теплопередачи, оберточной бумаги и т. Д. Пожалуйста, пришлите нам свои технические чертежи или образец, мы сделаем это соответствующим образом.
4. Каковы ваши сроки доставки?
FOB
5.Какое у вас время доставки?
Обычно это занимает 20-30 дней после получения 30% депозита. Конкретное время доставки зависит от товара и количества.
6. Как вы обеспечиваете качество и безопасность доставки зажигалок?
Поставляемые нами зажигалки производятся на нашем современном оборудовании и оборудовании, которое соответствует стабильным и строгим единым стандартам.
Перед доставкой каждая зажигалка дважды проверяется на герметичность, неисправные отбираются для обеспечения безопасности доставки.
7. Каков процент брака ваших зажигалок?
Обычно наш процент брака менее 5 ‰
8. Какие тесты будут проходить ваши зажигалки?
Испытание горячей водой 55 градусов в течение 4 часов; 2 минуты огневого испытания; испытание на падение с высоты 1,5 м; трижды испытание на огнестойкость, дважды испытание на утечку воздуха и т. д.
Fren на заводе-изготовителе Usb Arc дешевые самодельные электронные прикуриватели
FREN Заводская дуга USB-дуга дешевая самодельная электронная сигарета LIGHTER
Описание продукта
Преимущества:
| |
В коплект входит:
| |
1. Дуговая зажигалка питается от перезаряжаемой батареи, не требуется никакого топлива или газа.
2. Дуговый осветитель является беспламенным, что безопаснее и экологичнее.
3. Зажигалка может работать в любых погодных условиях, особенно в ветреный день.
4. В дуговой зажигалке используется процесс нажатия клавиши фортепиано, он износостойкий и легко воспламеняется.
5. Горловина зажигалки изготовлена из керамики и обладает высокой термостойкостью.
6. Дуговый прикуриватель автоматически отключит питание, когда аккумулятор полностью заряжается, а однократная зарядка занимает всего 2 часа.
7. Дуговой зажигалка может зажечь около 200 сигарет за один заряд, а также перезарядить около 500 раз.
Все цвета для выбора:
СООТВЕТСТВУЮЩИЕ ПРОДУКТЫ
000 000000
000
000
000
000
000
Наши услуги
Услуги перед продажей:
(1) Ответ на ваш запрос, связанный с нашими продуктами, будет дан в течение 24 часов.
(2) Опытный персонал, свободно владеющий английским языком, ответит на все ваши вопросы.
(3) Мы предоставляем услуги OEM и ODM более 6 лет. И Paypal принял,
(4) Защита вашего торгового зала, идей дизайна и всей вашей личной информации.
(5) Независимо от того, большой заказ или небольшой заказ, мы предоставим все лучшее качество, лучший сервис.
(6) Если у наших продуктов возникнут какие-либо проблемы, которые мы вызвали, они будут отправлены бесплатно в следующем порядке.
Послепродажное обслуживание:
1.Гарантия 6 месяцев
2. Мы заменим сломанные детали новыми деталями в следующем заказе
3. Выберите самого дешевого и безопасного агента по доставке
4. Отслеживайте заказ, пока не получите товар
5. Приветствуем любые отзывы и советы по нашей продукции.
Дополнительное обслуживание:
1. MOQ: образец заказа доступен
2. OEM: MOQ OEM: 100 объединяет. И бесплатное обслуживание OEM MOQ 1000 объединяет.
3. ODM: MOQ 1000 объединяет, сохраняйте свой дизайн в частном порядке. И не будет поставлять это другим.
4. Предоставление разработанного пакета зависит от ваших потребностей
Evoluation
FAQ
Почему выбирают нас?
(1) Мы являемся самым профессиональным производителем USB-зажигалок в Китае.
(2) Общее, близкое и долгосрочное обслуживание, независимо от продажи и послепродажного обслуживания.
(3) Мы можем предложить лучшую рекламную стратегию для каждого клиента в соответствии с его продуктами и культурой.
(4) Дух нашей компании: быть ответственным перед каждым клиентом, быть ответственным перед собой.
(5) Миссия нашей компании: предоставить лучшее качество USB-зажигалки и лучший сервис для всех клиентов.
Срок доставки?
(1) Образец в течение 1-2 дней
(2) Оптовые продажи 3-7 дней в зависимости от количества;
(3) OEM через 7-10 дней после получения подтверждения вашего образца.
Сайт?
www.szfren.com
Своими руками пьезозажигалка для газовой плиты. Электронная зажигалка для газовой плиты. Принципиальная схема плазменной зажигалки
На китайских сайтах имеются в продаже различные электродуговые зажигалки промышленного производства. Но можно сделать такую зажигалку для газовых плит своими руками.
Идея заключается в том, что нужно получить высокое напряжение высокой частоты, которое образует горячую дугу. При помощи этой дуги можно с легкостью воспламенить бытовой газ, бумагу или сигареты.
Зажигалка состоит из нескольких узлов:
- Плата зарядки для одного Li-ion аккумулятора со встроенной защитой от разряда. Плата имеет несколько индикаторных светодиодов, один из которых горит в процессе заряда, а другой загорается, когда аккумулятор полностью зарядиться. Наличие такой платы позволит зарядить аккумулятор током до 1 А от любого источника в 5 В, к примеру, от обыкновенного USB-порта.
- Li-ion аккумулятор подойдет любого размера и емкости. В примере используется аккумулятор стандарта 18490 с емкостью 1400 мАч. Он немного короче обычных 18650. Выбор обусловлен габаритными размерами корпуса зажигалки.
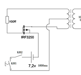
- Преобразователь, построенный по простой автогенераторной схеме на базе полевого транзистора IRFZ44 и высоковольтного трансформатора. Трансформатор придется мотать самому.
За основу трансформатора был взят сердечник от электронного трансформатора для галогенных ламп на 50 Вт. Также отлично подойдет сердечник от дежурки компьютерного блока питания.
Трансформатор необходимо аккуратно выпаять, разобрать и удалить штатные обмотки. Сетевую обмотку нужно сохранить – она еще пригодится.
Половинки сердечника приклеены друг к другу, поэтому перед расстыковкой их нужно немного прогреть паяльником, чтобы не поломать.
Первичная обмотка состоит из 8 витков с отводом от середины. В качестве примерного измерителя используется указательный палец.
Обмотка намотана двумя шинами, каждая из которых состоит из 4 жил провода 0,5 мм, который был взят от сетевой обмотки разобранного ранее трансформатора.
После намотки первичную обмотку изолируют 10 слоями обычного скотча. Поверх мотается вторичная или повышающая обмотка.
Для намотки вторичной обмотки был использован провод от катушки реле. Подойдет любое компактное реле на 12 или 24 В. Диаметр провода может быть от 0,08 до 0,1 мм.
Для начала необходимо припаять кусочек многожильного провода в изоляции к тонкому проводу обмотки, а затем производить намотку.
На любой стадии намотки провод не отрезается. Обмотка мотается послойно, и каждый слой может содержать от 70 до 100 витков. Поверх каждого слоя ставится изоляция тем же скотчем. В итоге должно получиться около 800 витков.
Далее, фиксируются половинки сердечника, и припаивается кусочек многожильного провода ко второму концу вторичной обмотки. Не помешает и прозвонить обмотку мультиметром, чтобы проверить на целостность. Затем ставится конечная изоляция с помощью изоленты.
После окончания всех этих процедур необходимо произвести фазирование первичной обмотки. Начало одного плеча нужно соединить с концом другого. Так получается средняя точка, куда подключается плюс от источника питания.
Далее, собирается схема автогенератора и проверяется на работоспособность. Высоковольтная дуга образуется уже на расстоянии в полсантиметра и растягивается до 1 см. Это свидетельствует о нормальной работе инвертора.
Теперь можно все установить в корпус.
Полевой транзистор не был установлен на теплоотвод, но очень рекомендуется сделать это.
А также рекомендуется запрятать под термоусадку все оголенные части схемы.
Автомобильные дворники – возможные неисправности и ремонт Часы на газоразрядных индикаторах – травление плат
Сегодня рассмотрим китайские зажигалки для газа, работающие от пальчиковых батарей. Цена таких устройств не превышает 1$ (в некоторых случаях не более 0,5$). Подобные зажигалки имеют полностью электронную начинку. Внутри можно обнаружить компактную плату, на которой расположено несколько компонентов.
Схема зажигалки для газа, состоит из двух основных частей:
- Преобразователь напряжения;
- Высоковольтная катушка.
Такие зажигалки предназначены для работы с одной или с двумя пальчиковыми батарейками с напряжением 1,5 Вольт. Может в течение долгого времени работать от одной пальчиковой батареи, при двух батарейках не стоит включать на долгое время. При работе, на выходе образуется пробой воздуха не более 0,5см. Выходное напряжение схемы порядка 6-7кВ.
Повышающий преобразователь состоит всего из трех компонентов:
- Транзистор;
- Ограничительный резистор;
- Повышающий трансформатор.
Схема электронной зажигалки
Схема — блокинг-генератор. На вторичной обмотке образуется повышенное напряжение порядка 50 Вольт. Часто в таких схемах применяется биполярный транзистор серии S8550D (р-n-р, 25 В, 1,5 А). Затем напряжение выпрямляется. Тиристор PCR606J (600 В, 0,6 А) работает в ключевом режиме, подает кратковременные импульсы на первичную обмотку высоковольтной катушки. Сама катушка секционная, сопротивление вторичной обмотки составляет порядка 355-365 Ом. Обмотка намотана медным проводом, диаметр в районе 0,05мм. Первичная обмотка намотана на ферритовом стержне и состоит из 15 витков, провод 0,4мм.
Возможные причины неисправности устройства
- Причиной неисправности схемы может являться в первую очередь неисправный тиристор. Его можно заменить на аналогичный, к примеру — MCR2208.

- Вторая причина неисправности схемы может быть в транзисторе. В процессе работы он может выйти из строя по разным причинам. Транзистор желательно заменить на более мощный — кт815/817, хотя можно использовать и маломощные — КТ315 или, что еще лучше КТ3102.
- Редко, схема может выйти из строя из-за диода. Дело в том, что в некоторых схемах зажигалок для газа, используется обычный выпрямительный диод, но в последнее время почти во всех устройствах можно увидеть импульсный диод серии FR107.
Наверное все слышали и видели на Ютубе зажигалки (для сигарет или плиты газовой), производящие электрическую дугу, но в этой конструкции благодаря модуляции получаются ещё и звуковые эффекты — своеобразный плазменный динамик. В конструкции установлен Li-ion аккумулятор, который питает транзисторные ключи. Управляющий сигнал транзисторов выходит из микроконтроллера PIC12F1840 . Он генерирует сигнал ШИМ 15 кГц, а модуляция в ритм музыки позволяет транслировать звук через горящую электрическую дугу.
Код программы и схему вы найдете далее.
Принципиальная схема плазменной зажигалки
Схема плазменной поющей зажигалки на микроконтроллере
Как это работает
Программа управляет трансформатором при помощи комплементарных ШИМ-сигналов на несущей частоте 15 кГц для генерации дуги.
Затем она модулирует сигнал (а следовательно, и плазменную дугу) на звуковых частотах, чтобы создать мелодию.
На фотографиях показано готовое заводское устройство, но по приведённой схеме можно собрать такую плазменную поющую зажигалку самому — .
Разобранное устройство
Зажигалка электрическая — плата с деталями
Зажигалка с модулированной электрической дугой
Питание электрозажигалки от литиевого аккумулятора подходящих размеров, например от старого мобильного телефона или побитого смартфона. АКБ заряжается от Micro-USB () через микросхему ЗУ LTC4054 .
Видео работы зажигалки
Простая,экономичная,самодельная зажигалка для поджига газа.
12 деталей.Питание 1.2В.На транзисторах VT1-VT2 собран первый преобразователь, несимметричный мультивибратор.В коллекторную цепь VT2 подключена обмотка 1 трансформатора Тр2-повышающего трансформатора.С его вторичной обмотки,высокочастотное напряжение поступает на выпрямительный диод.Выпрямленное напряжение заряжает конденсатор С2,тот в свою очередь открывает тиристор VS1,открытый тиристор замыкает заряженный конденсатор на обмотку 1,высоковольтного трансформатора Тр1.На обмотке 2 происходит высоковольтный разряд.Конденсатор разрядился-тиристор закрылся,и опять идет заряд накопительного конденсатора С2.
Трансформатор Тр2,взят из сломанного зарядного устройства телефона.Чтобы вытащить сердечник-феррит,его нужно нагреть.На каркас,после удаления обмоток,наматываете 500витков провода,диаметром примерно 0.08мм.Это будет обмотка 2.Далее изолируете обмотку одним-двумя слоями скотча и наматываете первичную обмотку в том же направлении,что и вторичная.Она содержит 10 витков провода диаметром около 0.
4-0.8мм.Как проверить работу преобразователя показано в видео.Высоковольтный трансформатор Тр1,второго преобразователя напряжения,
наматывают на ферритовом стержне от магнитной антенны радиоприемника длинных и средних волн.Полотном для резки кафельной плитки я неглубоко пропилил по кругу феррит.Далее руками просто разломал.Длина феррита взял 3см,но можно наверно и меньше.Обматываете феррит одним слоем скотча,по бокам приклеиваете «щечки»,и наматываете высоковольтную обмотку-2.Первый вывод этой обмотки,который будет выходить из катушки,должен быть ОБЯЗАТЕЛЬНО продет в ПВХ изоляцию,для предотвращения его обрыва от изгиба.Проводом диаметром 0.06-0.1мм наматывате 300витков.Этот слой обматываете тремя слоями скотча,следя,чтобы края скотча заходили на щечки,иначе в этом месте будет пробой.Чтобы катушка во время намотки не разматывалась,ее нужно проклеивать каплей клея.На феррите должно уложиться пять слоев по 300 витков.Наматывать в одном направлении.При обрыве тонкого провода его можно сварить зажигалкой.
Скручиваете два провода,и нагреваете конец скрутки до появления кругляшка.Потом аккуратно потяните два провода,и можно дальше продолжать намотку.Высоковольтную обмотку изолируйте тремя слоями скотча,и в том же направлении,что и вторичная,наматываете первичную.Она содержит 10 витков провода 0.6-0.8мм.Слой скотча и катушка готова.
Готовые катушки.
Транзисторы подбирал,и нашел самый наилучший вариант для работы первого преобразователя.Это распространенные транзисторы кт361 и c3205.Вместо кт361 подойдет кт3107.Вместо с3205-кт815,s8050,bd135.Тиристор не подбирал,т.к. он тоже распространен,но наверняка подойдет из этой-же серии mcr100-…Резисторы R3-R4 служат для порога открывания тиристора.Подобрав их,вы можете умощнить искру на выходе.Диоды должны быть быстропереключающиеся,смотри даташиты.Подойдут:ps158r;fr155p;fr107;fr103.
Дуга,поджигающая газ,длиной около 5-6мм.Меньше длина дуги-газ не зажжется.Дуга не опасна,ощущения покалывания,как от пьезозажигалки.
Аккумулятора должно хватить надолго.Я испытывал ее в течении часа аккумулятором емкостью 2800мА*1.2В,оставил включенной,и целый час искры шмалили у меня на столе.Проверил аккумулятор и он не разрядился.
Вот два видео как сделать зажигалку для поджига газа-газовой плиты.
Использование спичек на кухне не самый хороший вариант в плане комфорта, безопасности и экономии средств. Более простое решение — пьезозажигалка для газовой плиты.
Большинство современных портативных изделий для извлечения пламени снабжены удобными рукоятками и носиками. Поэтому зажигать конфорку при наличии на плите посуды или духовой шкаф при помощи таких приспособлений крайне удобно.
Пьезозажигалка
Это универсальное устройство, что функционирует без кремня, необходимости дополнительной заправки или подзарядки, доступа к электросети. Пьезозажигалка для газовой плиты оснащена износоустойчивыми кристаллами, срок службы которых измеряется десятилетиями. Приспособления данного характера безопасны при эксплуатации на кухне, обладают эргономичной формой корпуса, просты и мобильны.
Ремонт пьезозажигалки требуется лишь при исчерпании ресурса основного элемента, который отвечает за выработку искры. В случае возникновения неисправностей не стоит пытаться самостоятельно восстановить работоспособность. Как и любой бытовой прибор, пьезозажигалка для газовой плиты должна восстанавливаться специалистом. Такой подход к решению проблемы не только сэкономит силы и время, но также средства.
Устройство пьезозажигалки
Чтобы зажечь газ, достаточно поднести специальный носик с контактами к конфорке и нажать кнопку. Но что находится внутри пьезозажигалки и на основе какого принципа она действует?
Внутри корпуса изделий для разжигания огня на газовой плите расположены провода и пьезоэлемент. Последний передает и увеличивает давление с кнопки устройства. Чем больше силы прилагается при нажатии, тем выше поляризация проводки внутри корпуса.
Конструкция центрального элемента достаточно проста. Состоит он из двух металлических параллельно соединенных цилиндров.
Один из них выступает положительно заряженным электродом, окончание которого выводится к разряднику в виде провода. Оставшийся цилиндр заряжен отрицательно и вступает в контакт при давлении на кнопку. При активизации контактов пьезозажигалка для газовой плиты выдает разряд, который и воспламеняет газ при повороте конфорки.
Газовые зажигалки
В основе устройств данного типа лежит газовый баллончик и механизм для высечения искры. В отличие от пьезозажигалок, газовые нуждаются в периодической заправке, а также замене кремниевого элемента при его истирании.
Основной недостаток газовых приспособлений — взрывоопасность. Чтобы избежать воспламенения после очередной заправки газовой зажигалки, рекомендуется сделать перерыв в несколько минут перед использованием. Также не стоит оставлять подобные устройства в непосредственной близости к горячим предметам и открытому огню.
В целом же подобные мелочи для дома способны служить десятилетиями. При регулярном обслуживании и соблюдении требований эксплуатации такие портативные устройства чрезвычайно удобны и надежны.
Электрические зажигалки
Такие зажигалки питаются от стандартной электросети. Функционирование основывается на последовательном замыкании и размыкании цепи под воздействием на стержень электромагнитного поля. Активизация специальной кнопки приводит к возникновению мощного кратковременного разряда. Образование искры позволяет зажечь пламя.
Как и пьезозажигалка для газовой устройство отличается простотой эксплуатации, долговечностью и возможностью моментального поджога пламени без необходимости применения спичек.
Среди недостатков электрозажигалок стоит отметить привязанность к источнику питания, отсутствие возможности для использования при отключении электричества. Помимо прочего, существует вероятность возникновения опасной ситуации в случае воздействия пламени на электрические контакты. Допущение подобной небрежности при эксплуатации может спровоцировать возникновение короткого замыкания.
Электронные зажигалки
Они функционируют от батареек, что делает подобные приспособления крайне безопасными в применении.
Такие мелочи для дома отличаются конструкцией на основе импульсного преобразователя. При нажатии кнопки активизируется повышающий трансформатор, что вызывает появление множества сравнительно слабых искр, температуры которых оказывается вполне достаточно для розжига пламени.
Электронные приспособления для кухонной плиты удобны в повседневном использовании. Единственным недостатком здесь можно считать вероятность повреждения зажигающего элемента при контакте с влагой, жиром либо загрязнениями.
Большинство современных моделей газовых плит оснащены встроенными электронными элементами для высвобождения искр, что избавляет от необходимости применения зажигалок либо спичек.
Blue spark
Любителям смастерить что-нибудь на досуге в этот раз мы предлагаем
собрать несложную (а потому надёжную) искровую зажигалку. В отличие от спичек она не отсыреет в дождливую
погоду. Питать устройство предлагаем от стандартного ионно-литиевого элемента
18650.
Главную деталь нашей поделки — высоковольтный ферритовый трансформатор — можно извлечь из старого неисправного ЖК-монитора, ЖК-телевизора или сканера. Такие трансформаторы используются в схемах питания флюоресцентных ламп с холодным катодом, которые подсвечивают ЖК-матрицу и сканируемый документ. Типовой монитор содержит два или четыре подобных трансформатора — в зависимости от числа ламп подсветки, установленных вокруг матрицы.
Первичную обмотку трансформатора
нужно будет дополнить или заменить на новую. Перед разборкой магнитопровода
рекомендуем разогреть его феном, чтобы размягчить клей, скрепляющий половинки
сердечника. Используя медный провод диаметром 0,5 мм в лаковой изоляции,
изготовьте двенадцативитковую обмотку с отводом посередине. Провод можно
намотать внавал. Если вы обнаружите, что такая обмотка в трансформатор не
помещается, сделайте ту её
половину, которая используется в цепи обратной связи, из более тонкого провода, скажем, диаметром 0,2
мм.
При работе будьте осторожны, чтобы случайно не
повредить тонкую вторичную обмотку.
Импульсный генератор (см. схему на шаге 3) рекомендуем собрать на n-канальном полевом транзисторе 60T03H, IRF630 или другом подобном, которые используются в преобразователях напряжения на системных платах компьютеров. Если вам попадётся транзистор в корпусе для поверхностного монтажа, припаяйте его на кусочек жести, который легко прикрутить к радиатору.
К выводам вторичной обмотки нужно припаять жёсткие проводники, между которыми будет зажигаться искровой разряд. Следите за тем, чтобы длина дуги не превышала 2-3 мм, иначе возможен пробой генераторного транзистора.
За одну-две секунды, пока горит дуга, транзистор обычно не успевает нагреться. Но если вы собираетесь использовать устройство не только для поджига газовых конфорок, рекомендуем прикрутить к электронному прибору небольшой алюминиевый радиатор.
Для включения зажигалки вам
понадобится удобная кнопка без фиксации, способная выдерживать ток 1,5-2 А.
Ионно-литиевый элемент 18650 проще всего разместить в батарейном отсеке, откуда
его можно будет время от времени извлекать для зарядки. Впрочем, возможно,
кто-то из читателей предпочтёт более изящное решение, добавив разъём для
подключения внешнего зарядного устройства и соответствующие цепи.
Рекомендуем сначала собрать схему на скорую руку, чтобы убедиться в устойчивости её работы и оценить нагрев транзисторного ключа, а затем уже перенести устройство в удобный и безопасный изолированный корпус.
При работе будьте аккуратны, соблюдайте технику безопасности. Не давайте зажигалку детям.
Далее следуйте инструкциям под фотографиями.
Источник: Энерговектор
DIY Arc Lighter: 4 шага (с изображениями)
Здесь вы можете найти список деталей с примерами продавцов (партнерские ссылки).
Но инвертор CCFL, который я использовал, доступен только в Германии и Австрии. Всемирная ссылка содержит еще один инвертор, который, мы надеемся, должен содержать приличный трансформатор.
Ebay:
1x инвертор CCFL (для Германии / Австрии): http://rover.ebay.com/rover/1/707-53477-19255-0/1? …
1x инвертор CCFL (во всем мире): http: // rover.ebay.com/rover/1/711-53200-19255-0/1? …
2x 220nF Конденсатор: http://rover.ebay.com/rover/1/711-53200-19255-0/1 ? …
2x IRLU3110Z MOSFET: http://rover.ebay.com/rover/1/711-53200-19255-0/1? …
2x UF4007 Diode: http: //rover.ebay .com / rover / 1 / 711-53200-19255-0 / 1? …
2x 220 Ом Резистор: http://rover.ebay.com/rover/1/711-53200-19255-0/1? …
1x 0,1 мГн индуктор: http://rover.ebay.com/rover/1/711-53200-19255-0/1? …
1x 3,7 В 220 мАч 15C LiPo аккумулятор: http: / / ровер.ebay.com/rover/1/711-53200-19255-0/1? …
1x Зарядная плата TP4056: http://rover.
ebay.com/rover/1/711-53200-19255-0/ 1? …
1x Тактильная кнопка: http://rover.ebay.com/rover/1/711-53200-19255-0/1? …
Aliexpress:
1x Инвертор CCFL: https://s.click.aliexpress.com/e/_d8wuEQ2
2x 220nF конденсатор: https://s.click.aliexpress.com/e/_dU4FEsB
2x IRLU3110Z MOSFET: https: // s .click.aliexpress.com / e / _dWTzGuq
2x UF4007 Диод: https: // s.click.aliexpress.com/e/_dYR45Bh
2 x 220 Ом резистор: https://s.click.aliexpress.com/e/_dTPpXjt
1x 0,1 мГн индуктор: https://s.click.aliexpress.com/e / _dTrNFSm
1x 3,7 В 220 мАч 15C LiPo аккумулятор: https://s.click.aliexpress.com/e/_dZtvdV8
1x Зарядная плата TP4056: https://s.click.aliexpress.com/e/_dX8n0hp
1x тактильная кнопка: https://s.click.aliexpress.com/e/_dXIIMcP
Amazon.de:
1x инвертор CCFL: http: // amzn.to / 2jqamLT
2x 220 нФ Конденсатор: http://amzn.to/2jqg7ZR
2x IRLU3110Z MOSFET: —
2x UF4007 Диод: http://amzn.
to/2hlNgBY
Резистор: 2x: 220 amzn.to/2jq1XI7
1x 0,1 мГн Индуктор: http://amzn.to/2jq9ffd
1x 3,7 В 220 мАч 15C LiPo аккумулятор: http://amzn.to/2jqderU
1x Зарядная плата TP4056: http: / /amzn.to/2eUvMNO
1x тактильная кнопка: http://amzn.to/2iRokTM
Amazon.com: IS Icstation DIY высоковольтная электрическая плазменная дуговая зажигалка, сборочный комплект, проект эксперимента по электронной науке с входом 3-5 В (2 шт. набор): Игрушки и игры
В настоящее время недоступен.
Мы не знаем, когда и появится ли этот товар в наличии.
- Убедитесь, что это подходит введя номер вашей модели.
- Это сборочный комплект, который нужно пользователю для завершения процесса сборки.
- Простой комплект для сборки электродугового зажигалки, основанный на принципе катушки Тесла и выводящий импульс высокого напряжения, таким образом, он будет генерировать электрическую дугу между двумя проводами.
- Он поддерживает входное напряжение 3-5 В, просто подключите его к батарее 18650, и он выдаст плазменную дугу, которая может зажечь бумагу.

- Простая схемотехника, простота сборки.
- Входное напряжение: 3-5 В постоянного тока, рабочий ток: <2.5 А, выходной ток: 3 А (макс.), Рабочая частота: 20 кГц, длина плазменной дуги: 4 мм (прибл.)
PLASMA ARC Lighter — DIY HACKER EDITION — hackerspaceshop
Вы слышали о PLASMA Arc-Lighters ?
Эти зажигалки производят две плазменные дуги, достаточно мощные, чтобы разжечь костер или зажечь сигарету.
Хотя сами зажигалки впечатляют, мы изменили их, чтобы сделать еще круче!
Когда вы их включаете, они работают должным образом и создают плазменную дугу.
Через 5 секунд (достаточно, чтобы зажечь сигарету) зажигалка переключится в режим МУЗЫКА и сыграет небольшую мелодию, не используя никакого другого устройства вывода, кроме самой ПЛАЗМЫ!
Это похоже на маленькую катушку Тесла в вашем кармане, которая издает звуки.
Основываясь на идее проекта PodeCoets с 2016 года, мы разработали нашу собственную прошивку, совместимую с доступными в настоящее время версиями печатных плат в этих зажигалках.
ЭТО НАБОР ДЛЯ СДЕЛКИ!
Вы получаете зажигалку, предварительно запрограммированный микроконтроллер PIC и конденсатор 0604.
Зажигалка нужно ОТКРЫТЬ самостоятельно.
Необходимо самостоятельно распаять имеющийся MCU и конденсатор.
Вам нужно припаять новый конденсатор.
Вам нужно припаять новый MCU.
Мы не можем предоставить его в распайке из-за проблем с ответственностью.
Если вы считаете, что не можете сделать это самостоятельно, свяжитесь с нами для получения подробной информации.
Предупреждение: никогда не касайтесь плазменной дуги.
Не кладите ничего токопроводящего в дуги (например, кусок проволоки, отвертку или кусок припоя).
Вы будете шокированы и пожалеете об этом.
Это чертовски больно. Поверьте мне. Я пробовал это, так что вам не обязательно.
ССЫЛКИ:
Оригинальная запись PodeCoet
Сборка видео для DIY Edition.
Для модификации вашего arclighter вам потребуется:
- Паяльник с мелким наконечником
- пинцет
- маленькая крестовая отвертка
- лента
Первое видео (на немецком) Веселье начинается в 0:32
Black Lighter играет на тему Имперского марша
Rainbow Lighter играет мелодию Cantina Band
youtube.com/embed/T1sLjdAJ730″ frameborder=»0″ allowfullscreen=»»/>
Лучшие электрические зажигалки и плазменные зажигалки
Лучшие перезаряжаемые от USB электрические и плазменные зажигалки
Наш лучший выборПроверить цену (Amazon)
Вы устали покупать пластиковые зажигалки, которые никогда не работают, когда они вам нужны? Тогда идеальным экологически чистым решением станет плазменная зажигалка футуристического вида.С помощью многоразовой электрической зажигалки можно зажечь свечей, кухонные плиты, фейерверки, барбекю и многое другое . Плазменные зажигалки не содержат пламени или огня, не имеют искр или запаха и безопасны в использовании. Когда вы используете зажигалку, вы слышите только высокий мягкий шум.
Заряжайте электрическую зажигалку USB снова и снова в течение нескольких часов с помощью кабеля USB. После зарядки плазменную зажигалку можно использовать примерно 300-500 раз, прежде чем потребуется ее перезарядка.
Кроме того, электрические зажигалки удобны и супер-круто выглядят, к тому же они намного экологичнее одноразовых.Нам очень нравится эта плазменная зажигалка RONXS.
Раскрытие: Эта статья поддерживается читателями. Если вы нажмете на продукт и сделаете покупку, мы можем получить комиссию — узнайте больше.
Топ-10 электрических зажигалок
Перезаряжаемые электрические зажигалки бывают разных форм, размеров и цветов. Одна важная особенность, на которую следует внимательно обратить внимание, — это тип зажигалки, например, однодуговой, двойной или катушечный.В нашем руководстве ниже мы расскажем вам больше об этих типах зажигалок.
Наша команда составила исчерпывающий список из 10 наших любимых многоразовых плазменных зажигалок на основе наших требований и отзывов клиентов. В ассортименте длинных электрических зажигалок и плазменных дуговых зажигалок Zippo .
# 1 | RONXS Модернизированная плазменная дуговая зажигалка
Гуру аккумуляторных электрических зажигалок# 1 Бестселлер
Эта USB-зажигалка по праву считается гуру электрических зажигалок.Перезаряжаемая зажигалка имеет длинную гибкую шейку, идеально подходящую для зажигания труднодоступных свечей. Шея прочная и сделана из металла.
Зажигалка сама по себе кажется прочной и имеет приятную «цепкую» текстуру. Он содержит переключатель включения / выключения, а светодиодный индикатор показывает, сколько заряда осталось. Конечно, можно подзарядить зажигалку через USB.
Поставляется в красивой подарочной упаковке со щеточкой для чистки и USB-кабелем. Вы можете выбрать один из нескольких цветов, нам также нравится эта красная зажигалка.
Примечание редактора : «У меня такая же зажигалка, и она отлично работает!»
Проверить цену (Amazon)
# 2 | Зажигалка Tesla Coil Single Arc,
Крутая и привлекательная зажигалка Классная перезаряжаемая зажигалка в стиле Zippo с одной плазменной дугой.
Эта зажигалка доступна в нескольких цветах и стилях. Отлично подходит для зажигания свечей и сигарет, но не сигар.
Чтобы зажечь зажигалку, откройте ее, как классический Zippo.Нажмите кнопку, чтобы зажечь плазму. Полностью заряженный USB-кабелем, его можно использовать 100-300 раз.
Поставляется в нескольких цветах, безопасен и прост в использовании, нажимая кнопку.
Проверить цену (Amazon)
# 3 | Зажигалка дуговая RONXS
Удлиненная гибкая шейка для кемпинга, приготовления пищи и фейерверковЭта плазменная зажигалка имеет длинную гибкую шейку на 360 °, предназначенную для использования в любом направлении.Зажигалка RONXS — идеальный инструмент для зажигания свечей или сигарет в плохую погоду.
Светодиодный индикатор батареи показывает уровень заряда батареи, полная зарядка может быть использована до 500 раз. Предохранительный выключатель предназначен для защиты пальцев от огня.
Проверить цену (Amazon)
# 4 | RONXS Зажигалка для путешествий,
Портативная дорожная зажигалка с защитной крышкойЗажигалка RONXS Travel Lighter — это дополнительная безопасная перезаряжаемая электрическая USB-зажигалка.Чтобы создать искру, вы должны сначала снять защитный колпачок, затем сдвинуть переключатель включения / выключения вперед и, наконец, зажечь плазму с помощью кнопки переключателя.
Зажигалка длиной 7 дюймов более компактна, чем другие электрические зажигалки, поэтому ее легче носить с собой во время путешествий. Зажигалка защищена от ветра и брызг.
Проверить цену (Amazon)
# 5 | Элегантная электрическая дуговая зажигалка
Компактная электрическая зажигалка в современном стиле Элегантный современный дизайн с такими же размерами, как у бутановой зажигалки.С модернизированным аккумулятором можно полностью зарядить до 600 раз.
Маленький светодиодный индикатор показывает, насколько заряжен аккумулятор этого двойного дугового прикуривателя. Чтобы зажечь зажигалку, откройте предохранительный колпачок и нажмите синюю кнопку зажигалки.
Проверить цену (Amazon)
# 6 | Электрическая зажигалка Freedom Goods
Электрическая зажигалка с элегантным дизайном и функцией безопасностиЗажигалка Freedom Goods — доступная по цене перезаряжаемая плазменная зажигалка, которая отличается элегантным дизайном и ставит безопасность во главу угла.Он имеет предохранительный выключатель, который необходимо задействовать при зажигании, и мощную батарею, которая выдерживает до 800 циклов зарядки, что делает его экологически безопасным вариантом против многоразовых и одноразовых зажигалок.
Он защищен от брызг и ветра, что делает его идеальным инструментом для пеших прогулок и использования на открытом воздухе. Он также поставляется с водонепроницаемой сумкой и кабелем micro-USB.
Проверить цену (Amazon)
# 7 | Плазменная зажигалка Saberlight
Awesome Torch Lighter Отлично подходит для сигарПлазменная зажигалка с двойной аркой для зажигания сигар, мисок, трубок и сигарет.Плазменная волна горячее огня. Полностью заряжается в течение часа и может использоваться 300 раз на одной зарядке.
Зажигалка из матового металла забавна, проста в использовании, выглядит круто и уникально.
Проверить цену (Amazon)
# 8 | RONXS RX01 Зажигалка Single Arc Premium
Простая зажигалка премиум-классаПростая электрическая зажигалка на одну дугу с длинной гибкой шейкой. Маленький светодиодный дисплей показывает, сколько заряда у зажигалки.Он поставляется в красивой коробке с инструментом для его очистки, зарядным кабелем и петлей для запястья.
Зажигалка имеет специальный датчик, поэтому она не включается случайно.
Проверить цену (Amazon)
# 9 | Плазменная зажигалка ТГ
Зажигалка Dual Arc для кемпинга и выживанияПлазменная зажигалка TG — беспламенная электрическая зажигалка с прочной и стильной конструкцией. Корпус изготовлен из силиконовой резины, а зажигалка закрыта фиксирующим механизмом.
Плазма ветрозащитная и водонепроницаемая, электрические отсеки имеют встроенную защиту от короткого замыкания. Это делает зажигалку идеальной для любителей кемпинга.
Когда зажигалка полностью заряжена, вы можете использовать ее 300 раз, прежде чем потребуется зарядить ее с помощью прилагаемого USB-кабеля.
Проверить цену (Amazon)
# 10 | Электродуговая зажигалка SUPRUS
Электрическая зажигалка из нержавеющей стали с длинным корпусом Электрическая зажигалка SUPRUS — прочная и безопасная в использовании многоразовая зажигалка.
Чтобы зажечь зажигалку, вам нужно нажать на предохранитель, а затем нажать на замок зажигания.
Особой безопасностью является то, что искра автоматически прекращается через семь секунд после воспламенения. Головка зажигалки Single arc может быть убрана в корпус зажигалки для защиты головы.
На корпусе отображается уровень заряда аккумулятора, где 4 светодиода означают, что аккумулятор полностью заряжен. В комплект зажигалки входит зажигалка, USB-кабель для зарядки, руководство пользователя и гарантийный талон на 1 год.
Проверить цену (Amazon)
Загрязнение океана пластиком часто проявляется в виде кишок морских птиц, наполненных зажигалками. WeForm.org
Подробнее о плазменных дуговых зажигалках
Навигация:Что такое электрическая или плазменная зажигалка?
Плазменная зажигалка или электрическая дуговая зажигалка — это электронная зажигалка с одинарной или двойной дугой плазмы между двумя или четырьмя электродами.
Есть одно исключение из этого правила — зажигалка с катушкой. Это также электрическая зажигалка, но не плазменная. В полностью электрических зажигалках вы зажигаете плазму или катушку нажатием кнопки, плазма затем поддерживается более низким напряжением или катушка нагревается.
Эти электронные зажигалки заряжаются через USB-порт, что в среднем занимает час. Вы можете использовать зажигалку примерно 200-300 раз перед ее подзарядкой.
Преимущества электронных аккумуляторных зажигалок:Одноразовые пластиковые зажигалки — один из самых распространенных морских мусора, обнаруживаемых в наших океанах.Заменив одноразовую зажигалку на одноразовую и перезаряжаемую электрическую зажигалку, вы предотвратите отходы пластика, потому что можете повторно использовать эту зажигалку снова и снова.
- Экологичность.
- Больше нет необходимости доливать жидкость для зажигалок.
- Ветрозащитный, поэтому его легко использовать на открытом воздухе.

- Экономически больше не нужно покупать одноразовые пластиковые зажигалки.
- Для курящих и некурящих.
- Зажгите свечи, сигареты, сигары, трубки, фейерверки, барбекю и костры.
- Смотрится круто, стильно и модно.
- Отлично подходит для аварийного снаряжения, кемпинга и походов.
- Прочный, перезаряжаемый, надежный и долговечный.
- Некоторые из них водонепроницаемы или оснащены фонариком.
- Ни искры, ни запаха, ни шума.
- Очень хорошие функции безопасности, поэтому очень надежный.
Виды электрических зажигалок
Когда вы покупаете электрическую зажигалку, вы можете выбрать один из нескольких различных типов.Этот выбор должен основываться на том, для чего вы собираетесь чаще всего использовать зажигалку. Ниже вы найдете объяснения, которые помогут сделать правильный выбор.
В чем разница между зажигалкой на одну или две дуги?
Зажигалка с двойной дугой в два раза мощнее, чем зажигалка с одной дугой. Мы рекомендуем зажигалку с двойной дугой вместо зажигалки с одной дугой для более быстрого и быстрого зажигания сигарет, сигар и свечей. Однако зажигалка с одинарной дугой будет более энергоэффективной, чем зажигалка с двойной дугой.
Какая электрическая зажигалка лучше всего подходит для свечей и печей?
Хотите зажечь свечи, кухонные газовые плиты, грили, барбекю или развести костер во время кемпинга? Тогда рекомендуется купить плазменную зажигалку с длинной шеей. Эти перезаряжаемые USB-зажигалки имеют длинную шейку, что делает их идеальными для освещения труднодоступных фитилей свечей.
Но они также отлично подходят для зажигания газовой плиты или барбекю. Это намного безопаснее, чем использовать спички или небольшую зажигалку. Кроме того, дуговые зажигалки с длинной шейкой являются беспламенными, брызгозащищенными и ветрозащитными.
У некоторых зажигалок с длинным горлышком гибкое горлышко. Эти зажигалки можно поворачивать, сгибать и поворачивать, что очень удобно.
Какая дуговая зажигалка лучше всего подходит для сигар?
Для сигарет можно использовать практически любую электронную плазменную зажигалку. Но для сигар, особенно больших, не всякая электродуговая зажигалка удобна в использовании.
Для сигар мы рекомендуем по крайней мере двойную дуговую зажигалку с четырьмя направленными вверх электродами.Двойные дуговые зажигалки используются для освещения плоских поверхностей. Кроме того, если вы регулярно курите сигару, вы можете подумать о зажигалке с электрической спиралью, идеально подходящей для сигар.
Обзор плазменной зажигалки и видео испытаний
Ниже вы можете посмотреть несколько видеороликов, в которых ютуберы распаковывают, просматривают или тестируют определенные модели электрических зажигалок. Эти видео могут быть интересны, если вы хотите увидеть и услышать, как выглядит электрическая зажигалка в действии.
- Обзор двухдуговой электронной зажигалки SPPARX
- Распаковка зажигалки Plazmetic X Arc
- Тест зажигалки Тесла
Зажигалки многоразовые вместо аккумуляторных
Может быть, электрическая дуговая зажигалка — не та зажигалка, которую вы любите или ищете.Электрическую зажигалку необходимо заряжать через USB, поэтому люди, находящиеся на открытом воздухе, которые хотят разбить лагерь или отправиться в поход, могут быть бесполезны. Еще одна отличная альтернатива одноразовым пластиковым зажигалкам — это многоразовые зажигалки, такие как Zippo.
Zippo’s — одна из самых популярных и стильных многоразовых зажигалок, которые вы можете получить. Мы рекомендуем покупать многоразовую металлическую зажигалку вместо пластиковой многоразовой зажигалки. Обратите внимание, что многоразовые зажигалки необходимо заправлять жидкостью для зажигалок.
Совет: | Комплект Zippo All-In-One
Стартовый набор для многоразовой зажигалкиЭтот набор Zippo All-In-One включает одну зажигалку Street Chrome, один дозатор для финтов и одну банку с жидкостью для зажигалок Premium Lighter Fluid
объемом 4 унции.- Тип пламени: Огненное пламя
- Цвет: Серый
- Перезаряжаемый: Нет, но заправляемый жидкостью для зажигалок
Проверить цену
Посмотреть все зажигалки Zippo на Amazon.com
Производители аккумуляторных плазменных зажигалок
Вот несколько компаний, производящих электродуговые зажигалки. По ссылкам ниже вы попадете на официальные сайты:
Шокирующие цитаты об отходах пластиковых зажигалок
- «Загрязнение океана пластиком часто проявляется в виде кишок морских птиц, наполненных зажигалками…» — WeForum.org
- «… уборщики пляжа обнаружили в мусоре почти 1000 бутановых зажигалок.” — Huffingtonpost.com
- «Если вам интересно, куда деваются ваши… зажигалки после того, как вы их выбросили, вот ваш ответ: многие оказываются в океане». — TheVerge.com
- «Это зрелище, которое, возможно, хотелось бы никогда не видеть, и уж точно никогда не забыть: труп лайсанского альбатроса, его желудок заполнен одноразовыми зажигалками…» беспокоить некоторых зрителей )
Зачем тратить деньги на одноразовые зажигалки , которые вредят окружающей среде , в то время как электрические зажигалки являются более экологичной, экономичной и более стильной альтернативой?
Шаг вперед: Переработка, повторное использование и сокращение
Три стрелки символа переработки представляют три основных этапа процесса переработки: переработка, повторное использование и сокращение . Вместе стрелки образуют замкнутый контур. Сделайте шаг вперед и внедрите экологически чистые заменители в свою повседневную жизнь.
Присоединяйтесь к движению! Шагните вверх по иерархии отходов вместе к цели нулевых отходов.
Tesla Arc Lighter против Saberlight Sparq | Отзыв о лучшем USB-дуговой зажигалке
У каждого есть свои уникальные сильные и слабые стороны, поэтому мне просто пришлось купить оба, чтобы понять, что лучше всего подходит для моих нужд. Что ж, они достаточно дешевые, чтобы их можно было купить в куче. В конце концов, у обоих есть импульсный плазменный луч.Итак, давайте разберемся, что наиболее полезно и как они производятся.
Обзор Sabrelight Sparq
Итак, Saberlight Sparq была первой дуговой зажигалкой, которую я опробовал за несколько недель. Сначала я полностью зарядил его, чтобы посмотреть, сколько он продержится при нормальном использовании. Нам удалось получить 280 использований до того, как пришлось его перезаряжать.
Беспламенная зажигалка Saberlight Sparq использовалась примерно 15 раз в день в течение 2 недель, зажигая свечи и газовую плиту. Были проблемы без подзарядки.
Самодельные зажигалки были еще одним продуктом, на котором мы тестировали зажигалку Sabre. Он воспламеняет их, но для этого требуется на несколько секунд больше времени горения по сравнению с зажигалкой. Карманный бутановый фонарик загорится быстрее всего. Но это не всегда практично.
Дома я смог зажечь свечи и разжечь камин, используя бумагу и веточки. Он также был испытан для зажигания благовоний, бумаги, газовой духовки, фитилей, фейерверков и многого другого. Больше не нужно обжигать пальцы спичками или зажигалками.Это отличный высокотехнологичный стартер огня.
USB-дуговой осветитель шума и запаха — Плазменный
Из-за образования плазменной дуги возникает небольшой шум дуги с большим шагом. Звук мне очень нравится. Он не очень громкий, и если вы окажетесь на расстоянии нескольких футов, вы его даже не услышите.
Не прикасайтесь к плазменной дуге, вы получите ожог или легкий удар электрическим током.
Если вы включите плазменную зажигалку и поднесете ее к носу во время нажатия кнопки, появится очень легкий запах гари.Это могут быть остатки обожженной бумаги / дерева / воска, которые касались электродов во время их использования. Это также может быть остаток озона, который проходит через кислород.
Озон создается высоковольтным электрическим разрядом (дуга / искра) при прохождении через него воздуха. Когда воздух движется через дугу, молекулы кислорода временно разделяются на отдельные атомы кислорода. Когда они очищают корону, они начинают рекомбинировать обратно в кислород (O2) и озон (O3).
Saberlight Teardown
Так что же внутри Saberlight?
Я решил открыть эту дуговую зажигалку USB, чтобы посмотреть, что заставляет работать эти зажигалки-электрошокеры.У меня есть привычка разбирать предметы. Например, неисправный планшет Samsung Tab3 моей дочери, которому необходимо было повторно отключить аккумулятор. Но единственный инструмент, необходимый для снятия этого зажигалки, — это отвертка с головкой Philips.
На самом деле я думал, что внутри будет батарея 18650, но был приятно удивлен, увидев плоскую литий-ионную батарею 3,7 В, она рассчитана на 280 мАч.
Катушка высокого напряжения с повышающим трансформатором первичной и вторичной обмоток помещена в черный ящик.Возможно откачки между 4000v-5000v
На печатной плате есть несколько транзисторов, диодов и сильный магнит, чтобы крышка оставалась закрытой и открытой. Схема выглядит как однотранзисторный генератор. Со встроенной схемой зарядки USB.
Электронная аккумуляторная беспламенная зажигалка USB
- Light Anything — Вы больше не ограничены узкой катушкой старых плазменных зажигалок
- Не содержит химикатов / бутана
- Перезаряжаемый
- Ветрозащитный
- Заявлено о брызгозащите
- Аэропорт одобрен
- 300 использований на одной зарядке (время быстрой зарядки 1 час)
Что входит в комплект Sabre Sparq:
- Saberlight Sparq перезаряжаемая двойная плазменная зажигалка.
- USB-кабель для зарядки длиной 10 см
- Sparq от Saberlight — это новейший плазменный фонарик. Он был полностью переработан и модернизирован с дополнительным дуговым лучом, чтобы его можно было использовать с продуктами, с которыми у традиционных однодуговых зажигалок были проблемы. Это лучшая электронная зажигалка с зарядкой от USB.
- Традиционный плазменный воспламенитель ограничен узкой катушкой Тесла, поэтому они не могут освещать большие объекты с плоскими поверхностями.Sparq решает эту проблему, используя свободно текущую импульсную плазменную дугу. Это означает, что теперь вы можете зажечь что угодно, применив плазменную дугу ко всей поверхности, пока она не загорится.
- Saberlight Sparq использует технологию светового меча для создания чрезвычайно горячей плазменной волны, которая горячее огня. Вы можете использовать Sparq для всего, что может сделать традиционный бутановый разжигатель, но лучше и безопаснее.
- В Sparq вместо топлива используется перезаряжаемый литий-ионный элемент. Этот литиевый элемент заряжается за час, и его хватит на более чем 3 часа постоянного использования.Вы также получаете пожизненную гарантию при каждой покупке Sparq. Это означает, что, если Sparq выйдет из строя, вы можете просто вернуть его и получить полную компенсацию.
Лучший USB-прикуриватель
Это была моя любимая дуговая зажигалка с интерфейсом USB. Больше никаких вредных газов бутана. Исследования показали, что бутан может быть вредным для человека. Чем меньше вредных устройств у меня дома, тем лучше. Sabre Sparq использует технологию беспламенной плазмы, чтобы полностью исключить потребность в этом вредном химическом газе.
Если вы курите и путешествуете по воздуху, искра Sabrelight одобрена TSA — это потому, что в ней нет опасного топлива или газа.Зажигалка Sparq Arc является беспламенной, поэтому на нее не действуют ни ветер, ни вода. Таким образом, вы можете использовать его в любых условиях, в дождь и при яркой погоде.
Sparq Saberlight — одна из самых крутых перезаряжаемых дуговых зажигалок. Он был полностью переработан с использованием современных технологий, чтобы его можно было безопасно использовать с большинством легковоспламеняющихся предметов.
Традиционные зажигалки с плазменным лучом ограничены узкой катушкой Тесла, поэтому они не могут осветить предметы, которые не помещаются внутрь. Sparq полностью решает эту проблему, перемещая плазменные электроды в верхней части зажигалки, чтобы устранить узкую катушку Тесла.С добавлением двойных плазменных лучей у вас будет самый горячий плазменный дуговый луч.
Обзор спиральных зажигалок Tesla
Зажигалка Tesla Coil представляет собой электрическую зажигалку USB в стиле Zippo. Они выпускаются в двух версиях: одинарного и двойного плазменного дугового зажигалки.
Я нашел их идеального размера, чтобы поместиться в кармане и использовать каждый день. Это основная причина популярности Zippo. Как и Saberlight, эта зажигалка Tesla Coil использует высокое напряжение для активации высокочастотного плазменного луча.
Зажигалки Tesla Coil — это перезаряжаемые электрические зажигалки, которые не требуют бутана и не имеют пламени. Создается только плазменная электрическая дуга высокого напряжения.
Эта электрическая дуга, представляющая собой видимый плазменный разряд между двумя электродами, обычно розового или пурпурного цвета. Это происходит из-за электрического тока ионизирующих газов в воздухе. Электрические дуги в природе часто возникают в виде молний.
USB-беспламенная зажигалка Функции безопасности
Зажигалка Tesla Coil Lighter также имеет отличную функцию безопасности: она не загорается при закрытой крышке.Таким образом, не возникнет проблем, если вы случайно нажмете кнопку питания, когда она находится в кармане или сумочке. Таким образом, медленно давая плазменной зажигалке разряженную батарею.
Зажигалка Tesla Coil Lighter проста, безопасна, надежна, долговечна, а благодаря своему элегантному дизайну она станет отличным подарком для вас или ваших друзей.
Saberlight Sparq имеет небольшой выключатель внизу, его необходимо активировать перед нажатием кнопки дуги. Не нарушение сделки, а всего лишь еще один шаг. Оба они отключатся примерно через 10 секунд работы плазменной дуги.
- 1 — Дуговая зажигалка Tesla Coil Lighters
- Размер: 3 дюйма x 1,75 дюйма x 0,5 дюйма / вес 3 унции (длина дуги: 5 мм)
- USB аккумуляторная
- Безопасный и простой в использовании, загорается одним нажатием кнопки
- Полная зарядка может длиться до недели или 100-300 использований
Что входит в комплект Tesla Arc Lighter Box
В полученный мною пакет был небольшой мягкий бархатный мешочек для хранения плазменной зажигалки, а также небольшой кабель micro USB.Это зарядный кабель, который пользователи могут заряжать от вашего компьютера или настенной розетки телефонного зарядного устройства, чтобы заправить свою зажигалку Tesla Coil электричеством. Так что для полного выживания почему бы не отправиться в поход и не использовать зарядное устройство для телефона на солнечной энергии.
Как зарядить USB-зажигалку Tesla
Просто зарядите с помощью прилагаемого кабеля micro USB, и все готово. Он будет быстро заряжаться примерно за 1 час в зависимости от используемого зарядного устройства для телефона.
Подключите один конец кабеля micro USB к компьютеру или настенному зарядному устройству, а другой конец — к разъему micro USB на запальнике дуги.
Поскольку в зажигалке не используется пламя, она не только защищена от ветра, но также экономична и экологична. Не надо доливать жидкость для зажигалок и не выбрасывать дешевые пластиковые зажигалки и спички. Таким образом, он экологически чистый и дешевый, так как все, что ему нужно, — это время от времени подзаряжать его.
Разборка дуговой зажигалки Tesla
Спасибо bigclivedotcom за демонтаж и разборку традиционной электронной дуговой зажигалки Zippo. Также имеется предупреждение о недопустимости касания плазменной дуги металлическим предметом.Ой!
Что может поджечь плазменную зажигалку
Эти плазменные дуговые зажигалки USB могут сжигать ладан, бумагу, свечи, переносные газовые и пропановые барбекю, фитили, фейерверки и многое другое.
Сколько дуговых огней я могу получить от электронного USB-прикуривателя?
Вы можете получить до 300 активаций за один полный заряд в зависимости от времени, необходимого для зажигания легковоспламеняющихся материалов. Или 1-3 часа полноценного использования.Батареи прослужат несколько месяцев, если она не используется, прежде чем потребуется подзарядка.
Сколько времени нужно на зарядку?
Когда аккумулятор разряжен, его можно зарядить в течение 1-2 часов. Это зависит от типа используемого настенного или компьютерного зарядного устройства. Настенные зарядные устройства обычно заряжаются быстрее, чем USB-выход компьютера.
Как узнать, что прикуриватель USB Arc полностью заряжен?
Синий индикатор на устройстве погаснет. Целесообразно отключать зажигалку от сети после того, как она полностью зарядится.
Насколько высока температура дуги плазменного луча?
Дуга электрической зажигалки нагревается примерно до 1100 градусов по Цельсию или 2012 градусов по Фаренгейту. Это сверхгорячий электрический луч.
Какие батареи используются в зажигалках Tesla и Sparq Arc?
В этих электродуговых зажигалках используется качественная перезаряжаемая литий-ионная батарея, аналогичная плоским литиевым батареям, используемым в смартфонах и планшетах. Так что они очень безопасны.
Можно ли заменить батарею в зажигалках Tesla?
В обычных условиях Нет. Литий-ионный аккумулятор встроен в устройство и не подлежит замене. Хотя, если вы умеете работать с электроникой и у вас есть паяльник, вы теоретически можете заменить батарею. Как и в случае с мобильным телефоном, вы получите много лет беспроблемного использования зажигалки Plasma Beam.
Есть ли проблемы с международной доставкой дуговых зажигалок?
Нет, в отличие от традиционных зажигалок, эти дуговые зажигалки не содержат легковоспламеняющегося топлива, такого как бутан.Поскольку он содержит литий-ионную батарею, на внешней стороне почтового пакета может быть предупреждающее сообщение.
Могу ли я получить электрический ток, если просуну пальцы между двумя электродами на кончике?
Так же, как и с обычной зажигалкой, никогда не следует возиться с каким-либо типом зажигалки. И в зажигалке Tesla, и в зажигалке Sabre обнаружены элементы высокого напряжения. если вы все-таки прикоснетесь к ним, вы можете получить легкий удар электрическим током.
Я категорически не рекомендую использовать плазменную зажигалку на металлических предметах.Вы получите удар электрическим током.
Каковы некоторые зарядные характеристики дуговой зажигалки?
- Номинальное напряжение: 3,7-4,2 В
- Номинальная мощность: 150 мАч — 300 мАч в зависимости от размера дугового прикуривателя USB
- Вход: 5 В (+/- 0,05 В)
- Выход: 4 В
Какие меры безопасности предусмотрены в электродуговых зажигалках?
Безопасность этих зажигалок высока. Вот почему эти электрические дуговые зажигалки включают в себя такие функции безопасности, как:
- Защитная крышка,
- Нет пламени или топлива
- Меньше нагрева кончика устройства, когда оно не используется.
- Дополнительный переключатель включения / выключения в основании Sabre Lighter Sparq
Дуговая плазменная зажигалка iLevar с сенсорным переключателем
Дуговая плазменная зажигалка iLevar с сенсорным переключателемРаспроданный
- 【Модернизированные зажигалки с сенсорным переключателем】 Уникальная технология двойной плазменной волны может создавать плазменные волны, которые более горячие, чем традиционные зажигалки Может легко зажигать свечи, бумагу и т. Д.
- 【Светодиодный индикатор питания и перезаряжаемая USB-функция Светодиодный индикатор уровня заряда батареи заставит вас быть готовым к любой работе, его можно подключить к любой розетке USB, занимает всего 1 к 1.5 часов полной зарядки можно использовать в течение 20 дней (до 200 раз воспламенения), больше нет вредного бутана, экологично
- 【Ветрозащитный и брызгозащищенный】 В отличие от традиционных зажигалок, зажигалка устойчива к погодным условиям. Они проходят тщательные испытания и имеют сертификаты ветрозащиты и брызгозащищенности, что идеально подходит для активного отдыха, например, для кемпинга, путешествий, походов и вечеринок.
- 【Повышенная безопасность и надежность】 Безопасный и простой в использовании, защита от перезарядки; защита от короткого замыкания; Нажмите кнопку, и электрическая зажигалка загорится на 8 секунд и интеллектуальное отключение питания для обеспечения безопасности
- 【Отличный подарок】 Уникальный и элегантный дизайн, нежный внешний вид с подарочной упаковкой делают его идеальным выбором для подарка.Зажигалка Ilevar Arc — идеальный творческий и практичный подарок отцу и друзьям
- 【Модернизированные зажигалки с сенсорным переключателем】 Уникальная технология двойной плазменной волны может создавать плазменные волны, которые более горячие, чем традиционные зажигалки Может легко зажигать свечи, бумагу и т. Д.
- 【Светодиодный индикатор питания и перезаряжаемая USB-функция Светодиодный индикатор уровня заряда батареи заставит вас быть готовым к любой работе, его можно подключить к любой розетке USB, занимает всего 1 к 1.5 часов полной зарядки можно использовать в течение 20 дней (до 200 раз воспламенения), больше нет вредного бутана, экологично
- 【Ветрозащитный и брызгозащищенный】 В отличие от традиционных зажигалок, зажигалка устойчива к погодным условиям. Они проходят тщательные испытания и имеют сертификаты ветрозащиты и брызгозащищенности, что идеально подходит для активного отдыха, например, для кемпинга, путешествий, походов и вечеринок.
- 【Повышенная безопасность и надежность】 Безопасный и простой в использовании, защита от перезарядки; защита от короткого замыкания; Нажмите кнопку, и электрическая зажигалка загорится на 8 секунд и интеллектуальное отключение питания для обеспечения безопасности
- 【Отличный подарок】 Уникальный и элегантный дизайн, нежный внешний вид с подарочной упаковкой делают его идеальным выбором для подарка.Зажигалка Ilevar Arc — идеальный творческий и практичный подарок отцу и друзьям
ТОП-10 лучших плазменных зажигалок 2020 года — Bestgamingpro
Топ-10 лучших плазменных зажигалок 2020 года
1. Boncas гибкая дуговая зажигалка USB зажигалка для свечей плазменная зажигалка перезаряжаемая ветрозащитная длинная зажигалка
- Сгибаемая шейка с поворотом на 360 °: эта длинная зажигалка дополнена тройкой.7-дюймовая универсальная длинная шея, которая будет поворачиваться на 360 уровней и изгибаться в многочисленных инструкциях для выполнения совершенно разных функций, защищая ваши руки от ожогов.
- Мобильный и удобный: этот дуговой зажигалка легкий и ветрозащитный. отличный и безопасный для повседневного использования в помещении и на открытом воздухе. может использоваться для освещения высоких свечных банок, топок для горючего, гриля для барбекю, палаток, фейерверков и т. д.
- Экологически приятный: зажигалка для свечей boncas — это дуговая зажигалка, в которой используется плазменная технология, которая устраняет недостаток опасных химических веществ, используемых в обычных зажигалках.слово: не касайтесь дуги руками.
- Дизайн безопасности: замена замка безопасности предназначена для защиты детей от дуги. Безопасность при перезарядке и перегрузке, автоматическое отключение в течение 6,5 с обеспечивает предотвращение чрезмерных температурных травм.
- Прочный и перезаряжаемый: встроенная литий-ионная аккумуляторная батарея, конструкция с возможностью зарядки от USB обеспечивает увеличенный цикл использования. вы можете заплатить за это, используя свой компьютер, автомобиль, энергетическое финансовое учреждение и так далее.
2.lcfun водостойкая зажигалка уличная ветрозащитная зажигалка двойная дуговая зажигалка электрические зажигалки USB аккумуляторная беспламенная плазменная
- • Многоцелевой • ветрозащитный и беспламенный, перезаряжаемый дуговой USB-привод, не только для сигарет, кроме того, это отличная уличная зажигалка, устройство для запуска камина в палатке, устройство для аварийного запуска камина, спасательное снаряжение и многое другое. .
- â ï¸ удобный и прочный â – включает в себя толстый шнур для более высокого ношения во время палаток, альпинизма или других путешествий на открытом воздухе.высококачественные материалы из абс и цинкового сплава, прочные.
- • Водонепроницаемая конструкция • Водонепроницаемая зажигалка, герметичный кожух зажигалки с металлическими кольцами и фиксирующая застежка, водонепроницаемая система IP56, вода не просачивается внутрь, не беспокойтесь о дожде, эта водонепроницаемая зажигалка — ваш самый подходящий вариант, если вы отправляетесь в палатку, путешествуете, занимаетесь тактическим выживанием или альпинизмом, водонепроницаемые дуговые зажигалки.
- • Финансовая и экологическая безопасность • Встроенная перезаряжаемая литиевая батарея, цифровая перезаряжаемая USB-зажигалка, не требуется топлива или бутана, не требуется дополнительной заправки, предотвращает получение наличных, ясно и удобно.около 2 часов полной зарядки. при использовании явно присутствует голос, стиль и легкость в стиле фанк.
- â ï¸ послепродажное обслуживание â – 60 дней гарантии, если вы не любите свою зажигалку или какие-либо вопросы, пожалуйста, свяжитесь с нами, мы готовы помочь, мы собираемся представить идеальное разрешение.
3. Зажигалка, модернизированная RONXS Зажигалка для свечей Зажигалка для кемпинга Зажигалка для гриля Зажигалка USB Плазменная дуга
- ã € безопасность безопасность и дизайн ‘нет пламени, без бутана, без проблем.В отличие от других зажигалок, зажигалка для свечей будет производить гораздо меньше шума. Дизайн безопасного обмена поддерживает вас на расстоянии пальцев от пламени.
- ã € защита от ветра и брызг конструкция с защитой от ветра и брызг защитит электрический импульс от сильного ветра или влажного климата. Зажигалка RONXS — идеальное устройство для освещения в условиях низких температур.
- ã € светодиодный индикатор батареи и зажигалка большей емкости — это модернизированная дуговая зажигалка RONXS, которая может показывать фактическое количество заряда батареи.Когда на стволе загораются 5 светодиодов, он полностью заряжен. USB-прикуриватель можно использовать более 500 за полную стоимость.
- ã € более длинная универсальная шея и легкий размер ‘наша модернизированная более легкая длинная шея имеет удлиненную универсальную шею (10 см или около 4 дюймов). это просто повернутый на 360 градусов диплом для различных потребностей в освещении. легкий размер подходит для повседневного использования в помещении и на открытом воздухе.
- ã € ват вы получите ã € ‘ronxs перезаряжаемую зажигалку, usb-кабель для зарядки поле для награды.слово: наше руководство по эксплуатации печатается сразу же снова на поле.
4. Kywa Водонепроницаемая перезаряжаемая USB-двойная дуговая зажигалка Ветрозащитная плазменная зажигалка для сигарет на открытом воздухе
- Используйте для сигарет, свечей или любых мероприятий на открытом воздухе, напоминающих палатку, море, зажигание камина
- Время зарядки: â 2 часа; материалы: асб + цинковый сплав; размер: 69 × 47,5 × 17,5 мм; ширина полотна: 51 г
- Водонепроницаемый футляр, ветрозащитная двойная дуговая зажигалка, USB-аккумуляторная зажигалка, надежный и простой в использовании
- Без пламени, без газов, без топлива, переработанный, перезаряжаемый, экологически чистый, допуск к полетам, всепогодный
- Пакетная сделка состоит из 1x зажигалки с призовым полем
5.Зажигалка для свечей, электрическая дуговая USB-зажигалка TROPRO с индикатором мощности, аккумуляторная беспламенная портативная
- [портативный и удобный] — конструкция с защитой от ветра и брызг предотвращает выброс электрического импульса сильным ветром. легкие, высококачественные принадлежности из нержавеющей стали, сверхпрочная конструкция, отлично подходят для палаток, барбекю, альпинизма, мероприятий в помещении и на открытом воздухе.
- [без вредного бутана] — каминная зажигалка Tropro для свечей использует плазменную технологию для замены этого опасного химического вещества бутана, что делает его более безопасным и безопасным.Четыре энергосистемы подсказки для того, чтобы не бояться упустить стоимость.
- [100% безопасность] Эта аккумуляторная зажигалка для свечей обеспечивает высокую безопасность. просто нужно открыть замок безопасности на задней стороне зажигалки и нажать кнопку. для безопасности клиента искра зажигания автоматически гаснет через 7 секунд за каждое зажигание. с сертификатами fcc / ce / rohs, пожалуйста, покупайте с уверенностью!
- [зарядка кабеля типа c] — наша зажигалка для свечей USB оснащена кабелем высшего качества типа c и высококачественным вязанным проводом, который быстрее и дешевле.Его можно использовать для зарядки интерфейса type-c.
- [вы получите] — 1 дуговую зажигалку Tropro Professional, 1 превосходный кабель для зарядки с разъемом typc-c на usb, 1 гарантийный талон и 1 год безусловной гарантии. Если мы можем чем-то помочь, свяжитесь с нашей службой поддержки по электронной почте: [электронная почта защищена], мы ответим вам в течение 24 часов.
6. Ветрозащитная дуговая зажигалка X плазменные зажигалки аккумуляторная USB зажигалка электрическая зажигалка для сигарет
- 🠔¥ варианты — ветрозащитный и беспламенный дуговой зажигалка с защитой крышки, защитой от перезарядки, быстрой защитой от замыкания и компьютеризированной защитой от отключения энергии на 10 секунд.
- 🠔¥ компактный корпус â – 1,1 * Ноль. Четыре * 2,9 дюйма, маленький и легкий, чрезвычайно транспортабельный, внимательно изучите размеры, он может быть меньше, чем вы ожидали. 1. Ноль-1,5 часа полной зарядки, Нежные сигареты 40-50 за стоимость.
- 🠔¥ финансовая и энергосберегающая — встроенная литиевая батарея, многоразовая, не беспокойтесь о работе на бензине, не нужно заправляться, экономьте свои деньги и экономьте энергию, новая эра дуговых зажигалок .
- 🠔¥ модный дизайн — закругленные углы, корпус из цинкового сплава, индикаторы заряда батареи загорятся, если вы потратите или откроете защитную крышку.при использовании явно присутствует голос, стиль и легкость в стиле фанк.
- 🠔¥ бонусное вознаграждение включено â – ¶ с элегантным полем вознаграждения, дополнительно поставляется с 60-дневной гарантией без проблем. Если есть какие-либо недостатки, пожалуйста, свяжитесь с нами, группа поддержки клиентов lcfun предоставит отличное решение.
7. lcfun Dual Arc плазменная зажигалка USB перезаряжаемая ветрозащитная беспламенная электрическая зажигалка без бутана
- ”¥ зажигание и качество двойная дуговая зажигалка выше, чем атомная зажигалка, на 5 раз быстрее, чем однодуговая цифровая зажигалка; используйте высококачественный цинковый сплав и керамическую пластину, устойчивую к высоким температурам, надежную и прочную.
- ”¥ sample & packâ – благородный дракон, модная зажигалка, элегантное поле для наград, отличная награда на день рождения, друзей, домочадцев, любовников, предпринимателей и других.
- 🠔¥ новый дизайн — конструкция штанги с наклоном 75 ° — более крутая, более равномерная, более ранняя зажигалка ограничена тонкой шейкой.
- 🠔¥ ветрозащитный и беспламенный без пламени, хорошо работает на ветру, если дуга многократно нагревается, дуга гаснет примерно на 7 секунд, особенно безопасна, удобна для палаток, альпинизма и путешествий.
- 🠔¥ послепродажное обслуживание гарантия в течение 60 дней, если более 60 дней, если вы не любите свою зажигалку или какие-либо вопросы, пожалуйста, свяжитесь с нами, мы готовы помочь.
8. Двойная дуговая плазменная зажигалка USB перезаряжаемая ветрозащитная беспламенная электрическая зажигалка без бутана
- ”¥ Зажигание и качество Зажигалка с двойной дугой, в 5 раз быстрее, чем цифровая зажигалка с одной дугой; используйте высококачественный цинковый сплав и керамическую пластину, устойчивую к высоким температурам, надежную и прочную.
- ”¥ крутой подарок и упаковка ¶ при использовании очевиден настоящий голос, очень круто, поле награды, отличная награда на день рождения, друзей, домочадцев, любовников, предприятий и других.
- 🠔¥ новый дизайн — конструкция штанги с наклоном 75 ° — более крутая, более равномерная, более ранняя зажигалка ограничена тонкой шейкой.
- 🠔¥ ветрозащитный и беспламенный ¶ без пламени, устойчивый к климату, эффективно работает как в сырой, так и в ветреный день, подходит для палаток, путешествий и альпинизма.
- 🠔¥ послепродажное обслуживание гарантия в течение 60 дней, если более 60 дней, если вы не любите свою зажигалку или какие-либо вопросы, пожалуйста, свяжитесь с нами, мы готовы помочь.
9. Kivors Dual Arc плазменная зажигалка USB перезаряжаемая ветрозащитная беспламенная электрическая китайская без бутана
- Простота использования, загорается при нажатии кнопки формата изображения; характеристика безопасности, не плавно поднимается при закрытой крышке
- Ветрозащитный, беспламенный, безопасный, не требует топлива и жидкости, энергосберегающий, будет сохранен на рейсе
- Двойная электрическая дуга — превосходная огневая мощь для зажигания, в 5 раз более эффективная, чем одинарные зажигалки.
- USB перезаряжаемый, любое выходное напряжение постоянного тока 5 В, на выходе присутствует 1. ноль a. после полной зарядки в течение 2 часов можно снять три-четыре пачки сигарет
- Предназначен для нежных сигарет, свечей, сухих листьев и т. Д. это важное устройство для внутреннего и наружного освещения. Требуется
10. Зажигалка — электрическая зажигалка Ветрозащитная плазменная зажигалка Double ARC USB аккумуляторная с аккумулятором
- Высокоэффективная двойная дуга: ветрозащитный двойной луч плазменной дуги; зажигание нажатием кнопки, дает новый источник тепла, который может полностью обеспечить быстрое и простое зажигание даже в самых ветреных условиях.
- Индикатор заряда батареи: улучшенные четыре синих светодиода позволяют понять способность стоять.полная зарядка за 1,5 часа через прилагаемый кабель micro usb (5v / 1a)
- Дизайн премиум-класса: сверхтонкая конструкция с гладким концом, направленными вверх электродами и широко открытой крышкой, придает традиционный вид с современными нотками, будучи сверхкомпактной, портативной и легкой.
- Батарея более высокого качества: встроенная аккумуляторная батарея 300 мАч, длится более 600 полных затрат; одна стоимость может использоваться столько, сколько дней, полагаясь на совершенно разные варианты использования
- Безопасность и надежность: функция безопасности [выключение] через 7 секунд обеспечивает превосходную безопасность для вас и ваших устройств.возьмите его с собой куда угодно, когда захотите
Технический специалист . Гуру социальных сетей . Злой решатель проблем. Всего писатель. Интернет-энтузиаст . Интернет-ботаник . Страстный геймер. Твиттер-бафф.
.

, Ltd.



