Что такое фазированная антенная решетка и как она работает. Какие преимущества дает использование ФАР в современных системах связи и радиолокации. Каковы перспективы развития технологии ФАР в будущем.
Что такое фазированная антенная решетка и принцип ее работы
Фазированная антенная решетка (ФАР) представляет собой группу излучающих элементов, в которой относительные фазы сигналов отдельных элементов изменяются по определенному закону. Это позволяет формировать узконаправленную диаграмму направленности и управлять ею в пространстве без механического перемещения антенны.
Принцип работы ФАР основан на явлении интерференции электромагнитных волн. За счет изменения фаз сигналов отдельных излучателей происходит сложение их полей в определенном направлении и взаимная компенсация в других направлениях. Это обеспечивает концентрацию энергии в нужном направлении.
Основные преимущества фазированных антенных решеток
Использование ФАР дает ряд важных преимуществ по сравнению с обычными антеннами:

- Возможность быстрого электронного сканирования пространства без механического поворота антенны
- Формирование узкой диаграммы направленности и, как следствие, высокая направленность и дальность действия
- Адаптивное изменение формы диаграммы направленности
- Возможность одновременного формирования нескольких независимых лучей
- Повышенная помехозащищенность и скрытность работы
Области применения фазированных антенных решеток
Благодаря своим уникальным возможностям ФАР нашли широкое применение в различных сферах:
- Радиолокация — в составе современных радаров и систем ПВО
- Спутниковая и мобильная связь — для формирования узких лучей
- Радиоастрономия — в крупных радиотелескопах
- Системы радиоэлектронной борьбы
- Метеорологические радары
- Системы посадки самолетов
Конструкция и типы фазированных антенных решеток
По конструктивному исполнению ФАР можно разделить на следующие основные типы:
- Линейные — излучатели расположены вдоль одной линии
- Плоские — излучатели размещены на плоской поверхности
- Конформные — повторяют форму поверхности объекта
- Объемные — трехмерное расположение излучателей
В качестве излучающих элементов могут использоваться различные типы антенн — вибраторы, волноводные излучатели, микрополосковые антенны и др.

Методы управления диаграммой направленности ФАР
Существует несколько основных способов управления лучом ФАР:
- Фазовое управление — изменение фаз сигналов отдельных излучателей
- Частотное управление — использование частотной дисперсии фазовращателей
- Временное управление — задержка сигналов во времени
- Пространственное управление — коммутация излучателей
Наиболее распространенным является фазовое управление с помощью управляемых фазовращателей в каждом канале ФАР.
Перспективные направления развития технологии ФАР
Основные тенденции совершенствования ФАР связаны со следующими направлениями:
- Увеличение количества излучающих элементов для повышения направленности
- Расширение рабочего диапазона частот
- Уменьшение массогабаритных характеристик
- Снижение стоимости за счет применения технологий массового производства
- Повышение энергоэффективности
- Интеграция ФАР с системами цифровой обработки сигналов
Применение ФАР в системах связи пятого поколения (5G)
Технология ФАР играет ключевую роль в развитии сетей мобильной связи нового поколения 5G. Использование активных фазированных решеток в базовых станциях и абонентских устройствах 5G позволяет реализовать следующие преимущества:

- Формирование узких лучей для повышения энергетической эффективности
- Быстрое электронное сканирование для отслеживания подвижных объектов
- Одновременное обслуживание множества абонентов в разных направлениях
- Повышение пропускной способности и емкости сети
- Снижение уровня помех
Проблемы и ограничения в применении ФАР
При всех достоинствах ФАР их широкое внедрение сталкивается с рядом трудностей:
- Высокая стоимость из-за большого количества активных элементов
- Сложность разработки и настройки
- Значительное энергопотребление активных ФАР
- Проблемы отвода тепла в компактных конструкциях
- Ограничения по массогабаритным характеристикам для мобильных применений
Преодоление этих ограничений является важной задачей для дальнейшего развития технологии ФАР.
Заключение
Фазированные антенные решетки являются перспективной технологией, которая находит все более широкое применение в современных системах связи и радиолокации. Уникальные возможности ФАР по формированию управляемой диаграммы направленности обеспечивают значительное повышение эффективности радиотехнических систем. Дальнейшее развитие технологии ФАР связано с увеличением количества элементов, расширением частотного диапазона и снижением стоимости, что позволит реализовать новые сферы их применения.

Фазированные антенные решётки
Фазированной антенной решёткой (ФАР) называется разновидность антенн, конструктивно выполненных в виде группы излучателей, в каждом из которых относительная фаза сигнала изменяется комплексно по определенному алгоритму, что позволяет усилить эффективное излучение антенной решетки строго в одном определенном направлении и подавить во всех остальных.
Приобрели новый смартфон, а производители снабдили его небольшим количеством полезного софта и игр? Пора прокачать свой гаджет! Скачать программы для htc теперь просто и легко! Из большого разнообразия программ и игр можно подобрать те, которые будут наиболее интересны и полезны Вам!
Принцип фазирования позволяет радарам, в которых применяется ФАР:
- сформировать нужную диаграмму направленности (например, остронаправленную) независимо от конструктивного расположения излучателей;
- управлять изменением направления луча, осуществляя таким образом быстрое (а иногда — безынерционное) сканирование даже для неподвижной антенны;
- в широких пределах варьировать форму диаграммы направленности путем изменения ширины луча, интенсивности уровня боковых лепестков.

Благодаря этим свойствам ФАР, а также возможности применения для управления ими современных средств автоматики и вычислительной техники, этот принцип построения радара считается весьма перспективным и широко используется в радиолокации, радиосвязи, радионавигации, радиоастрономии и так далее. ФАР с большим числом управляемых элементов очень часто входят в состав комплектации различного рода космических, корабельных, авиационных и прочих стационарных и подвижных радиоустройств.
Например, РЛС «Жук-А», снабженная активной ФАР, способна обнаружить до 60 целей, находящихся на расстоянии до 200 километров от станции обнаружения. Аналогичные конструкции устанавливаются на современных истребителях и стратегических бомбардировщиках, находящихся на вооружении развитых стран.
Направленная антенна wifi дальность 10 км. Wi-Fi антенна дальнего действия
Авг 04 2016
В РФ любая сеть, работающая за пределами здания или производственной территории либо превышающая по мощности сигнала определенный порог, должна регистрироваться.
Как узаконить беспроводную сеть
В законе есть также длинный ряд исключений, касающийся высоты расположения устройств, их назначения.
Целый ряд препонов и двояких толкований объясняют сложившееся у разработчиков аппаратуры мнение, что Wi-Fi антенна дальнего действия должна быть пассивной.
Это безусловно уменьшает затраты энергии и делает электромагнитный фон района более благоприятным.
А как заставить пассивный излучатель усиливать сигнал, известно давно — в диаграмме направленности создаются одно или несколько резко выделенных направлений, по которым будет распространяться основная часть энергии.
Это чем-то похоже на узкое русло реки. Пока берега далеко друг от друга, — и течение спокойное. Но лишь стоит загнать поток в узкий рукав, как вода начинает бурлить, течь быстрее, скорость движения повышается. (См. также: Направленная антенна Wi-Fi своими руками)
Wi-Fi антенна дальнего действия работает по схожему принципу, препровождая весь запас мощности в нужное русло.
Коэффициент усиления, выраженный в изотропных децибелах (dBi), как раз и характеризует это свойство излучателя — увеличивать плотность энергии в отдельных направлениях.
Сразу же появляется и ограничение — территория покрытия резко сужается. Зато достоинство очевидно — полная ликвидность в глазах закона, поскольку под ограничения обычно попадает полная излучаемая мощность.
Те, кому нужен еще больший уровень сигнала, докупают усилители и юридически узаконивают свою покупку в отдельном порядке.
Не стоит забывать и про то, что на некоторые передатчики накладываются ограничения по ЭИИМ.
Это такой параметр, который из вполне безобидной точки доступа может сделать объект, подлежащий обязательному лицензированию.
Дело в том, что он представляет собой произведение полной подведенной к антенне мощности на ее коэффициент усиления. В чем суть?
Например, при некой мощности, излучаемой всенаправленной антенной, лицензия не нужна.
При замене на узконаправленную модель может возникнуть ситуация, когда ЭИИМ выйдет за пределы дозволенного.
Этот вопрос обсуждался столь подробно, поскольку ни одна организация уже была оштрафована за несоблюдение элементарных требований, предъявляемых в беспроводным сетям. Наружная антенна Wi-Fi способна стать настоящим камнем преткновения при непродуманном использовании.
Принципы работы антенн дальнего действия
Реализация суженных диаграмм направленности идет двумя путями:
- Применение рефлекторов специальной формы.
- Создание фазированных решеток.
Антенны с рефлектором
Научные термины в переводе на понятный большинству язык не выглядят пугающими. Рефлектор — не что иное, как отражатель.
Всем известные спутниковые тарелки используют для этих целей часть поверхности параболоида с излучателем, помещенным в фокусе.
Используется известный закон оптики: все лучи, падающие перпендикулярно на линзу, собираются в одной точке. Рефлектор параболической антенны является линзой для электромагнитных волн.
Для инженера дальнейший ход мысли очевиден, но большинство людей, обычно в этом случае задают любопытный вопрос: если лучи и падают параллельно, как это связано с передачей и диаграммой направленности?
Свойства антенн абсолютно идентичны для обоих направлений движения электромагнитных волн.
Излученная энергия будет распространяться параллельными лучами, а это и есть сужение диаграммы направленности. Весь поток уйдет по направлению, перпендикулярному раскрыву рефлектора, при этом дальность действия Wi-Fi антенны увеличивается.
Для понимания указанного момента полезно представить прожектор, бьющий тонко, на на большое расстояние.
Антенные решетки
До сих пор не создано стройной теории фазированных антенных решеток, но практические наработки, в том числе и отечественных институтов, позволяют добиваться отличных результатов способами, основанными на эмпирических изысканиях.
Ученые берут и используют известную тыковую методику.
На самом деле все же это выглядит более обоснованно с теоретической точки зрения, но суть именно такова.
Доказано, что расположенные в определенном порядке излучатели, имеют суммарную диаграмму направленности более узкую, нежели по отдельности.
Принято — но имеются и исключения — помещать их ровным рядами, как в зрительном зале сиденья. Сужение происходит в плоскости, перпендикулярной линии расположения излучателей.
Дальнейший ход конструкторской мысли должен быть понятен. Например, четыре пластины — их еще называют патчи — по углам квадрата сужают диаграмму направленности в вертикальном и горизонтальном направлениях. Именно по этому принципу работают антенны Wi-Fi TP Link TL-ANT2414A.
Комбинированные варианты
Продуманное сочетание рефлектора и ровных рядов излучателей дает отличные результаты. Такова известная двухконтурная конструкция для диапазона ДМВ на квадратных излучателях, расположенных симметрично в виде восьмерки.
В силу равнозначности двух перпендикулярных плоскости расположения излучателей направлений, такая антенна излучает (и принимает) сигнал в обе стороны.
Дефект не только уменьшает коэффициент усиления, но и способствует проявлению эффекта многолучевости, который вносит дополнительные накладные расходы в процесс связи. Рефлектор исправляет проблему.
Примеры практической реализации антенн с большой дальностью действия
Антенны Wi-Fi с параболическим рефлектором
Наружная антенна Wi-Fi TL-ANT5830B снабжена рефлектором в виде усеченного параболоида. Конструкторов интересовало сужение диаграммы направленности в горизонтальной плоскости (по азимуту).
Тогда как по вертикали (угол места) получается большая ширина основного лепестка, — то есть генерального направления распространения энергии.
Указанные особенности реализованы рефлектором, ширина которого в горизонтальной плоскости превышает вертикальный габарит — высоту. Такая форма отражателя позволяет эффективно сжимать поток по азимуту, давая по углу места больший простор для расположения приемников абонентов.
Такие наружные антенны Wi-Fi идеально подходят для двусторонней связи и малопригодны для широкого вещания.
Особое внимание нужно уделить значению ЭИИМ, так как коэффициент усиления изделия составляет 30 дБи.
Прием и передача ведутся на частоте 5 ГГц, а отражатель выполнен сетчатым для снижения массы и ветровой нагрузки.
Попутно стоит упомянуть еще две особенности антенн с узкой диаграммой направленности:
- В устойчивость связи вносит свои коррективы ветер. Несмотря на значительное удаление абонентов и, как следствие, малый угловой размер таковых, порывы воздушных масс, раскачивая изделие, могут привести к временной потере сигнала.
- Настроить точное положение тарелки достаточно сложно. Узкий луч должен точно попадать на абонента. К тому же требуется прямая видимость для организации канала.
Зато дальность действия Wi-Fi антенны с параболическим рефлектором максимальная из возможных.
Фазированные решетки Wi-Fi
Упомянутая модель TL-ANT2414A достигает сужения диаграммы направленности двумя горизонтальными рядами патчей из четырех штук каждый.
Расположенные синфазно излучатели действуют, как единое целое, принимая и посылая сигнал.
Wi-Fi роутер с внешней антенной TL-ANT2414A сузит поле вещания до области, находящейся в пределах переднего лепестка диаграммы направленности. Это может быть полезно при разворачивании сети на стадионе вытянутой формы или территории фабрики.
Дальность действия такой конструкции будет сильно уступать параболическим моделям, но процесс установки настройки сравнительно прост, кроме того, допустимо вещать группе абонентов, тогда как тарелки образуют канал с двумя концами.
Уровень мощности антенны Wi-Fi
Каждое электронное изделие рассчитывается на предельно допустимый уровень мощности. Превышение разрешенного производителем порога выводит прибор из строя гораздо быстрее.
Такой режим функционирования недопустим. Мощная Wi-Fi антенна излучает десятки Ватт. Для сравнения порог регистрации устройств этого диапазона находится в районе 200 мВт (пятая часть одного Ватта).
Обычный адаптер работает с допустимыми (без регистрации) уровнями сигнала. Некоторым потребителям требуется обеспечить дополнительные мощностные требования.
В этом случае необходимо приобрести специальный усилитель. Стоимость такого прибора составляет 500$ и выше в зависимости от конкретной модели.
Дальность действия системы повышается, прием становится увереннее. На все оборудовании необходимо получить лицензию. Экспертизами занимается ГРЧЦ, куда необходимо подать заявку на проведение исследований.
В домашних условиях
Многие ноутбуки, преимущественно старенькие модели, не поддерживают беспроводные сети.
Бывает так, что Wi-Fi антенна внутренняя не способна уловить сигнал в силу своих слабых характеристик.
Специально для этого случая выпускаются адаптеры на шину PCMCIA. Отличительной особенностью изделий является возможность подключить выносную антенну. Это резко улучшает качество приема.
Почему данный вариант хорош в основном для помещений? Увеличение длины провода резко снижает эффективность системы.
Вот почему антенна для Wi-Fi адаптера часто выглядит его придатком. Это такой торчащий из платы стержень. Увеличение длины кабеля резко снижает чувствительность.
Тем не менее, сидя под окном вполне можно разместить антенну в форточке. Это повысит дальность приема.
В этом видеоуроке показано, на каких устройствах можно передать wi-fi на многие километры. Такая необходимость возникает, когда нужно пользоваться своим Интернетом на даче, на работе, на учебе, хоть где угодно в сверх дальних, хотя и в определенных границах. В данном случае тест показал 20 км. На видео будет проверка, на каком расстоянии и скорости можно будет передавать интернет сигнал с помощью указанных устройств. Все необходимое оборудование можно купить в этом китайском магазине . Сэкономьте в нём, установив плагин на Гугл Хром: 7% с покупок .
Выбор wi-fi точку доступа
Сначала выберем подходящую wi-fi точку доступа. Наиболее перспективным является оборудование фирмы Ubiquiti. Стоимость приблизительно 100 долларов для нового оборудования, в два раза меньше для бывшего в употреблении.
Это nanostation logo m5, nanobridge M5, airgrid M5, nanobeam m19. Эти точки доступа отличаются высокой надежностью, за что их полюбили провайдеры связи. В отличие от другого профессионального оборудования их легко настроить. Имеется широкий выбор для разных дистанций. Кстати, можно значительно увеличить дальность nanostation, если прикрутить его к спутниковой тарелке. Из недостатков можно отметить относительно высокую стоимость.
Из более дешевых вариантов оборудование tp-link. К примеру в этой наружной точке доступа встроена достаточно мощная антенна, по дальности она даже сильнее, чем nanostation. Но у tp-link менее надежное программное обеспечение. Поэтому раз в месяц оборудование может зависать. Чтобы восстановить Интернет будет требоваться перезагрузка. Именно поэтому их не любят провайдеры. Но для личного интернета они вполне подойдут.
Есть еще более дешевые варианты от китайских производителей. Но они не только менее надежные, но и имеют более слабые антенны. При желании можно сделать самодельную вай фай антенну.
На канале есть подробная видеоинструкция, как это сделать.
Как подключить точку доступа wi-fi
Теперь давайте разберемся, как правильно подключить точку доступа. В комплекте к wi-fi точке доступа идет блок питания, но кабель питания тянуть к точке доступа не нужно, так как здесь используется технология POE. Питающее напряжение передается по тому же кабелю, по которому передается интернет. Поэтому, для подключения точки доступа нужно 8 жильная витая пара. Один конец подключается непосредственно к точке доступа, а второй к блоку питания POE. Второе свободное гнездо на блоке питания соединяется любой витой парой, хоть 8 жильный, хоть 4 жильной, с компьютером для дальнейшей настройки.
Как настроить nanostation для сверхдальней работы
Подключаем его в сеть, и после того как загорелись светодиоды, рекомендуем сбросить его до заводских настроек, зажав кнопку Reset на 10 секунд. Теперь сбиваем в настройках сетевой карты 192.168.1.22. Открываю любой браузер и в адресной строке прописываем: 192.
168.1.20.
Нажимаем Enter и попадаем на вход настройки nanostation. В поле логин и пароль прописываем ubnt. В графе страна выбираем compliance test. Это позволит использовать альтернативные каналы и максимальную мощность. Во вкладке Wireless можно выбрать режим, в котором будет работать nanostation. В первом режиме мы сможем подключаться к другим wi-fi сетям. Второй режима — так называемый режим точки доступа, то есть можно раздавать wi-fi. как обычным роутером. Вводим название нашей wi-fi сети, пароль. Ширину канала выбираем 20 мегагерц и прописываем частотный канал, на котором будет раздаваться интернет.
Рекомендуем заранее просканировать диапазон и выбрать WiFi канал, чтобы не мешать провайдерам, работающим в вашей местности. В некоторых местностях требуется разрешение на использование диапазона 5 гигагерц. В некоторых районах требуется разрешение на использование внешних вайфай антенна. Во вкладке Network выбираем режим. Если оставить bridge, ваша сеть будет продлеваться по беспроводному каналу.
Если выбрать SOHO Router, то наностейшен будет работать как домашний роутер, и к нему можно будет подключиться с помощью телефонов и ноутбуков. Применяем изменения.
Далее смотрите инструкцию по установке и креплению и другие моменты по установке сверх дальнего вай фая с 3 минуты.
Попроще схема на 2 км со всеми подробностями.
В РФ электромагнитная сеть, работающая за пределами здания, производственной территории, превышающая мощностью сигнала фиксированный порог, должна регистрироваться. Закон содержит длинный ряд исключений, касающийся высоты расположения устройств, назначения. Ряд препонов, двояких толкований объясняют сложившееся у разработчиков аппаратуры мнение: Wi-Fi антенна дальнего действия должна быть пассивной. Безусловно уменьшает затраты энергии, делает электромагнитный фон района более благоприятным.
Как заставить пассивный излучатель усиливать сигнал, известно давно — диаграмма направленности снабжается одним-двумя резко выделенными направлениями: будет распространяться основная часть энергии ограниченное.
Напоминает узкое русло реки. Пока берега далеко друг от друга, — течение спокойное. Стоит зажать поток узким рукавом, вода бурлит, течет быстрее, скорость движения повышается.
Wi-Fi антенна дальнего действия руководствуется схожим принципом, препровождая запас мощности в нужное русло. Коэффициент усиления, выраженный изотропными децибелами (dBi), характеризует свойство излучателя — увеличивать плотность энергии отдельных направлений.
Сразу появляется ограничение — территория покрытия резко сужается. Достоинство очевидно — полная ликвидность глазами закона, поскольку под ограничения подпадает полная излучаемая мощность.
Кому нужен больший уровень сигнала, докупают усилители, юридически узаконивают покупку фиксированным порядком. Избегайте забывать: некоторые передатчики обложены ограничениями ЭИИМ. Параметр, из вполне безобидной точки доступа может сделать объект, подлежащий обязательному лицензированию. Представлен произведением полной подведенной антенне мощности на коэффициент усиления.
Например, при некой мощности, излучаемой всенаправленной антенной, лицензия не нужна. При замене узконаправленной моделью может возникнуть ситуация, когда ЭИИМ выйдет за пределы дозволенного. Вероятность тем выше, чем больше коэффициент усиления изделия.
Вопрос обсуждался подробно, поскольку не одна организация оштрафована за несоблюдение элементарных требований, предъявляемых беспроводным сетям. Наружная антенна Wi-Fi способна стать настоящим камнем преткновения непродуманным использованием.
Принципы действия антенн дальнего действия
Реализация суженных диаграмм направленности движется двумя путями:
- Применение рефлекторов специальной формы.
- Создание фазированных решеток.
Антенны рефлекторные
Научные термины в переводе на понятный большинству язык не выглядят пугающими. Рефлектор — отражатель. Спутниковые тарелки используют часть поверхности параболоида с излучателем, помещенным в фокусе. Используется школьный закон оптики: лучи, падающие перпендикулярно на линзу, собираются одной точкой.
Рефлектор параболической антенны выступает линзой электромагнитных волн.
Для инженера дальнейший ход мысли очевиден, большинство простолюдинов задают любопытный вопрос: если лучи падают параллельно, как явление связано с передачей, диаграммой направленности?
Свойства антенн идентичны обоих направлений движения электромагнитных волн. Излученная энергия будет распространяться параллельными лучами, вызывая сужение диаграммы направленности. Поток уйдет по направлению, перпендикулярному раскрыву рефлектора, дальность действия Wi-Fi антенны увеличивается. Для понимания указанного момента полезно представить прожектор, бьющий тонко на большое расстояние.
Антенные решетки
Не создано стройной теории фазированных антенных решеток, практические наработки, включая усилия отечественных институтов, позволят добиваться отличных результатов способами, основанными на эмпирических изысканиях. Ученые используют известную тыковую методику. Выглядит более обоснованно с теоретической точки зрения, суть именно такова.
Доказано: расположенные в определенном порядке излучатели, формируют суммарную диаграмму направленности более узкую, нежели по отдельности. Принято — имеются исключения — помещать ровным рядами, подобно сиденьям зрительного зала. Сужение происходит в плоскости, перпендикулярной линии расположения излучателей.
Дальнейший ход конструкторской мысли понятен. Например, четыре пластины — называемые патчами — по углам квадрата сужают диаграмму направленности в вертикальном и горизонтальном направлениях. Принцип, использованный антенной Wi-Fi TP Link TL-ANT2414A.
Комбинированные варианты
Продуманное сочетание рефлектора, ровных рядов излучателей дает отличные результаты. Такова двухконтурная конструкция диапазона ДМВ на квадратных излучателях, расположенных симметрично восьмеркой.
В силу равнозначности двух перпендикулярных плоскости расположения излучателей направлений антенна излучает (принимает) сигнал в обе стороны. Дефект уменьшает коэффициент усиления, способствуя проявлению эффекта многолучевости, вносящего дополнительные накладные расходы в процесс связи.
Рефлектор исправляет проблему.
Примеры практической реализации антенн с большой дальностью действия
Антенны Wi-Fi с параболическим рефлектором
Наружная антенна Wi-Fi TL-ANT5830B снабжена рефлектором в виде усеченного параболоида. Конструкторов интересовало сужение диаграммы направленности в горизонтальной плоскости (азимут). По вертикали (угол места) получается большая ширина основного лепестка, — генерального направления распространения энергии.
Указанные особенности реализованы рефлектором, ширина которого в горизонтальной плоскости превышает вертикальный габарит — высоту. Выбранная форма отражателя позволит эффективно сжимать поток по азимуту, давая углу места больший простор расположения приемников абонентов.
Такие наружные антенны Wi-Fi подходят двусторонней связи, малопригодны широкому вещанию. Особое внимание уделим значению ЭИИМ, коэффициент усиления изделия составляет 30 дБи.
Прием-передача ведутся на частоте 5 ГГц, отражатель выполнен сетчатым, снижая массу, ветровую нагрузку.
Попутно стоит упомянуть две особенности антенн с узкой диаграммой направленности:
- В устойчивость связи вносит коррективы ветер. Несмотря на значительное удаление абонентов, малый угловой размер, порывы воздушных масс, раскачивая изделие, способны вызвать временную потерю сигнала.
- Настроить точное положение тарелки сложно. Узкий луч должен попадать на абонента. Требуется вдобавок прямая видимость для организации канала.
Дальность действия Wi-Fi антенны с параболическим рефлектором максимально возможная.
Фазированные решетки Wi-Fi
Упомянутая модель TL-ANT2414A достигает сужения диаграммы направленности двумя горизонтальными рядами патчей из четырех штук каждый. Расположенные синфазно излучатели действуют единым целым, принимая и посылая сигнал.
Wi-Fi роутер с внешней антенной TL-ANT2414A сузит поле вещания до области, находящейся в пределах переднего лепестка диаграммы направленности. Полезно при разворачивании сети на стадионе вытянутой формы, территории фабрики.
Дальность действия конструкции будет сильно уступать параболическим моделям, процесс установки, настройки сравнительно прост, допустимо вещать группе абонентов, тарелки образуют канал с двумя концами.
Уровень мощности антенны Wi-Fi
Каждое электронное изделие рассчитано пропустить допустимый уровень мощности. Превышение разрешенного производителем порога выводит прибор из строя гораздо быстрее. Режим функционирования недопустим. Мощная Wi-Fi антенна излучает десятки Ватт. Для сравнения порог регистрации устройств диапазона находится в области 200 мВт (пятая часть одного Ватта).
Обычный адаптер работает с допустимыми (без регистрации) уровнями сигнала. Некоторым потребителям требуется обеспечить дополнительные мощностные требования. Необходимо приобрести специальный усилитель. Стоимость прибора составляет 500$ и выше в зависимости от конкретной модели.
Дальность действия системы повышается, прием становится увереннее. На оборудование необходимо получить лицензию.
Экспертизами занимается ГРЧЦ, куда подают заявку на проведение исследований.
Домашних условия
Ноутбуки, преимущественно старенькие модели, не поддерживают беспроводные сети. Временами Wi-Fi-антенна внутренняя неспособна уловить сигнал в силу слабых характеристик.
Специально выпускаются адаптеры шины PCMCIA. Отличительной особенностью изделий назовем возможность подключить выносную антенну. Резко улучшает качество приема.
Почему вариант хорош для помещений? Увеличение длины провода резко снижает эффективность. Антенна для Wi-Fi-адаптера часто выглядит придатком. Торчащий из платы стержень. Увеличение длины кабеля резко снижает чувствительность.
Сидя под окном, вполне можно разместить антенну в форточке, повысив дальность приема.
Содействие развитию мобильных сетей 5G
Представьте себе идеальную беспроводную сеть. Данные загружаются со сверхбыстрой скоростью. В любой точке планеты со своего устройства можно подключиться к сети и рассчитывать на хороший сигнал и безупречную работу. Идеальная беспроводная сеть была бы надёжной — никаких сброшенных вызовов, ошибок при отправке сообщений и ожиданий загрузки веб-страниц. Существует ряд определённых радиочастотных проектов, разработка которых позволила бы ускорить развитие данной технологии и воплотить её в реальность.
Идеальные беспроводные сети: 5G и выше
Ожидается, что 5G-сети будут широко использоваться к 2020 году, обогнав сети 4G LTE, 4G, 3G и более ранние. Предполагается, что новые беспроводные сети будут появляться каждые 10 лет. Таким образом, в ближайшие 4 года необходимо продолжать разработку технологии, чтобы вскоре сети 5G стали доступны для потребителей. Беспроводные сети постоянно улучшаются и совершенствуются относительно предыдущего поколения.
Скорее всего у вас есть смартфон, которым вы пользуетесь в течение дня. Согласно последним данным исследовательского центра Pew Research Center, 64% американцев владеют смартфоном и две трети из них используют свой гаджет для выхода в интернет. На самом деле, молодые пользователи используют смартфоны в основном для обмена сообщениями и доступа к интернету, а не для телефонных звонков. В опросе, опубликованном в апреле 2015 года, 97% молодых людей в возрасте от 18 до 29 лет сказали, что используют свои телефоны для выхода в интернет, в то время как только 93% — для звонков. Эти результаты показывают основное направление в использовании мобильных телефонов — передача больших данных, обмен сообщениями, использование видеозвонков.
Лидеры индустрии мобильной связи уже составили перечень требований к 5G-сетям нового поколения. Как упоминалось выше, для загрузки и передачи больших объёмов информации требуется очень быстрая беспроводная сеть. Если вы думаете, что ваша текущая скорость загрузки и так очень быстрая, то представьте, что при использовании 5G-сетей она будет почти мгновенной. Из-за постоянного роста данных, сети 5G должны также минимизировать трафик для регулирования нагрузки на сеть. Идеальная беспроводная сеть должна обеспечивать качественный приём сигнала в любой точке планеты. Это значит, что у вас всегда будет отличный сигнал связи, вне зависимости от того, где вы находитесь, будь то сельская местность, пустыня или другой удалённый район (в отличие от нынешних сетей 4G и 4G LTE, которые обеспечивают высокие скорости только в крупных городах и их окресностях).
Совместимые с 5G-сетями устройства должны быть дешёвыми и потреблять меньше энергии, чтобы обеспечить более длительный срок службы батареи. Способ зарядки телефонов также может измениться. Некоторые современные телефоны уже имеют функцию беспроводной зарядки. В зарядное устройство и сам телефон встроена катушка индуктивности, посредством которой и происходит заряд аккумулятора. Также исследуются и более продвинутые способы и, в частности, беспроводная передача энергии на большие расстояния. В этом случае, зарядное устройство передаёт слабые сигналы на определённом расстоянии. В скором времени вы сможете заряжать телефон, пока он лежит у вас в кармане. Такие возможности могут быть интегрированы при внедрении сетей 5G.
Беспроводная зарядная станция, передающая энергию к мобильным устройствам.
5G-сети должны упростить связь между устройствами, подключенными к Интернету вещей (Internet of Things — IoT). По прогнозам, уже к 2020 году в мире будет порядка 25 млрд устройств, использующих 5G-сети. Последние должны быть в состоянии обрабатывать огромный трафик данных от подключённых к сети устройств и огромного количества пользователей телефонов по всему миру. Для практического использования новые сети должны обладать высокой скоростью, чтобы быстро анализировать данные, собранные с устройств, подключённых к IoT.
Факторы, которые необходимо учитывать проектировщикам сетей 5G
Когда инженер приступает к разработке и проектированию новых 5G-сетей, перед ним стоит множество задач, условий и ограничений. Возможности модуля Радиочастоты программного обеспечения COMSOL Multiphysics® позволяют облегчить эти задачи и оптимизировать проектирование.
Расширение диапазона частот сети
В настоящее время беспроводные сети не позволяют загружать большие объёмы данных на оптимальной скорости. Для достижения требуемой скорости загрузки и передачи данных, новые беспроводные сети должны работать в более широком диапазоне частот. Сейчас беспроводные сети работают в диапазоне частот от 1 ГГц до 3 ГГц. Сети 5G должны работать на гораздо более высоких частотах. Для оптимальной работы верхняя граница диапазона частот новых сетей должна достигать вплоть до 100 ГГц.
Для 5G-сетей частота около 30 ГГц может послужить центральной, т.е. в её окрестности и будет функционировать беспроводная сеть. Работа новых сетей на частотах до 100 ГГц необходима для обеспечения дополнительной пропускной способности системы и увеличения полосы пропускания в более плотных зонах. Если вы когда-нибудь пытались выйти в интернет со своего устройства во время музыкального концерта или спортивного мероприятия, где тысячи других людей пытаются сделать тоже самое, тогда вы понимаете важность данных требований. Расширение диапазона частот может помочь при стихийных бедствиях, когда тысячи людей звонят родственникам, а также может дать толчок к развитию мобильной связи в отдалённых труднодоступных уголках планеты.
Антенный разделитель (диплексер) — один из многих компонентов, которые будут использоваться в 5G-сетях нового поколения и позволят решить данные проблемы. Это устройство разделяет сигнал на два частотных субдиапазона, которые необходимы для широкого рабочего диапазона мобильной сети. Внутри диплексера на более низкой частоте принимается, а на более высокой — передаётся сигнал. Моделирование — простой и эффективный способ для проверки конструкции и поиска оптимальных параметров диплексера. Рассчитывая S-параметры (параметры рассеяния) и распределение электрического поля волноводного разделителя с помощью моделирования, можно проверить, насколько хорошо спроектировано устройство.
На рисунке изображён рассчитанный волноводный разделитель.
Учебная модель WR-28 waveguide diplexer model (Волноводный разделитель WR-28), изображённая на рисунке выше, используется для работы в Ка-диапазоне частот, нижняя и верхняя границы полосы пропускания которого в данном случае составляют 28 ГГц (слева) и 30.4 ГГц (справа) соответственно. Моделирование показывает, что входная мощность каждой полосы пропускания распределяется отдельно, независимо от другой.
Разработка антенн для более высоких частот
Другой способ развития 5G-сетей заключается в увеличении коэффициента усиления антенн мобильных устройств. Такой метод вместо усиления увеличивает расстояние, на которое можно передавать сигнал от телефона. Если вы возьмёте в руки старый телефон, то увидите в нём антенну, которую надо было выдвинуть для звонка. В данном случае антенна являлась четвертьволновым монополем. Такие антенны имеют одинаковое усиление во всех азимутальных направлениях. Это значит, что электромагнитные волны распространяются изотропно в Н-плоскости, так что сигнал распространяется одинаково во всех направлениях и надёжно достигает вышек сотовой связи независимо от местоположения пользователя.
Трёхмерная диаграмма направленности излучения плоской инвертированной антенны F-типа (PIFA) в мобильном устройстве.
Поскольку телефоны продолжали развиваться как по функционалу, так и с точки зрения дизайна, антенна была максимально уменьшена и встроена в корпус, что, в свою очередь, исказило диаграмму направленности. С развитием 3G, 4G и 4G LTE мобильная связь прогрессировала и в мобильные телефоны начали встраивать миниатюрные многополосные антенны вместо четвертьволнового монополя.
Одной из проблем стал неравномерный приём и непринятые вызовы при использовании телефона в различной местности и условиях. В некоторых случаях разница в приёме могла быть даже в пределах одной комнаты. Наш коллега Jiyoun Munn, глава разработки модуля Радиочастоты (RF), пояснил, почему так происходит: «Когда вы разговариваете по телефону, вы обычно не знаете, где конкретно располагается ближайшая вышка сотовой связи по отношению к вашему телефону. Интерференционное замирание сигнала в следствие переотражений сигнала внутри помещения также является одной из проблем, которые могут повлиять на качество приема.»
Сети 5G требуют гораздо более высоких рабочих частот. По словам Jiyoun: «При распространении электромагнитных волн на более высоких частотах ослабление сигнала в воздухе сильнее. Следовательно, для антенн нужно будет увеличить коэффициент усиления, чтобы передавать сигналы на большие расстояния. Чем выше коэффициент усиления антенны, тем больше направленность её излучения. Поэтому видимость (радиовидимость) антенны или её угловое перекрытие станет достаточно малым.» Из-за этого мобильные телефоны «видят» базовые станции в очень ограниченном диапазоне.
Сигнал от антенны в виде четвертьволнового монополя (сверху) распространяется изотропно на относительно низкой частоте, в то время как антенна в виде фазированной решётки (снизу) сканирует пространство для приёма сигналов вот вышки сотовой связи, но при этом с большим коэффициентом усиления и на более высоких частотах.
Улучшение технологии на основе набега фазы
Для решения вышеперечисленных проблем используют фазированную антенную решётку (active electronically scanned array- AESA). Её принцип работы основан на управлении формой диаграммы направленности и направлением излучения путём амплитудно-фазового изменения входного сигнала. «Арифметический набег фазы на каждом элементе решётки может менять направление излучения» — отмечает Jiyoun. «Направление максимального излучения в таком случае перпендикулярно эквифазной плоскости, поэтому диаграмма направленности излучения повёрнута по направлению к более «быстрому по фазе» элементу антенны.» Это основной принцип действия фазированной решётки — управлять направлением излучения.
Диаграмма направленности однополюсной системы антенн в дальней зоне.
Оптимальная антенна для 5G-сетей — это фазированная антенная решётка (ФАР), которую можно построить из прямоугольных микрополосковых антенн, состоящих из нескольких групп обычных антенн. Используя набег фазы и весовой коэффициент для каждого элемента массива, можно оптимизировать угловое перекрытие и коэффициент усиления для 5G-сетей. Моделируя конструкцию ФАР, можно оценить её производительность для 5G-сетей. Компьютерное моделирование упрощает расчёт диаграммы направленности в дальней зоне и позволяет оценить и оптимизировать все входные параметры.
Результаты моделирования ФАР размером 8×8 элементов.
Демо-версия приложения Slot-Coupled Microstrip Patch Antenna Array Synthesizer (Синтезатор прямоугольной микрополосковой антенной решетки с щелевой связью) имеет упрощённый пользовательский интерфейс. Его можно использовать для быстрых предварительных расчётов прототипов антенн для 5G-сетей. Приложение можно открыть и запустить, используя ваш интернет браузер, в т.ч. удаленно. «С помощью данного приложения инженеры-проектировщики могут искать асимптотическое решение для антенной системы, а также могут совместно использовать данное приложение со своими коллегами, одновременно работая над оптимизацией конструкции» — говорит Jiyoun. Так как интерфейс приложения интуитивно понятен и прост, а также оптимизирован для конкретных рассчётов, вы можете моделировать свои собственные конструкции антенн всего за 90 секунд, в отличии от нескольких дней, которые потребовались бы для расчёта полной модели. Создание таких приложений для моделирования является эффективным и простым способом расчёта.
Интерфейс приложения «The Slot-Coupled Microstrip Patch Antenna Array Synthesizer».
Возможные применения технологии 5G
С приходом 5G-сетей мы окажемся в ещё более технологичном обществе. Интернет вещей, который также иногда называется Всеобщим Интернетом или Индустриальным интернетом, — это термин, который используется для описания нового поколения умных устройств и технологий обмена информацией. Его популярность связана с большой гибкостью, т.к. IoT может быть применен практически в любой отрасли.
Умные дома и портативные электронные устройства, такие как фитнес-браслеты и умные часы, являются одним из примеров IoT. К примеру, они могут отслеживать активность человека в течении дня, вести статистику в приложениях, анализировать эти данные и подбирать необходимые индивидуальные программы тренировок и питания. По мере развития сетей 5G становятся доступны новые возможности использования этой технологии. В области здравоохранения, устройства, подключённые к IoT, автоматически организуют доставку и ввод необходимых лекарств, собирают информацию о пациентах и в режиме реального времени её обрабатывают. В средствах массовой информации такие устройства отслеживают наши предпочтения в области развлечений и покупок, чтобы автоматически рассылать нам рекламу о предстоящих мероприятиях.
Фитнес-браслет — один из примеров использования Интернета вещей в повседневной жизни.
Собранные с этих умных устройств данные, будь то температура, количество шагов, условия окружающей среды или другие факторы, затем анализируются целой системой, к которой они подключены. Далее система IoT обрабатывает данные и управляет умными устройствами (включает или выключает их, посылает сообщение, вводит лекарство), тем самым завершая рабочий цикл.
Рассчитывая и анализируя радиочастотные помехи от умных устройств, можно создавать более продвинутый и технологичный Интернет вещей. Применению IoT практически нет ограничений. Развивая сети нового поколения, можно оптимизировать работу всех устройств для того, чтобы они эффективно взаимодействовали друг с другом. Благодаря гибкости 5G-сетей, Интернет вещей сможет стать реальностью и заработать в полном объёме уже в ближайшие несколько лет.
Некоторые выводы по оптимизации радиочастотных приборов для 5G-сетей
Ждать сети 5G осталось еще несколько лет. Более подробный расчёт и детальный анализ таких микроволновых и радиофизических характеристик, как усиление антенн, частотные диапазоны и регулировки направленности сигнала при приёме или излучении, позволит обеспечить доступность технологии для всех пользователей уже к 2020 году. Использование компьютерного моделирования и специальных приложений является очень эффективным и прогрессивным подходом в создании новейших технологий. Давайте начнём развивать сети нового поколения прямо сейчас!
Дополнительные материалы
- Для самостоятельного ознакомления и разбора техник моделирования и оптимизации технологии 5G ознакомьтесь со следующими учебными примерами:
- Узнайте больше о технологии 5G, Интернете вещей и портативных устройствах в нашем корпоративном блоге:
Антенна для телевизора своими руками – просто, легко, быстро
Примеры известны, когда своими руками изготавливали спутниковые антенне. Однажды завод, работающий на оборонку, выпустил брак, клерки ничего не придумали лучше сбыта населению через магазин детских игрушек: выставили санки для малышей. Товар расхватали мгновенно, когда между местными радиолюбителями прошел слух: возможно задешево купить спутниковую антенну для телевизора. Фокус на доли миллиметра сбит, форм-фактор не выдержан досконально, снижен парой дБ коэффициент усиления! Названный факт мало волновал радиолюбителей, получивших в руки антенны-параболоиды дециметрового диапазона. Намного круче «волновых каналов», четвертьволновых вибраторов. Антенна для телевизора своими руками? Легко – если найдете санки неподалеку…
Прежде чем делать антенну своими руками
Перво-наперво учтите: сегодня государственное вещание заменяют цифровым. Прежде касается телевидения. В Москве несколько мультиплексов, на одной частоте передается дюжина каналов, наступает очередь радио. Преимущество подхода привлекает возможностью конструировать узкоспециализированные устройства, справляющиеся с приемом конкретной частоты. Наружная антенна для цифрового телевидения составлена несколькими простыми элементами, формирует ярко выраженный резонанс нужной длины волны. Отпала нужда обеспечивать широкополосность, получили значительный выигрыш усиления. Не обязательно вариант купить телевизор с антенной идеален.
Отсутствует возможность улучшить конструкцию спутниковых антенн. Тороидальная модель, увешанная облучателями, смотрится так себе, эквивалентов для приема с нескольких космических аппаратов не придумано. Подошла бы фазированная антенная решетка с отклоняющимся лучом диаграммы направленности, но сегодня реализация конструкции не то чтобы дорогая, попросту невозможна.
Какую антенны выбрать для приема телевизионного вещания
Телевизионное вещание осваивает диапазон ДМВ (300 – 900 МГц), поляризация используется горизонтальная. Для ловли потрудитесь параболоид с правильно настроенным облучателем найти, потребуется прямая видимость на телецентр или точная подгонка к переотраженному сигналу, изменяемому погодными условиями, даже ветром. Не принято использовать параболоиды, принимая наземное вещание. Спутник висит непреклонно на одном месте, точку позиционирования периодически корректируют наземные станции, легко обойтись тарелкой. Прямая видимость, естественно, должна присутствовать.
Для наземного приема нужна антенна, главный лепесток диаграммы направленности которой достаточно широкий, чтобы уловить сигнал. Одновременно требуется ограничить прием паразитных составляющих многолучевости, помехи соседних телецентров, вышек. Устройства снабжаются различного рода рефлекторами, форма и конструкция сильно зависят от типа антенны. Различают:
- зигзагообразные;
- вибраторные;
- волновые каналы;
- рамочные;
- бегущей волны;
- комбинированные.
Среди множества устройств антенна телевизионная наружная своими руками проще собирается по типу волновой канал (антенна Удо-Яги). Устройство обладает отличными характеристиками, сегодня займемся рассмотрением этого класса приспособлений для приема телевизионного вещания.
Приемные антенны класса волновой канал своими руками
Конструкция антенны
Прежде всего о количестве элементов. У волнового канала имеется траверса, на которую крепятся параллельно друг другу, начиная сзади:
- Рефлектор.
- Активный вибратор.
- Пассивные вибраторы (директоры).
Для каналов метрового диапазона необходимо пожертвовать коэффициентом усиления ради увеличения рабочей полосы устройства. Достигается путем снижения количества директоров.
Выглядит практически следующим образом:
- Диапазон ниже 70 МГц потребует наличия одного директора. Получается трехэлементная антенна волновой канал. Образована рефлектором, активным, пассивным вибраторами.
- Диапазон ниже 110 МГц обходится четырехэлементной антенной, где имеется два директора.
- 170 – 240 МГц принято ловить волновыми каналами с пятью пассивными вибраторами.
- 470 МГц и выше (цифровые мультиплексы) – рекомендуется применять антенны из 15 элементов: рефлектор, активный вибратор, 13 директоров.
Используйте антенны для приема радио диапазона FM, знайте: поляризация вертикальная. Элементы, о которых поговорим ниже, располагаются перпендикулярно земле. Теперь размеры. Узлы, кроме активного вибратора, представляют собой куски проволоки, закрепленные на траверсе параллельно друг другу. Активный вибратор выглядит удлиненным прямоугольником со скругленными сторонами. Углы прямые, на практике, выгибая из толстого материала, не получается сделать точно. Выделим четыре вида расстояний в волновом канале:
- Между рефлектором и активным вибратором.
- От активного вибратора до первого директора.
- От первого директора до второго директора.
- Между остальными директорами.
На практике себя показывает отлично конструкция, где директоры имеют одинаковую длину, меньшую, нежели у активного вибратора. Рефлектор должен длиной превосходить каждый в отдельности. Элементы изготавливаются из круглой медной, латунной, алюминиевой проволоки круглого сечения. Допускается использовать центральные жилы 4-жильных кабелей. Прочие будут искажать прием, разрешается испробовать.
Изготовить траверсу следует из дачного черенка лопаты, трубы полиэтилена (полипропилена) высокой плотности. Элементы крепятся поперек болтовыми соединениями, при необходимости длинные директоры снабжаются направляющими из прочного диэлектрика (древесина). По возможности элементы располагаются в одной плоскости, быть горизонтальны.
Мачта обоснуется позади активного вибратора, рекомендуется применить одну-две наклонные распорки. Ни одна не должна попасть в зазор между первым директором и активным вибратором. В противном случае антенна телевизионная цифровая будет работать отвратно, сбитая искажениями сигнала крепежом.
Сама мачта устанавливается на растяжки из стальной проволоки. Допустимо пользоваться двумя комплектами при необходимости. Кабель для телевизионной антенны по нормам используется 75 Ом. Такое же значение имеют и волновые сопротивления разъемов плазменных и жидкокристаллических телевизоров. Как результат, блокируется отражение мощности, мастера добиваются уверенного приема сигнала с минимальными затратами энергии и технических средств. При переусилении снижайте коэффициент передачи аттенюаторами.
Размеры самодельной антенны типа волновой канал
Первый мультиплекс Москвы приходится на частоту 559,25 МГц. Посмотрим, какие размеры будет иметь антенна для портативного телевизора соответствующей длины волны. Сие приходится примерно на 32-ой канал советского вещания. Литература указывает следующие размеры устройства:
- Длина рефлектора 26,9 см.
- Длина активного вибратора 21,3 см.
- Высота активного вибратора 5 см.
- Длина директоров 20,2 см.
- Расстояние 1 – 11, 9 см.
- Расстояние 2 – 7 см.
- Расстояние 3 – 13,1 см.
- Расстояние 4 – 15,8 см.
Сигнал снимается с разрыва активного вибратора внизу. Длина прорези не имеет значения, для ДМВ диапазона это 1,5 – 3 см. Теперь у нас будет цифровое телевидение, антенна своими руками сделана, осталось установить в комнате или на крыше. Рекомендуется при наличии прямой видимости, но башня находится за горизонтом, пользоваться компасом, картой. Наблюдаете непосредственно передающую станцию – нацельте антенну волновой канал, пользуясь зрением. Дальнейшая настройка производится по максимальному уровню сигнала (на практике качеству изображения). После приспособление стоит закрепить, как было показано выше.
Обратите внимание: в городе о прямой видимости не идет речи. Будем ловить отраженный сигнал, приходящий с абсолютно любого направления. Даже с противоположного расположению телецентра. Придется поискать хорошенько, откуда приходит вещание. При неудовлетворительном качестве рекомендуется использовать усилитель для телевизионного сигнала, включаемый близ антенны. Придется провести кабель питания на крышу. Допускается установить волновой канал в комнате, усилитель может не понадобиться. Основные потери обусловлены кабелем, длина оставляется минимальной. Телевизионная антенна комнатная своими руками изготавливается по тому же принципу. Не требуются мачта, растяжки. Где поместить – личное дело каждого. Зависит от фантазии.
Если использовать кронштейн для телевизионной антенны, на одной мачте возможно укрепить ряд волновых каналов, это позволит принимать все частоты с максимальным качеством, ловить радиовещание. Обратите внимание, не обсудили в обзоре согласующие устройства, помогающие добиться наименьшего значения КСВ. В этом случае мощность будет отражаться меньше. Опытный конструктор должен об этом позаботиться сам!
Антенна «Сдвоенный Квадроэллипс» — 3G-aerial
Предлагаемый вашему вниманию «Сдвоенный Квадроэллипс» является одной из немногих профессиональных конструкций, которую можно смело рекомендовать для изготовления в домашних условиях обычному DIY-шнику, у которого нет специальных приборов по настройке антенн. Антенна является модификацией знаменитого в профессиональных кругах эллиптического «Патча UVE». Почему патчи пользуются особой популярностью на СВЧ и чем хорош патч от UVE мы достаточно подробно разобрали в описании антенны «Эллипс-патч 2х2», поэтому повторяться не будем. Однако радиолюбителя часто останавливает необходимость вырезания из металла правильного эллипса. Тут круг попробуй ровный сделать, а то еще эллипс! Представленная здесь конструкция, при сохранении всех достоинств «Патча UVE», позволяет сделать его «прямоугольным», без вырезания кривых линий.
С одной стороны патч похож на спрямленный эллипс, с другой — на прямоугольник со срезанными углами. Получился «квадроэллипс». Из двух таких патчей, соединенных между собой проволочной несимметричной линией передач, собирается фазированная антенная решетка. Антенна имеет усиление более 14 dBi, входное сопротивление 50 Ом, КСВ не превышает 1.7. В качестве примера приведены характеристики антенны для диапазона DCS-1800:Антенна рассчитана в симуляторе HFSS для большинства 3G/4G диапазонов. Файл проекта с набором моделей можно скачать с нашего сайта. Калькулятор мы здесь не приводим принципиально. Антенна имеет множество не масштабируемых размеров и калькулятор в этом случае попросту неуместен. Все размеры сведены в таблицу ниже, обозначения понятны из чертежей:Рефлектор сгибается в виде П-образного короба с размерами W, H и L, немного раскрытого в виде рупора. Патчи располагаются симметрично относительно центра рефлектора на расстоянии S между центрами крепления. Крепятся посредством болтов, пропущенных через металлическую трубочку диаметром Dof и высотой OfПатчи соединяются с проволочной фазированной линией с помощью лепестков трапецеидальной формы с размерами T1, T2, T3. Лепестки можно вырезать из одного куска металла вместе с патчем. Провод фазированной линии диаметром dw, который соединяет патчи между собой, располагается на высоте h над рефлектором. Такое же расстояние h от низа лепестка до рефлектора. Толщина металла для патчей около 1 мм на частотах ниже 1 ГГц, 0,5..0,8 мм в диапазонах 1800, 2100 МГц и 0,3..0,5 мм — LTE2600. Толщина металла для рефлектора выбирается исходя из критерия механической прочности, не менее 1 мм. В сетях 3G/4G применяется вертикальная поляризация и антенну следует располагать так как на первом чертеже — вертикально. Для реализации MIMO технологии придется изготовить две отдельные такие антенны. Располагать их следует под углом 90° друг к другу, но не горизонтально/вертикально, а по условиям так называемой Х-поляризации по улом 45° к горизонту каждая (смотрите фото в низу). Почему так подробно описано в статье о MIMO технологии. Центральный проводник разъема питания подключается к наружной стороне одного из лепестков в одной точке с фазированной линией. Можно обойтись без разъема и завести фидер с помощью F-гнезда, как показано в этом видео о «пушке». Отверстие под F-разъем (телевизионный, как назвали его в видео) сверлится в рефлекторе напротив одного из лепестков, центральная жила фидера подключается к лепестку в той же точке, где подключается фазированная линия, соединяющая патчи между собой.
| Размер [мм] | Диапазон [МГц] | ||||
|---|---|---|---|---|---|
| 800 | 900 | 1800 | 2100 | 2600 | |
| A | 236 | 210 | 109 | 96 | 75 |
| B | 172 | 153 | 80 | 70 | 55 |
| C1 | 71 | 63 | 33 | 29 | 22 |
| C2 | 40 | 31 | 19 | 17 | 13 |
| S | 368 | 328 | 170 | 150 | 117 |
| D | 196 | 175 | 90 | 80 | 62 |
| H | 733 | 689 | 357 | 316 | 246 |
| W | 550 | 490 | 254 | 225 | 175 |
| L | 135 | 120 | 62 | 55 | 43 |
| Of | 34 | 31 | 15 | 14 | 11 |
| Dof | 8 | 8 | 6 | 6 | 6 |
| T1 | 42 | 36 | 21 | 20 | 15 |
| T2 | 7 | 5 | 5 | 5 | 4 |
| T3 | 32 | 29 | 13 | 12 | 9.5 |
| h | 2 | 2 | 2 | 2 | 1.5 |
| dw |
2.25 4 мм2 |
2.25 4 мм2 |
2.25 4 мм2 |
2.25 4 мм2 |
1.78 2.5 мм2 |
Если сравнить данную антенну с популярной «Пушкой Креосана», то она имеет усиление в два раза больше. В ДВА раза, шоб вы себе знали! Но! «Железа» для нее требуется намного меньше. Опять же, резать металл надо по прямым линиям, что гораздо проще. Не надо заморачиваться с кругами/эллипсами и при этом гораздо легче соблюсти точность размеров. А то чертить круги фломастером, как показывают на этой вашей ютрубе, и при этом вырезать с точностью до миллиметра!? Ну вы понимаете…
Добавляем сжатые фото готовой MIMO антенны от Игоря Сафонова. Кликните на изображение для увеличения. Архив с полноценными фото с разрешением 20 Мега пикселей можно скачать на Google disk, а также на Яндекс диск.
Ссылки по теме:
Вконтакте
Одноклассники
Мой мир
Найден способ десятикратно усилить сигнал Wi-Fi и 5G за сущие копейки
, Текст: Дмитрий Степанов
В MIT разработали «умную поверхность», которая позволяет без значительных финансовых и энергозатрат обеспечить многократное усиление радиосигнала любого характера. Устройство призвано в первую очередь решить проблему обеспечения стабильным беспроводным соединением миниатюрных устройств интернета вещей, внутри которых нет места для размещения мощных антенн.«Умная поверхность»
Специалисты Лаборатории искусственного интеллекта Массачусетского технологического института (MIT CSAIL) создали приспособление, позволяющее значительно усилить радиосигнал, в том числе и в частотных диапазонах сетей Wi-Fi и 5G. При этом устройство является относительно недорогим и энергоэффективным.
«Умная поверхность» под названием RFocus представляет собой двумерный массив из 3 тыс. миниатюрных антенн, управляемых с помощью специального ПО, пишет Engadget. Она «может работать как зеркало или линза», либо отражая сигнал либо пропуская его насквозь, чтобы затем сфокусировать на конкретных устройствах.
Прототип RFocus, по данным инженеров MIT, позволяет добиться десятикратного усиления медианной (усредненной) мощности, одновременно удваивая пропускную способность канала.
Один из авторов проекта RFocus Венкат Арун (Venkat Arun) и прототип «умной поверхности»
Как отмечают разработчики RFocus, не содержит активных усилителей сигнала, а стоимость каждой одной антенны составляет «всего несколько центов», поэтому само устройство, вероятно, будет недорогим в производстве, особенно в массовом. Отсутствие активных усилителей сигнала также положительно сказывается на уровне энергопотребления устройства.
Применение RFocus
В представлении разработчиков RFocus технология имеет множество сценариев применения. В идеале «умная поверхность» должна выпускаться в виде тонких обоев, которые можно наклеить на стену любого помещения – от небольшого офиса до промышленного склада.
Схема работы «умной поверхности»
Особенно полезной RFocus может оказаться при использовании в сфере интернета вещей, который в последние годы набирает популярность. Разнообразные датчики ввиду своих небольших габаритов сложно оснастить мощной антенной, а «умная поверхность», будучи пассивным устройством, позволяет обеспечить их нормальное взаимодействие в помещениях достаточно большой площади, без необходимости модифицировать приемо-передающие модули и существенных затрат, в том числе и на электроэнергию.
Когда именно создатели RFocus планируют вывести разработку на рынок, не сообщается. Им еще предстоит «довести до ума» дизайн устройства, сделав его привлекательным для потребителя, отмечает Engadget.
Исследователи из MIT не стали первопроходцами на этом направлении. Ранее команда из Принстонского университета во главе с профессором Кайлом Джеймисоном (Kyle Jamieson) предложила похожую технологию. Однако в рамках проекта RFocus преследуется создание более дешевой и универсальной системы, которую можно было бы использовать в самых разных условиях.
аафар | — | адаптивная (приспосабливающаяся) фазированная |
| ||
|
| антенная решетка (фар) |
| ||
абв | — | антенна бегущей волны |
| ||
ап |
| автоматизированное проектирование |
| ||
ал в | — | антенна поверхностной волны |
| ||
ар | — | антенная решетка |
| ||
афар | — | активная фазированная антенная решетка |
| ||
афу | — | антенно-фидерное устройство |
| ||
ачх | — | амплитудно-частотная характеристика |
| ||
бэ | — | базовый элемент |
| ||
да | — | диэлектрическая антенна |
| ||
дв | — | 1) длинные волны; 2) диэлектрический волновод |
| ||
длп | — | двухпроводная линия передачи |
| ||
дн | — | диаграмма направленности |
| ||
дом | — | диаграммообразующая матрица |
| ||
дцмв | — | дециметровые волны |
| ||
ик | — | инфракрасное излучение |
| ||
ис | — | интегральная схема |
| ||
кбв | — | коэффициент бегущей волны |
| ||
квч | — | крайне высокая частота |
| ||
кз |
| короткозамкнутый |
| ||
кип |
| коэффициент использования площади |
| ||
кл | — | коаксиальная линия |
| ||
кнд | — | коэффициент направленного действия |
| ||
ксв | — | коэффициент стоячей волны |
| ||
ку |
| коэффициент усиления |
| ||
лп | -— | линия передачи |
| ||
ммв | — | миллиметровые волны |
| ||
мпи | — | микрополосковый излучатель |
| ||
но | — | направленный ответвитель |
| ||
нпл | — | несимметричная полосковая линия |
| ||
нпч | — | наименьшая применимая частота |
| ||
нщл | — | несимметричная щелевая линия |
| ||
оис | — | объемная интегральная схема |
| ||
пв | — | 1) поверхностная (земная) волна; 2) прямоуголь- |
| ||
|
| ный волновод |
| ||
пп | — | показатель преломления |
| ||
ппп | — | полупроводниковый прибор | |||
ПЭВМ | — | персональная электронная вычислительная машина | |||
пэмв | — | продольная электромагнитная волна | |||
РКТ | — | ракетно-космическая техника | |||
РЛС | — | радиолокационная станция (система) | |||
РРВ | — | распространение радиоволн | |||
РРЛ | — | радиорелейная линия | |||
РТА | — — | радиотехнический аппарат, аппаратура | |||
РТС | — | радиотехническая система | |||
САПР | — | система автоматизированного проектирования | |||
СВ | — | средние волны | |||
свч | — | сверхвысокая частота | |||
сдв | — | сверхдлинные волны | |||
СМВ | — | сантиметровые волны | |||
спл | — | симметричная полосковая линия | |||
ССОИ | — | система сверхбыстрой обработки информации | |||
субММВ | — | субмиллиметровые волны | |||
сщл | — | симметричная щелевая линия | |||
УБЛ | — | уровень боковых лепестков | |||
УКВ | — | ультракороткие волны | |||
УУ | — | управляющее устройство | |||
УФ | — | ультрафиолетовое излучение | |||
ФАР | — | фазированная антенная решетка | |||
ФВ | — | фазо вращател ь | |||
ФМ | — | физическая модель | |||
ФП | — | фундаментальный предел | |||
ФУ | — | функциональный узел | |||
цои | — | цифровая обработка информации | |||
ША | — | щелевая антенна | |||
щл | — | щелевая линия | |||
эи | — | элементарный излучатель | |||
ЭМВ | — | электромагнитная волна | |||
ЭМК | — | электромагнитные колебания | |||
эмп | — | электромагнитное поле | |||
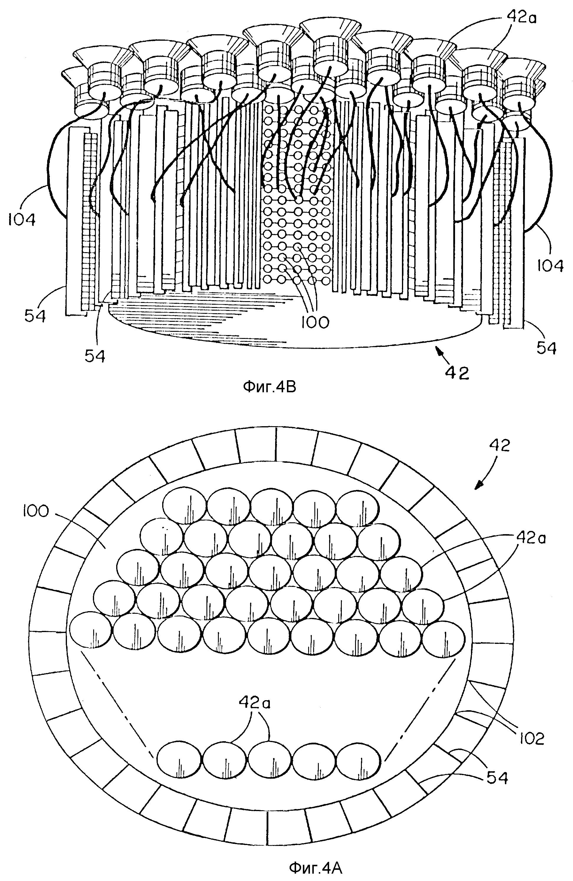
Постройте фазированную решетку на пластине для повышения производительности антенны
Потребность в значительных улучшениях радара по-прежнему вызывает постоянную озабоченность Министерства обороны (DoD). Одной из наиболее впечатляющих разработок, направленных на удовлетворение этой потребности, является система формирования РЧ-луча с высоким разрешением с использованием фазированных антенных решеток.
Хотя фазированные решетки — далеко не новость, новая пластинчатая антенна демонстрирует важные преимущества, которые могут поддерживать решетки с низкой плотностью мощности для различных приложений радаров.На военной арене используются:
- наземные радиолокаторы средней зоны действия
- РЛС морского базирования
- РЛС перспективной блочной системы ПРО
- группировок радаров космического базирования с задачами, включающими постоянную близость слежение за движущимися целями в реальном времени по индикации
- информация о местности с высоким разрешением
- радар с синтезированной апертурой
Технология формирования РЧ-луча с высоким разрешением также имеет огромный потенциал в коммерческих беспроводных приложениях, таких как специальная связь, двухточечная и многоточечная беспроводная связь, радиометрия, пассивная медицинская визуализация, средства мобильности для слабовидящие, системы наблюдения и предотвращения столкновений.
Разработчики могут воспользоваться преимуществами компактного, надежного, эффективного и недорогого полупроводника. и решение из керамического материала для радаров V-диапазона (от 50 до 75 ГГц), которые поддерживают доступная работа с полным полем обзора (FOV) при уменьшении аппаратного обеспечения, логистика и эксплуатационные расходы существующих систем.
Это решение реализовано в виде единого антенного модуля в масштабе пластины (WSAM), который выполняет все компоненты и функции антенны (например, формирование РЧ-луча). 1 Концепция WSAM, которая обеспечивает независимое решение для фазированных антенных решеток, значительно увеличивает отношение сигнал / шум (SNR) радиолокационных систем.
В диапазоне X (от 8 до 12 ГГц) концепция включает 64-элементный массив, содержащий элементы антенны, а также все цепи передатчика (Tx) и приемника (Rx) на стандартной 8 дюйм. кремниевая пластина (рис. 1а). На более высоких частотах V-диапазона при гораздо меньших размерах антенных элементов пластина может обрабатывать до 1024 элементов и связанных схем (рис. 1б).
ПРОБЛЕМЫ ИНТЕГРАЦИИ ВАФЕРНОГО МАСШТАБА
Интеграция вафельного масштаба не обходится без проблем.Во-первых, дизайн должен
поддерживать однородную фазу и амплитуду от центральной точки питания до всей антенны
элементы. Тем не менее, на частоте 60 ГГц ослабление в линии может быть значительным, от менее
От 10 дБ для 1 мм до примерно 200 дБ для 150 мм. 2 Следовательно, в вафле используется балансный
Htree и распределенное усиление на пути прохождения сигнала для компенсации
для линейного затухания (рис. 2).
Ширина линии передачи, также называемой копланарным волноводом (CPW), является другой проблемой.Более широкий CPW означает большую паразитную связь из-за емкости и индуктивности линии передачи и окружающей среды. Но чем уже CPW, тем выше сопротивление, вызванное скин-эффектом и окружающими паразитами.
Мы выбрали линию 4 мкм, потому что паразитное затухание преобладает над скин-эффектом. Хотя эта узкая линия создаст более высокое сопротивление, большая емкость и индуктивность более широкой линии значительно ухудшат сигнал.
КОНСТРУКЦИЯ РАСПРЕДЕЛЕННОГО УСИЛИТЕЛЯ
Схема распределенного усиления использует инновационный подход, основанный на
на усиление балансировки нагрузки (LBA) между согласующими цепями и
драйверная пара усилителей (рис. 3). Путем изменения
отношение TL1 / TL2 (общая длина TL1 и TL2 равна кратной
четверть длины волны), номинальное стабильное усиление от 10 до 15 дБ на каскад LBA
(включая затухание в линии передачи). Потребляемая мощность
для блока LBA менее 40 мВт с 1.Питание 5 В для стандартного кремниевого
процесс.
На рисунке 4 показан предлагаемый сверхширокополосный (UWB) блок Tx / Rx формирования луча. Во время передачи радиосигнал направляется и сдвигается по фазе, усиливается и подключается к передающей антенне. Преимущество такой функции формирования луча состоит в том, что она обеспечивает улучшенный необходимый диапазон и охват. Это достигается за счет улучшения отношения сигнал / шум передачи. канал для двухточечного или многоточечного вещания или для высокого разрешения функция радара.
Точно так же во время операции приема РЧ-сигнал направляется и усиливается, сдвинутые по фазе, объединенные и переданные во внешнюю цифровую обработку сигналов Блок. Функция фазового сдвига, если повторяется для нескольких входных антенн с фиксированные приращения, правильно взвешенные и объединенные, приведут к пространственному формирование луча, которое может применяться для приложений поиска и сопровождения целей.
ВЧ-блок состоит из распределенного малошумящего усилителя (DLNA), основанного на КМОП-матрице. маломощный контроллер, аналоговые переключатели для выбора режима Rx или Tx и линия задержки маршрутизатор или блок фазовращателя (рис.4, снова). Функция усилителя мощности (PA) заменена выходом DLNA с низким энергопотреблением, поэтому достаточно энергии сигнала передается, не прибегая к к мощному PA.
Функция контроллера обращается к управлению питанием на основе пикового обнаружения. механизм, регулировка усиления DLNA для оптимального и постоянного отношения сигнал / шум, а также фазовращатель (массив линий задержки), основанный как минимум на 2-битном цифровом управлении перевертыш. Связь радиочастотного блока с внешним электронным блоком (основная полоса частот процессора и медиа-контроллера доступа) базируется на серии полученных блоки импульсов, содержащие информацию для адресации.
Включает инициализацию, выбор элемента в случае развертывания антенной решетки. (выбор строки и / или столбца) возможность адресации массива тайлов, 3 выбор величины фазового сдвига / задержки, необязательное поле для адреса Регулировка усиления LNA, выбор переключателя Tx или Rx и управление питанием для решения спящий режим работы.
Секция DLNA и интегрированного усилителя может быть многокаскадной биполярной или на основе КМОП. конструкция, использующая менее 100 мВт для обеспечения усиления 10 дБ в активном режиме.Фаза сдвигатель обеспечивает как минимум 2 бита управляемого фазового сдвига с максимальным изменение среднеквадратичного значения 10 °. Это соответствует точности 0,6 пс (среднеквадратичное значение) при 4,15 пс. разрешение при работе на частоте 60 ГГц. Радиочастотные переключатели, DLNA, фазовращатель и контроллер все включены в матрицу, которая вставляется под антенную пластину в качестве элемента внутри всей вафли. Обеспечиваются надлежащее экранирование и изоляция, чтобы исключить электромагнитная связь с активными устройствами.
Для передачи данных на конструкцию блока накладываются строгие ограничения.Чтобы достичь 70% открытия глаза (временной интервал окна захвата) для обнаружения сигнала, максимально допустимый общий джиттер должен быть менее 1,2 пс. Как результат, полное ограничение джиттера, включая время нарастания и спада на точном расположение луча, отношение сигнал / шум радиочастотного тракта данных и активные схемы — должны быть менее 2 пс на частоте 60 ГГц.
Это требование явно выходит за рамки возможностей современной технологии для маломощная работа. Для справки, общий джиттер для OC-192 (10 Гбит / с) и OC-768 (40 Гбит / с) менее 2 пс.4 Такого рода ограничения на Tx / Rx сигнал миллиметрового диапазона в V-диапазоне делает конструкцию импульсного СШП радиоприемника очень привлекательный. Схема импульсно-позиционной модуляции (PPM) кажется наиболее подходящей. привлекательное решение 5
УСИЛЕНИЕ И ШИРИНА ЛУЧА АНТЕННОЙ МАССЫ
Изолированный антенный элемент обеспечивает полосу пропускания 7% при постоянном напряжении 2: 1.
волновое отношение (КСВН) при усилении лучше 7 дБ. Элемент возбуждается через
металлический стержень, соединенный с переходным отверстием, заполненным наплавленным металлическим слоем.Что
слой подключен к выходу аналогового радиочастотного переключателя, питаемого от PA, или
эквивалентный DLNA после правильного фазового сдвига.
Аналогичным образом элемент может подавать принимаемое излучение на вход ВЧ переключите питание DLNA, а затем выполните фазовый сдвиг.
На рисунке 5 показаны результаты моделирования. для массива антенных дипольных петель, построенных на кремниевой подложке. Эта симуляция была основана на сотовой подложке с относительной диэлектрической проницаемостью 2.2. В 60 лет ГГц, 32 элемента в строке обеспечивают ширину луча менее 2 °, что дает разрешение 1 м на дальнем поле 150 м. Луч 2 ° с боковым лепестком меньше более 5 дБ было получено для массива плиток 32 на 2 (два ряда по 32 антенны петли). Коэффициент усиления антенной решетки 32 на 2 составляет около 21 дБи. Матрица 32 по 32 (1024 элемента) обеспечивает усиление антенны лучше 37 дБи.
При правильном управлении фазой и амплитудой луч решетки можно регулировать. для решения множества адаптивных функций.Они могут включать в себя высокое разрешение сканирование дальних и ближних целей, динамическое управление дальним отслеживанием и управление питанием для уменьшения радиочастотных помех в системах наведения для массового рынка, например, автомобильные радары для предотвращения столкновений.
МАСШТАБИРУЕМОСТЬ И ИНТЕГРАЦИЯ
Как уже отмечалось, размещение большего количества антенных элементов на одной пластине улучшает антенну.
усиление и обеспечивает более мелкую ширину луча, что важно для высокого разрешения
приложения для сканирования датчиков или радара, а также беспроводное соединение с очень высокой скоростью передачи данных.
ссылки.
На рисунке 6 показан прототип такого массив. 1024 антенных элемента интегрированы в систему с несколькими входами и выходами. (MIMO) конфигурация под каждой подрешеткой антенн. Из-за пространственного свойство объединения мощности волн, функция формирования луча обеспечивает улучшенный диапазон и покрытие, которые необходимы для улучшения отношения сигнал / шум передачи или приема канал на большие расстояния и для высокого разрешения.
Одним из ключевых ограничений при разработке WSAM является отвод тепла от вафля.Практическое ограничение для рассеивания тепла без необходимости внешняя система охлаждения составляет около 1 Вт / см 2 для кремниевой подложки. Это соответствует примерно 375 Вт / пластина (для 8-дюймовой подложки). Очевидно, что рассеиваемая мощность напрямую зависит от количества антенных элементов на вафля. С различной плотностью упаковки, зависящей от частоты работы, 64 элемента и антенны могут быть размещены на X-диапазоне и 4096 элементов на V-диапазоне.
Основным фактором интегрированного решения является мощность, потребляемая PA (DLNA) и контроллером для решения глобального управления WSAM.Должно Следует подчеркнуть, что интегрированное решение WSAM включает в себя создание антенны матрица и активная электроника на одной подложке.
Ключевым моментом является то, что для массива из 4096 элементов (на частоте 60 ГГц) вес Модуль WSAM как минимум в 2000 раз меньше, чем у дискретно-компонентной версии — результат значительного сокращения материала упаковки и подложки. Примечательно, что объем модуля WSAM в 4000 раз меньше, чем у дискретно-компонентного выполнение.
ПОДТВЕРЖДЕНИЕ
Автор выражает признательность за значительную поддержку проекта WSAM со стороны различных DoD.
агентства. Развитие РЧ и распределения сигналов управления по WSAM
был спонсирован Агентством оборонных исследовательских проектов (DARPA).
Поддерживается развитие возможностей электронного сканирования WSAM.
Исследовательской лабораторией ВВС.
Список литературы
- Ф. Мохамади, «Предложено полностью электронно управляемое формирование луча. технология для увеличения покрытия «IEEE P802.15 Рабочая группа по беспроводной связи Персональные сети (WPAN), март 2005 г., Атланта, штат Джорджия,
- Б. Кливленд и др., «Использование масштабирования обратного межсоединения CMOS в несколько гигагерц. конструкция усилителя и генератора », IEEE Journal of Solid-State Circuits , Vol. 36, No. 10, октябрь 2001 г., стр. 1480-1487
- Ф. Мохамади, «Интеграция Si с фазированной антенной решеткой миллиметрового диапазона», RF Design, февраль 2004 г., стр. 40-48
- Стандарты IEEE 802.3ae, «Параметры управления доступом к среде (MAC), физические Уровень и параметры управления для работы со скоростью 10 Гбит / с, http: // grouper.ieee.org/groups/802/3/a e / public /
- М.З. Вин и Р.А. Scholtz, «Spreadspectrum со сверхширокой полосой пропускания со скачкообразной перестройкой времени» импульсное радио для беспроводной связи с множественным доступом « IEEE Trans. Comm. об. 48, стр. 679-689, апрель 2000
Как работают антенны с фазированной решеткой
Одна из этих экзотических антенн в вашем будущем.
Что вы думаете, когда слышите термин антенна? Вы представляете себе вышку сотового телефона, старую телевизионную антенну, вертикальную штыревую антенну, используемую для CB-радио, или проволочную антенну, используемую радиолюбителями? Или что-то совсем другое?
Антенныбывают самых разных форм в зависимости от приложения, услуги и частоты эксплуатации.Некоторые антенны вы даже не видите — например, четыре или пять единиц в вашем смартфоне. Эти антенны представляют собой одноэлементные устройства, металлическую структуру или рисунок печатной платы (PCB), которые подключены к приемнику или передатчику с помощью линии передачи.
Теперь появляется еще один тип антенны, предназначенный для будущих экзотических сотовых систем 5G и других передовых беспроводных продуктов, таких как маршрутизаторы Wi-Fi. Эта антенна представляет собой фазированную решетку: группа антенн, которые работают вместе, чтобы обеспечить некоторые значительные преимущества и возможности, недоступные с известными нам простыми антеннами.
Фазированные антенные решетки в течение многих лет использовались в военных радарах для обнаружения ракет на большом расстоянии. Они также широко используются в радарах военных и коммерческих самолетов и некоторых спутниках. Эти фазированные массивы дороги, но сегодня, благодаря новой технологии и более высоким частотам, фазированные массивы меньше и более доступны, что делает их практичными для новых беспроводных устройств. Эта статья представляет собой вводное руководство по этому особому типу антенн, о котором вам нужно знать.
Типы антенн
Для создания решетки используются различные типы антенных элементов.В фазированных решетках обычно используются диполь и патч; см. Рисунок 1 .
РИСУНОК 1. Общие типы антенн: (а) полуволновой диполь; (б) патч.
Диполь — это основной провод на половине длины волны, подключенный к центру. Патч обычно представляет собой медный квадрат половинной длины на печатной плате. Были использованы другие типы антенн. Расстояние между антенными элементами меняется в зависимости от конструкции, но обычно немного больше или меньше половины длины волны.
Запомните взаимосвязь между частотой (f) и длиной волны (λ):
f = 300 / λ
λ = 300 / f
Здесь λ в метрах, а f в МГц.
Например, частота 1296 МГц имеет длину волны:
λ = 300/1296 = 0,23 метра или 23 см
Половина длины волны:
λ / 2 = 11,5 см или около 4,5 дюймов
(ПРИМЕЧАНИЕ: 2,54 см на дюйм.)
Также имейте в виду, что длина антенны зависит от частоты работы.Половина длины волны обычно вычисляется с помощью выражения:
L = 492 / f
, где f — частота в МГц, а длина L в футах. Эту формулу также можно использовать, если L в метрах:
λ = 150 / f
Чем выше частота, тем меньше антенна. На более низких частотах антенны слишком велики, чтобы их можно было использовать. Например, на частоте 30 МГц половина длины волны составляет около 16,4 футов в длину. Множественный массив был бы огромным. Однако на частоте 5 ГГц или 5000 МГц половина длины волны составляет всего
.λ / 2 = 150/5000 = 0.03 метра или 1,18 дюйма
Массивы большего размера на высоких частотах меньше и практичнее.
Многие из новых сотовых систем 5G будут работать в миллиметровом диапазоне волн; 28 ГГц является примером. Только одна половина длины волны на этой частоте:
λ / 2 = 150/28000 = 0,00536 метра или 0,21 дюйма
Половина длины волны на 60 ГГц (популярный нелицензионный диапазон частот) составляет всего:
λ / 2 = 150/60000 = 0,0025 метра или примерно 0,1 дюйма
На этих частотах большие массивы могут быть упакованы в небольшом пространстве.Антенная решетка может быть даже достаточно маленькой, чтобы ее можно было интегрировать в полупроводниковый кристалл вместе с соответствующей схемой. Это переводится в фазированные решетки внутри смартфонов и другого портативного оборудования.
На рисунке 2a показана диаграмма направленности основного диполя. Его диаграмма, изображенная на фигуре 8, заставляет большую часть мощности излучаться в поперечном направлении от антенного элемента, а также в других направлениях, за исключением тех, которые находятся на концах антенных элементов. При использовании нескольких антенн в решетке диаграмма направленности может быть сформирована в виде более узкого луча, как показано на , рис. 2b, .Эта диаграмма или лепесток состоит из множества сигналов от множества антенн в решетке. Сигналы сфокусированы, что делает их сильнее и позволяет направить луч в нужном направлении.
РИСУНОК 2. Диаграммы направленности диполя (a) и пятна (b).
Определение фазированной решетки
Фазированная антенная решетка — это две или более антенны, используемые вместе для обеспечения некоторых желаемых характеристик или функций, недоступных для одной антенны. Массив обычно представляет собой набор из нескольких антенн, расположенных в виде матрицы строк и столбцов или какой-либо другой схемы.
На рис. 3 показан пример использования 16 квадратных патч-антенн на печатной плате. Антенны в матрице питаются индивидуально, но вместе они работают вместе как одна антенна. На задней стороне печатной платы есть медная объединительная панель, которая действует как отражатель. Линии подачи не показаны.
РИСУНОК 3. Массив из 16 патчей на печатной плате. Задняя часть платы представляет собой сплошную медную объединительную панель, которая служит отражателем. Линии подачи не показаны.
Вся идея фазированной решетки заключается в достижении некоторых необходимых функций.Вот эти ключевые особенности:
- Gain — усиление похоже на усиление. Некоторые типы антенн повышают уровень сигнала или эффективную излучаемую мощность (ERP), как если бы использовалась большая мощность сигнала. Усиление применяется как к передаче, так и к приему.
- Направленность — Направленность подразумевает, что антенна более эффективна в том или ином направлении. Направленность означает, что сигнал узко сфокусирован в одном направлении. Эта фокусировка сигнала и создает усиление антенны. На рис. 2 показана диаграмма направленности стандартного диполя и диаграмма направленности (или лепестка) фазированной решетки.
- Минимизация помех — Направление антенны в определенном направлении означает, что она менее эффективна в других направлениях. Эта функция помогает устранить или уменьшить помехи для сигналов, поступающих с других направлений. Для исключения нежелательных сигналов могут быть созданы нулевые значения.
- Steerable — Фазированные решетки можно отрегулировать для изменения положения лепестка на лету.Направление сигнала можно изменить электронным способом для оптимизации усиления. Это позволяет им сканировать по горизонтали и / или по вертикали.
Работа с фазированной решеткой
Фазированные массивы реализуют то, что мы называем формированием луча. Это делается путем взятия диаграмм направленности каждой из антенн в решетке и их сложения таким образом, чтобы они концентрировали энергию в узком луче или лепестке. Считается, что сигналы отдельных антенн создают взаимные помехи либо конструктивно, либо деструктивно.Некоторые сигналы объединяются, чтобы сформировать более сильный композитный сигнал, в то время как другие частично компенсируют друг друга.
Передаваемый радиосигнал представляет собой синусоидальную волну. Когда вы алгебраически складываете две синусоидальные волны одной и той же частоты, но с разными фазами, вы получаете еще одну синусоидальную волну той же частоты, но с другой амплитудой и фазой. Управляя фазой и амплитудой сигнала на каждой антенне, составной луч можно изменять как по ширине, так и по длине (уровню мощности). Кроме того, луч можно направить в нужном направлении.
Есть несколько способов реализовать фазированную решетку. Более старый аналоговый метод показан на рис. 4 . РЧ-сигнал от усилителя мощности передатчика (УМ) отправляется на делитель мощности, который разделяет РЧ-сигнал на равные количества сигнала, создавая несколько путей к антеннам. Сигналы проходят через аттенюаторы и фазовращатели, которые позволяют индивидуально регулировать уровень и фазу сигнала для каждого антенного элемента.
РИСУНОК 4. Оригинальный подход к реализации массива с отдельными схемами.Приращения фазы выбираются для создания лепестка желаемой ширины и точки в желаемом направлении.
Фазовращатели вводят короткую задержку, которую можно изменять. Эти фазовращатели и аттенюаторы можно регулировать электронно, чтобы можно было быстро вносить изменения по мере необходимости.
На рисунке 4 показано, как фазовращатели влияют на составной сигнал. Красная кривая представляет собой волновой фронт от каждой антенны. Без задержки на верхней антенне и равных инкрементных задержек на нижних элементах вы можете видеть, что задержанные волны возникают дальше по времени вправо.Затем они объединяются, чтобы создать составной волновой фронт, который смещен вверх под углом.
В этом более старом методе использовались отдельные аттенюаторы, фазовращатели и другие компоненты. Новый подход — модульный. То есть антенный элемент и соответствующие усилители передачи и приема, переключатели, аттенюаторы и переключатели упакованы вместе как модуль; см. Рисунок 5 . В режиме передачи сигнал от трансивера проходит через аттенюатор, фазовращатель и переключатель T / R на усилитель мощности, а затем на антенну.
РИСУНОК 5. Модульный подход к созданию корпусов с фазированной решеткой со всеми компонентами на одном кристалле. Аттенюаторы и фазовращатели изменяются электронным способом с помощью внешнего микроконтроллера, который запрограммирован на реализацию желаемой ширины и направления луча.
В режиме приема сигнал от антенны проходит через переключатель T / R на малошумящий усилитель и через фазовращатель и аттенюатор в приемную часть трансивера.
Эти модули могут быть упакованы вместе в виде массива по мере необходимости. Сегодня полупроводниковая технология позволяет разместить один или несколько модулей на одном полупроводниковом кристалле.
Хорошим примером коммерческого продукта, доступного для реализации фазированных решеток, является семейство фронтальных модулей с фазированной антенной решеткой миллиметрового диапазона миллиметрового диапазона волн Anokiwave. AWMF-0139 работает в диапазоне от 24 до 26 ГГц, выделенном для будущих сотовых сетей 5G. Он инкапсулирует четыре модуля на одну ИС. Рисунок 6 показывает, как 64 из этих микросхем могут быть использованы для создания массива 4 x 64 = 256 элементов.Еще одна похожая ИС — Analog Devices ADAR1000.
РИСУНОК 6. ИМС Anokiwave AWMF-0139 содержит четыре антенных модуля. Эти микросхемы устанавливаются на задней стороне печатной платы, а патч-матрица — на передней.
MIMO
Фазированные антенные решетки также могут использоваться для множественных входов и выходов (MIMO). MIMO — это метод, который передает одни и те же данные с помощью нескольких антенн по одному и тому же пути в одной и той же полосе пропускания. Это делает две вещи.
Во-первых, каждый сигнал направляется к приемным антеннам по разному.Результат — меньшее затухание и большая надежность данных. Во-вторых, MIMO умножает скорость передачи данных на коэффициент, который определяется количеством передающих и приемных антенн. Общие конфигурации: 2 x 2, 4 x 2, 4 x 4 и 8 x 8, где первое число — это количество передающих антенн, а второе число — количество приемных антенн.
Многоэлементную фазированную решетку можно разделить на секции, что делает ее пригодной для некоторых приложений MIMO. Например, массив из 256 элементов может быть скомпонован так, чтобы обеспечить четыре массива из 64 элементов или шестнадцать массивов из 16 элементов.Благодаря возможности управления лучом путь прохождения сигнала может быть оптимизирован для достижения наилучших характеристик.
Кроме того, сотовые радиостанции 5G, работающие в миллиметровом диапазоне волн, будут использовать MIMO для обеспечения гигабитных скоростей передачи данных. Серьезным препятствием является установка фазированной антенной решетки в телефонную трубку смартфона. Первоначально будут использоваться две антенны, позже их количество будет увеличено до четырех. MIMO также широко используется в маршрутизаторах Wi-Fi. NV
Микроволны101 | Антенны с фазированной решеткой
Новое в сентябре 2018 г .: вот страница о цилиндрических фазированных решетках
Новинка декабря 2017 г .: вот наконечник фазированной решетки от Colin!
Щелкните здесь, чтобы перейти на нашу страницу, посвященную AESAs
Щелкните здесь, чтобы перейти на нашу страницу о PESA
Щелкните здесь, чтобы перейти на нашу страницу о модулях T / R
Щелкните здесь, чтобы перейти на страницу, посвященную устройствам с выдержкой времени (TDU)
Щелкните здесь, чтобы перейти на нашу страницу решетчатых лепестков
Щелкните здесь, чтобы перейти на нашу страницу расчета ошибок RMS
Щелкните здесь, чтобы перейти на нашу главную страницу об антеннах
Щелкните здесь, чтобы перейти на нашу главную страницу, посвященную фазовращателям
Щелкните здесь, чтобы перейти на нашу страницу о сегнетоэлектрических фазовращателях
Перейдите на нашу страницу загрузки и получите таблицу фазовой решетки!
Ознакомьтесь с практическим правилом увеличения диафрагмы внизу этой страницы!
Фазированные решетки — это полная противоположность «убийцам карьеры» микроволновки.Большая часть материала на этой странице предоставлена Арне Люкером, другом Microwaves101! За двумя отличными учебниками по фазированным решеткам перейдите на страницу нашей книги и возьмите копию книг Стимсона или Сколника.
Применение фазированных решеток
Фазированные антенные решетки могут быть электрически управляемыми, что означает, что физическая антенна может быть стационарной. Эта концепция может устранить все проблемы, связанные с подвесом в радиолокационной системе. Он может удерживать антенну на спутнике, когда антенна установлена на движущейся платформе.Это то, что позволяет спутнику направлять свой луч вокруг вашего континента, не сталкиваясь с «небольшой проблемой», связанной с попыткой указать объекты в космосе, где каждое движение потребует равной и противоположной массы для перемещения, чтобы спутник оставался стабильным. . Приемник с фазированной решеткой можно установить заподлицо на верхней части фюзеляжа коммерческого самолета, чтобы все счастливые пассажиры могли принимать спутниковое телевидение!
Вы можете быть удивлены, узнав, что изобретателем фазированной решетки был Карл Фердинанд Браун, примерно в 1905 году, для междугородной радиосвязи Маркони и Браун.Вот пример ранней тестовой группы L-диапазона, разработанной Sperry Rand и оцененной лабораторией Линкольна Массачусетского технологического института в начале 1960-х годов. Забегая вперед во времени, на фотографии рядом с ним изображена хорошо известная фазированная антенная решетка для ракеты «Патриот». Что означает аббревиатура «Патриот»? Трек с фазированной решеткой на перехват цели. Он заменил «Самонаводящийся универсальный убийца» или ракету «Ястреб». Есть некоторые мелочи, которые вы не узнаете в Википедии !!!
Радар Патриот, изображение из Википедии.com
Пока существует не так много потребительских применений фазированных массивов, за исключением некоторых новых маршрутизаторов WiFi. Это связано с тем, что они могут быть довольно дорогими из-за необходимости во многих микроволновых фазовращателях и их управляющих сигналах. Помимо затрат на фазовращатель, фазированным решеткам обычно требуется малошумящий усилитель на каждом элементе для приема и усилитель мощности на каждом элементе для сигнала передачи. Одним из развивающихся потребительских рынков фазовых решеток является спутниковое телевидение для транспортных средств, таких как дома на колесах.За пару тысяч долларов ваши дети теперь могут смотреть восемь каналов Disney, пока вы путешествуете по раскрашенной пустыне в своем Виннебаго. Жизнь хороша, особенно если она появляется на маленьком экране! Конечно, основной движущей силой всех достижений в области потребительских технологий является порнография. В этом случае теперь вы и ваша подруга можете смотреть фильмы с оплатой за просмотр на канале Playboy, не выходя из своего транспортного средства для отдыха!
Физика фазированных решеток такова, что антенна является двунаправленной, то есть они обеспечивают одинаковую управляемую диаграмму направленности как при передаче, так и при приеме.Во многих приложениях необходимы как передающие, так и приемные системы; решение этой проблемы известно как модуль приема / передачи (модуль T / R), который будет предметом обсуждения в другой день.
Свойства фазированной антенной решетки
Принцип фазированной решетки заключается в синтезе заданного электрического поля (фазы и амплитуды) через апертуру. Результирующий луч аппроксимирует преобразование Фурье распределения электрического поля. Отдельные антенны часто находятся на расстоянии около половины длины волны друг от друга.Разумеется, в разреженных массивах расстояние между элементами намного больше, но их поведение и полезность, вероятно, выходят за рамки того, что вы хотите здесь изучить.
Добавление сдвига фазы к сигналу, принимаемому или передаваемому каждой антенной в решетке антенн, позволяет коллективному сигналу этих отдельных антенн действовать как сигнал одной антенны с характеристиками, значительно отличающимися от характеристик отдельных антенн в решетке. Вот список, иллюстрирующий некоторые результаты размещения множества антенн.
- Power: Собранный сигнал представляет собой комбинированный сигнал всех отдельных антенн, поэтому он сильнее.
- Beam Shaping: диаграмма направленности комбинированных антенн может быть намного уже, чем у любой из отдельных антенн.
- Управление лучом: направление максимальной чувствительности коллективной антенны можно изменить без механического изменения положения отдельных антенн. Для массива с электронно регулируемыми фазовращателями вы можете переключать положение луча так же быстро, как вы можете переключать фазовые сдвиги.Большие антенны движутся довольно медленно.
- Надежность: в случае одиночной антенны, если система позиционирования выйдет из строя, вы не сможете указать ни на что, кроме как на линию прямой видимости антенны. Для антенной решетки, если одна антенна выходит из строя, все остальные продолжают функционировать, а коллективная диаграмма направленности немного изменяется (это называется постепенной деградацией).
- Вес: для бортовых применений вес фазированной антенной решетки меньше, чем у сопоставимой быстроуправляемой одиночной антенны на карданном подвесе.
- Стоимость: очень большую антенну с механическим управлением можно заменить набором менее дорогих антенн меньшего размера без потери разрешения (хотя один криогенный приемник может стоить меньше, чем набор криогенных приемников), но сравнение затрат затруднено без подробного рассмотрения. Системные Требования.
- Multiple Beams: Используя широкий диапазон управления, обеспечиваемый фазовращателями, вы можете синтезировать характеристики нескольких лучей, если хотите.
- Цифровой или микшерный вариант: вы действительно можете обойтись без аналоговых фазовращателей, преобразовав его с понижением в базовую полосу, а затем фильтруя и сдвигая сигнал в цифровом виде.С другой стороны, вы можете сместить фазу сигнала IF или LO вместо сигнала RF. В цифровом режиме или режиме работы ПЧ / гетеродина сложность и стоимость отдельных приемников возрастают, поскольку вам необходимо распределять сигнал гетеродина на каждую антенну. Я не уверен, что для больших массивов оно того стоит, но некоторые автомобильные радары сканируют по частоте.
Но, как всегда, даром ничего не дается.
- Угол сканирования: если цель находится низко над горизонтом, механическая антенна наклоняется, и вся апертура улавливает сигнал.Когда вы увеличиваете фазированную решетку так, чтобы она указывала в этом направлении, физическая конфигурация апертуры (скажем, параллельна земле) не меняется, но эффективная собирающая площадь апертуры уменьшается. Если цель находится на горизонте, массив направлен к цели ребром и улавливает очень слабый сигнал. С другой стороны, концепция фазированной решетки позволяет размещать антенные элементы на изогнутой поверхности, например куполе, но, как обычно, необходимо оценить компромиссы, прежде чем продолжить.
- Полоса пропускания: Большинство фазовращателей предназначены для обеспечения постоянного фазового сдвига в диапазоне частот. Гадкий секрет в том, что мы приближали задержку сигнала к фазовому сдвигу сигнала. Задержанный сигнал имеет линейный сдвиг фазы с частотой. Для сигналов с широкой мгновенной полосой пропускания и фазированной решетки, настроенной на узкую ширину луча, луч с управляемым фазовым сдвигом будет изменять свое направление наведения с частотой (косоглазие). Этого может быть достаточно, чтобы полностью отвести луч от цели, что приведет к значительному снижению собираемого сигнала.Не все так плохо. Вы можете использовать это свойство для сканирования луча путем сканирования частоты.
Фазовый сдвиг для выстраивания волн перед объединением равен 2π (d / λ) sinθ, где d — расстояние между элементами решетки, λ — длина волны, а θ — направление угла наведения. Обратите внимание, что он основан на частотно-зависимом параметре — длине волны. Если вместо этого вы используете задержку для наведения луча, необходимая задержка будет (d / c) sinθ, где c — скорость света (распространение). Обратите внимание, что шаблон теперь не зависит от частоты.
- Взаимная связь: Еще одно приближение, которое мы использовали, заключается в том, что каждая отдельная антенна работает одинаково, даже когда она окружена другими антеннами. К сожалению, это не случай. Конструкцию необходимо изменить, чтобы уменьшить влияние взаимной связи.
Определения и сокращения
Сначала давайте определим несколько терминов и сокращений (которые мы также добавим в словарь сокращений Microwaves101):
ESA: решетка с электронным управлением (в отличие от решетки с механическим управлением или MSA)
AESA: решетка с электронным управлением
CPA: цилиндрическая фазированная решетка
PESA: пассивная решетка с электронным управлением
AOA: угол прихода, также известный как угол обзора
ULA: однородный линейный массив
UCA: однородный круговой массив
UGA: единый сеточный массив
TDU: блок временной задержки
Как проектировать системы с фазированной решеткой
Наши друзья из Keysight Technologies загрузили видео по этой теме на свою страницу YouTube.
В этом видео рассказывается о наиболее важных аспектах проектирования систем с фазированной антенной решеткой, особенно популярных для предлагаемых архитектур 5G. Он начинается с основ проектирования фазированных решеток, а затем охватывает четыре ключевых параметра архитектуры фазированных решеток. Затем на примере показано, как шаблон дальнего поля влияет на общую производительность системы, и какие факторы влияют на этот шаблон в дальней зоне в процессе проектирования.
Др.Мурти Упмака из Keysight объясняет, как проектировать системы с фазированной решеткой
Антенны для фазированных решеток
Фазовращатели в основном используются в антеннах с фазированными решетками (радиолокационные системы), но теперь и в некоторых автомобильных радарах. Стоит немного отступить, чтобы поближе познакомиться с антенной.
Антенну следует рассматривать как согласующую сеть, которая принимает мощность от линии передачи (например, сопротивление 50 Ом) и согласовывает ее с «импедансом» свободного пространства 377 Ом.Наиболее важным параметром является изменение КСВН (коэффициента стоячей волны напряжения) с частотой. Схема обычно не сильно меняется до начала неприемлемого КСВ (> 2: 1). Для данного физического геометрического размера антенны фактическая диаграмма направленности зависит от частоты.
Диаграмма направленности антенны, изображенная на рисунке 1, предназначена для диполя. Максимальное усиление нормализовано к внешней стороне полярного графика, а основные деления соответствуют изменению на 10 дБ. В этом примере длина диполя (в длинах волн) варьируется, но тот же результат может быть получен путем изменения частоты с фиксированной длиной диполя.Из рисунка видно, что боковые лепестки начинают формироваться при 1,25, а боковой лепесток на самом деле имеет большее усиление, чем главный луч при 1,5. Поскольку диаграмма направленности изменяется с изменением частоты, изменяется и усиление.
Рисунок 1. Частотные эффекты
Эффекты массива
На рисунке 2 показаны эффекты фазы / решетки, которые представляют собой еще один метод получения различных диаграмм направленности. На рисунке параллельные диполи видны с торца. Можно видеть, что изменение фазы двух передач может вызвать изменение направления диаграммы направленности.Это концепция фазированных антенных решеток. Вместо того, чтобы иметь систему, которая механически перемещает направление антенны в пространстве, фаза излучающих компонентов изменяется электронным способом, создавая движущуюся диаграмму без движущихся частей. Также видно, что увеличение количества элементов дополнительно увеличивает направленность массива. В массиве диаграмма действительно сильно зависит от частоты из-за расстояния между элементами (измеряемого в длинах волн) и частотной чувствительности схем фазового сдвига.
Примечание: у нас был ряд комментариев по поводу очевидной ошибки на этом рисунке. Вместо того, чтобы исправлять фигуру, мы расскажем, что с ней не так, по словам Тома:
.«Я смотрел раздел под названием» Фазированные антенные решетки «и заметил возможную ошибку со средним рисунком на рис. 2. Диаграмма направленности, показанная для антенн, разнесенных на 1/2 волны и подаваемых на 90 градусов не по фазе, на самом деле является диаграммой направленности Антенны, разнесенные на 1/4 волны, подавались на 90 градусов не по фазе.
Критической переменной, не включенной в раздел «Антенны с фазированной решеткой», было влияние разнесения антенн на диаграмму направленности решетки. Учитывая ULA (однородный линейный массив), в поперечном режиме шаблон всегда симметричен (в форме цифры 8) для любого расстояния между элементами. Расстояния, кратные 1/4 длины волны, также симметричны в направлении конечного пламени. Расстояния с нечетными интервалами в 1/4 длины волны асимметричны в режиме торцевого пламени, постепенно становясь симметричными по мере того, как фазировка элемента поворачивает луч вокруг в поперечном режиме. «
От другого антенного парня Джастина:
« Он прав. Эта цифра неверна:
k * d = pi для шага полуволны
Чтобы направить массив с разнесением полуволн до конца, вам необходим сдвиг фазы на 180:
необходимый фазовый сдвиг = k * d sin (theta) = pi * sin (90) = pi = 180 градусов
Эти парни из НАСА не умеют приседать! »
(Первоначальная цифра была получена из НАСА…)
Рис. 2. Эффекты фазы / решетки
Линейную фазированную решетку с одинаковыми разнесенными элементами легче всего анализировать, и она составляет основу большинства конструкций решеток. На рисунке 3 схематично показан линейный массив корпоративных каналов с шагом d элементов. Он самый простой и до сих пор широко используется. Управляя фазой и амплитудой возбуждения каждого элемента, как показано, мы можем управлять направлением и формой луча, излучаемого решеткой.Фазовое возбуждение (n) управляет углом наведения луча 0 в фазированной решетке. Для получения поперечного луча, 0 = 0, требуется фазовое возбуждение, = 0. Для других углов сканирования требуется возбуждение, (n) = nkd sin (0), для элемента n th , где k — волновое число ( 2 /). Таким образом, линейная фазированная решетка может излучать луч в любом направлении сканирования, 0 при условии, что диаграмма элементов имеет достаточную ширину луча. Амплитудное возбуждение A n можно использовать для управления формой луча и уровнями боковых лепестков.Часто амплитуда возбуждения сужается аналогично тому, как это используется для апертурных антенн, чтобы уменьшить уровни боковых лепестков. Одна из проблем, которые могут возникнуть с фазированной антенной решеткой, — недостаточная ширина полосы, поскольку фазовый сдвиг обычно не достигается за счет введения дополнительной длины пути. Однако следует отметить, что в широком смысле корпоративный канал имеет одинаковую длину пути и хорошую полосу пропускания для этого угла сканирования.
Рисунок 3.ФАР корпоративного питания
Алмаз против квадратной решетки
Скоро в продаже!
Как избежать решетчатых лепестков
Теперь у нас есть отдельная страница, посвященная лепесткам решетки, расположенная здесь. С прикольными картинками!
Лепесток решетки возникает, когда вы слишком далеко поворачиваете с фазированной решеткой, и главный луч снова появляется не с той стороны. Элементы должны быть расположены правильно, чтобы избежать появления решетчатых лепестков. Уравнение максимального интервала является функцией рабочей длины волны и максимального угла обзора:
Таким образом, для угла обзора 30 градусов dmax составляет (2/3) xlambda, а для угла обзора 60 градусов dmax равно 0.54 лямбда.
Расчет усиления антенны в фазированной решетке
Коэффициент усиления в фазированной решетке зависит как от усиления отдельного элемента, так и от количества элементов. Коэффициент увеличения диафрагмы рассчитывается по формуле:
Вот эмпирическое правило Microwaves101, предоставленное Гленном:
Количество элементов, необходимых в фазированной антенной решетке с электронным сканированием, можно оценить по коэффициенту усиления, который она должна обеспечивать. Для массива с усилением 30 дБ требуется около 1000 элементов, а для массива с усилением 20 дБ — около 100.
Коэффициент усиления отдельных элементов зависит от того, какой радиатор используется. Это тот случай, когда вы не хотите, чтобы элемент имел слишком большое усиление, потому что вся идея фазированной решетки заключается в том, что вы хотите максимизировать объем сканирования; вы не хотите, чтобы коэффициент усиления системы быстро падал при удалении от борта из-за структуры элементов. На практике большинство излучателей, используемых в фазированных решетках, обеспечивают усиление около шести дБ.
Итак, что происходит при сканировании вне поля зрения? Коэффициент усиления падает как косинус угла.Таким образом, при 60 градусах вы получаете половину усиления в поперечном направлении, а когда вы доходите до состояния конца стрельбы, усиление снижается до нуля. Это единственная проблема с фазированными массивами, которая может заставить вас пересмотреть подход с подвесом. Чтобы получить полный охват на 360 градусов, обычно требуется четыре фазированных решетки, вы можете сделать это с помощью одной вращающейся антенны.
Блоки задержки времени (TDU)
TDU используются на уровне подматрицы в фазовой решетке, чтобы улучшить работу массива по частоте. Временная задержка необходима для того, чтобы все фазовые центры были примерно равны фазовой длине приемника или возбудителя, в противном случае луч будет искажаться по частоте.Ознакомьтесь с TDU здесь.
Узнайте, когда использовать TDU по сравнению с фазовращателями.
ФАР 60 ГГц за 10
долл. СШАФазированная антенная решетка 60 ГГц за 10 долларов
В 2018 году я выступал на Hackaday Supercon с докладом, который по сути представлял собой Phased Arrays 101. Вы можете посмотреть его внизу этого поста.
В конце этого выступления я упомянул, что ищу сотрудников для разработки небольшой недорогой фазированной антенной решетки с использованием действительно уникального чипа, который я нашел.Этим чипом был SB9210 от SiBeam. Эта часть изначально предназначалась для использования в WirelessHD, протоколе беспроводной потоковой передачи видео, который так и не стал популярным. Причина, по которой эта деталь такая крутая, заключается в том, что она представляет собой целую фазированную решетку на частоте 60 ГГц на кристалле, включая антенны, с возможностью передачи и приема. Покупался прямо у производителя по цене 15 долларов в разовых количествах.
А теперь плохие новости: SiBeam был куплен Lattice Semiconductor, и прямо перед тем, как я выступил с этим докладом, Lattice закрыл всю организацию SiBeam и прекратил поддержку и производство этой части.Я узнал об этом только через несколько месяцев, когда связался с инженерами по продажам, с которыми я разговаривал по этой части, и они рассказали мне, что произошло.
Но есть и хорошие новости. Вы все еще можете купить SB9210, если знаете, где искать. Хотя они больше не производятся, когда-то они были включены в некоторые смарт-телевизоры и некоторые ноутбуки высокого класса. Если вы знаете правильные загадочные буквы для ввода на ebay, вы можете найти сменные платы для тех ноутбуков, которые содержат чип, а также вспомогательную схему.По сути, это доска для разработки! Я видел, как цена на них снижается до 6 долларов за штуку, и нередко можно найти их по 10 долларов. Вопрос в том, как с ними разговаривать.
Дочерняя плата для портативных компьютеров WirelessHD с SB9210 (это очень маленькие патч-антенны!)В этих микросхемах используется что-то вроде шины QSPI для установки регистров управления и перемещения данных на микросхему и обратно. Несмотря на то, что я искал несколько месяцев, мне так и не удалось найти техническое описание SB9210. Информация, которую я, , смог узнать, взята из таблиц данных для более поздних версий версий SB9210, Sil6310.Перед тем, как SiBeam был закрыт, я смог получить полные спецификации для этой и еще одной детали из того же семейства от их инженеров. Эти листы данных требовали NDA, которое я подписал со своей компанией. Несмотря на то, что SiBeam отключен, Lattice все еще существует, и пока я не получу от них разрешения, я не могу поделиться этими таблицами данных NDA. Я надеюсь, что последовательный интерфейс на более поздних версиях микросхемы достаточно близок к SB9210, чтобы драйвер мог быть написан с использованием документации от Sil6310.Мне удалось найти только SB9210 на ebay, но не Sil6310.
Может быть другой способ перепроектировать интерфейс связи с этим чипом. SB9210 — это радиочастотный интерфейс, и есть сопутствующий чип, который им управляет (также произведенный SiBeam). Обнюхивая следы между этими двумя ИС, можно было бы выяснить, какие команды используются для настройки и отключения передатчика, отправки данных для передачи и приема данных. Я считаю, что на SB9210 отправляются только образцы I и Q.
Это плата, которая подключается к кабелю, идущему от платы внешнего интерфейса RF. Этот большой чип — контроллер SiBeam для внешнего интерфейса. Итак, вот как найти эти детали: выполните поиск по любому из этих условий на ebay, чтобы получить SB9210 (чип внешнего интерфейса RF):
J4DFM
с передатчиком
0j4dfm
передатчик m14x
передатчик m17x
передатчик m18x
039pkf
39pkf
6YC1 4VWVN
m18xr2
m17xr4
kvr0y
5ht44
208-1a
b71
0ywxt1
ywxt1
wp6px
Чтобы найти сопутствующий чип / контроллер, выполните поиск по:
WirelessHD WiHD Transmitter Card
CHA01
5HT44
Если вы ищете «wirelessHD», вы также можете иногда найти продукты для создания беспроводного соединения HDMI, и они будут иметь полную реализацию этой части, которая также может быть полезна для анализа / обратного проектирования.Я знаю, что в альянсе WirelessHD были и другие компании, поэтому не уверен, есть ли конкурирующие чипы. Пока что я видел только одну семью от SiBeam.
Что было бы действительно круто, так это построить плату USB, которая подключается к одной из плат SB9210 и подключается к gnuradio. Вы можете проводить всевозможные аккуратные радиолокационные эксперименты, обнаружение присутствия, формирование луча и т. Д. Вроде как RTL-SDR на 60 ГГц.
Хотя я не могу отказаться от имеющихся у меня таблиц данных о неразглашении информации, есть много общедоступных материалов, если вы внимательно присмотритесь.По ссылкам ниже я нашел кое-что из того, что я нашел в Google. Если вы хотите помочь с этим, или если у вас есть какая-либо информация о SB9210, дайте мне знать! hunter на hscott.net или @hunterscott в твиттере.
Несколько человек прислали мне электронные письма с вопросами о том, как они могут помочь в этом проекте, и это действительно захватывающе. Я запустил сервер Discord и приглашаю всех, чтобы мы все вместе могли поделиться тем, что узнали. Вот он:
https://discord.gg/PwMK82a
Если вам это показалось интересным и вы хотите узнать больше о проектировании электроники, посмотрите книгу, над которой я работал: проектирование электроники.com
Документы по испытаниям FCC для SB9210
Обновление : другие продукты, использующие это семейство компонентов (также известные как неисправные продукты, в которых использовался WirelessHD:
W2H
Acer MWiHD1 -> https://fccid.io/HLZMWIT1/Internal-Photos/Internal-Photos-2532935
AzureWave WH064T -> https://fccid.io/TLZ-WH064T/User-Manual/User-manual -2042485
Другие продукты через fccid.io -> https://www.google.com/search?client=firefox-b-d&q=site%3Afccid.io+wirelesshd
2-фазная вертикальная решетка 40 м
На прошлой неделе я построил вертикальную базуку на 40 м (см. Ссылку здесь) с хорошими результатами.
Это вдохновило меня на создание второго и реализацию двухфазной системы с вертикальными решетками.
Я выбрал для системы фазирования Christman: просто и легко построить
Теперь, практически … просто, да … но …
Здесь я расскажу, как сделал: наверное, есть методы получше. Я далек от того, чтобы быть особенным!
Первое: начало сборки двух одинаковых вертикальных антенн базуки
- Центральная частота: 7,050 МГц
- Радиалы: система из 4 приподнятых радиалов на высоте 2 м над землей
- Коаксиальный кабель, из которого построены антенны: б / у h200
- Верхний удлинитель антенны (часть C на рисунке ниже): Обрыв 300 Ом на обоих концах закорочен
- Измеренный коэффициент скорости коаксиального кабеля (*): 0.82
(*) Не слишком доверяйте данному скоростному коэффициенту коаксиальных кабелей, которые у вас есть: мудрый человек проверит его с помощью антенного анализатора (я использую MFJ 259-B), иногда результаты очень удивительны. со старыми кабелями, проложенными в лачуге годами, или мало окисленными, или часто дешевыми кабелями, поставляемыми «экзотическими производителями».
Я использовал формулы, приведенные на странице о вертикальной базуке:
А = (230 / F) * 0.305 (метры) = (230 / 7,050) * 0,305 = 9,95 м
B = A * Vf = 9,95 * 0,82 = 8,16 м
C = (A — B) = 1,79 м
S = +/- 10 см (не критично)
R = A * 1,05 = 9,95 * 1,05 = 10,45 м
Обе антенны были изготовлены одинаково, смонтированы вдоль рыболовных корней из стекловолокна и установлены на высоте примерно 2 м над землей.
КСВ обеих антенн не превышал 1,2: 1 на всем диапазоне 40 м.
Фазирующие линии … другая история ….
λ / 4 = 75 / 7,05 = 10,638 м
90 ° = 10,638
1 ° = 1,638 / 90
84 ° = (10,638 / 90) * 84 = 9,93 м
71 ° = (10,638 / 90) * 71 = 8,39 м
Частота λ / 4 = 9,93 м => 7,54 МГц
Частота λ / 4 = 8,39 => 8,94 МГц
Vel.fact коаксиальный кабель. = 0,65
Длина патрубка 84 ° = 9,93 м * 0,65 = 6,45 м
Длина патрубка 71 ° = 8,39 м * 0,65 = 5,45 м
Теперь я отрезал куски коаксиального кабеля немного длиннее, чем упоминалось, я установил соединитель с одной стороны, а другую оставил открытой и определил с помощью MFJ-259B правильную длину четверти волны.Вы должны найти провал и значение X = 0 или близкое к 0.
Чтобы быть уверенным: я проверил на соответствующих частотах, где моя длина коаксиального кабеля реагирует как 3 или 5 четвертьволны, я заметил, что значения X = 0 более выражены на более высоких частотах.
Пример: если ваш провал составляет около 6,58 МГц и показывает X = 1 или 2, я пробую 19,7 МГц (6,58 X 3): и я проверяю, если X = 0 на этой частоте, при необходимости отрегулируйте заново. Повторите эти меры несколько раз, прежде чем вставлять коаксиал.
Работа на более высоких частотах позволяет работать точнее.
После того, как коаксиальные компоненты были готовы, я смонтировал фазирующие линии и использовал коаксиальное реле, я не использовал реле K1, как показано на рисунке.
Последние отзывы:
Ваши лучшие враги:
разъемы «Т» SO-239 (особенно дешевые от «экзотических» производств).
разъемы PL-259, пожалуйста, используйте профессиональное качество (например, амфенол),
неправильный метод сборки разъемов.
Вкратце: насколько сложнее, насколько больше нужно собрать «по последнему слову техники».
Меры:
Измеренный КСВ фазировки в обоих направлениях не превышает 1,3: 1 на всем диапазоне.
Практические результаты:
Наблюдается сильный эффект направленности и хорошее соотношение сторон и цветов.
Смотрите это демонстрационное видео здесь
Я успешно установил связь со станциями США, используя только 50W SSB. Не так уж и плохо ….
Формирование луча любительского радио с помощью фазированных решеток
K9CT 80 метров четыре квадратаФазирование антенны используется для формирования луча любительского радио и прослушивания коротких волн, особенно на нижних диапазонах, где использование обычных лучей невозможно.
Большинство радиолюбителей используют антенны Яги для формирования луча на более высоких частотах. Яги отличаются от фазированных решеток. В Яги управляется только один элемент. Остальные элементы — паразиты, которые повторно излучают управляемый сигнал в разных фазах.В настоящей фазированной решетке все элементы приводятся в действие непосредственно на разных фазах.
На более низких частотах невозможно использовать Яги из-за требований к размеру и высоте. Вместо этого радиолюбители используют формирование луча. Типичное решение — четырехугольный массив, показанный выше. С их помощью оператор устанавливает четыре монополя с высотой длины волны λ / 4 и расстоянием между ними. Каждый монополь подключен к линии передачи переменной длины, которая вводит шаблоны в зависимости от выбора. В качестве альтернативы используется общая согласующая сеть RF, которая обеспечивает задержки -90 ° и + 90 °, и реле используются для настройки каждого элемента.
С помощью Four Square оператор может выбрать переключаемое формирование луча в четырех или восьми направлениях.
Ham Radio Beamforming — отлично подходит для прослушивания
Средневолновые DXеры Avid всегда в восторге от «фазирования». Они будут использовать направленные петли и фазирующие устройства для формирования луча в разных направлениях. Пространственная фильтрация создает очень узкие диаграммы направленности. С их помощью слушатели средних волн могут настраиваться на несколько разных станций на одной и той же частоте, если они не расположены рядом.
Вот отличный пример трансатлантического средневолнового DX, полученного путем просто исчезновения ближайшей AM-станции. Вы можете использовать формирование луча с совершенно разными типами антенных элементов, как показано в этом видео.
Многие коротковолновые слушатели и радиолюбители используют формирование луча с помощью небольших активных антенн. Например, DX Engineering Receive Four Square действительно хорошо работает для направленного прослушивания в широком диапазоне частот.
Даже если вы не можете получить идеальный дизайн, некоторая базовая фазировка двух или более антенн даст полезные эффекты направленности.Это метод, который мы уже опробовали с помощью «шумоподавителей». Теперь у нас есть возможность вывести методы фильтрации пространственных помех на новый уровень.
СвязанныеКак упростить конструкцию антенны? ИС с формированием луча с фазированной решеткой может вам помочь — Производство печатных плат и сборка печатных плат — RayMing
Для повышения производительности радиолокационные системы и системы беспроводной связи все чаще требуют архитектуры антенн на печатных платах.Только те антенны, которые потребляют меньше энергии, чем обычные параболические антенны с механическим приводом, могут найти множество новых применений. Помимо этих требований, необходимо быстро перемещать новые угрозы или новых пользователей, передавать несколько потоков данных и продлевать срок службы по сверхнизкой цене. Некоторым приложениям необходимо противодействовать эффектам входного сигнала блокировки и уменьшать вероятность перехвата. Конструкции фазированных антенн, которые широко распространены в отрасли, позволяют решить эти проблемы.Передовая полупроводниковая технология использовалась для устранения недостатков фазированных антенных решеток в прошлом, чтобы в конечном итоге уменьшить размер, вес и мощность этих решений.
В этой статье будут кратко описаны преимущества существующих антенных решений и антенн с электронным управлением. Исходя из этого, в этой статье будет описано, как развитие полупроводниковой технологии может помочь в достижении цели по совершенствованию антенны SWaP-C с электронным управлением, а затем показано, как это можно сделать с помощью технологии ADI.
Введение
Радиоподсистемы, использующие антенны для передачи и приема сигналов, эксплуатируются более 100 лет. По мере того, как точность, эффективность и показатели более высокого уровня становятся все более важными, эти электронные системы будут продолжать совершенствоваться и улучшаться. В последние несколько лет параболические антенны широко использовались для передачи (Tx) и приема (Rx) сигналов, где решающее значение имеет направленность, и после многих лет оптимизации многие из этих систем имеют относительно низкую стоимость.запустить. Эти выпуклые антенны имеют роботизированный манипулятор для поворота направления излучения, и у них действительно есть некоторые недостатки, в том числе медленное управление, большой физический размер, плохая долговременная надежность и только одна диаграмма направленности или поток данных, отвечающий требованиям. В результате инженеры обратились к передовой технологии фазированных антенных решеток, чтобы улучшить эти функции и добавить новые функции.
В антеннах с фазированной решеткойиспользуется электрический рулевой механизм, который предлагает множество преимуществ по сравнению с традиционными механическими управляющими антеннами, например, небольшую высоту / малый размер, лучшую долгосрочную надежность, быстрое управление, множественные лучи и многое другое.Обладая этими преимуществами, фазированные решетки широко используются в оборонных приложениях, спутниковой связи и телекоммуникациях 5G, включая автомобильные сети.
Технология фазированных решетокФазированная антенная решетка — это набор собранных антенных элементов, в которых диаграмма направленности каждого элемента структурно объединена с диаграммой направленности соседней антенны для формирования эффективной диаграммы направленности, называемой главным лепестком. Главный лепесток излучает лучистую энергию в нужном месте, и в зависимости от конструкции антенна отвечает за деструктивные помехи сигналам в нежелательном направлении, формируя неэффективный сигнал и боковые лепестки.Антенная решетка предназначена для максимального увеличения энергии излучения основного лепестка при одновременном снижении энергии излучения бокового лепестка до приемлемого уровня. Направлением излучения можно управлять, изменяя фазу сигнала, подаваемого в каждый антенный элемент.
На рисунке 1 показано, как эффективный луч управляется в целевом направлении линейной решетки путем регулировки фазы сигнала в каждой антенне. В результате каждая антенна в решетке имеет независимую настройку фазы и амплитуды для формирования желаемой диаграммы направленности.Поскольку отсутствуют механические движущиеся части, легко понять свойства управления лучом в фазированной решетке.
Рис. 1. Базовая теоретическая схема электронных компонентов фазированной антенной решетки.
Регулировка фазы полупроводника на базе микросхемыможет быть выполнена за несколько наносекунд, поэтому мы можем изменить направление диаграммы направленности и быстро реагировать на новые угрозы или пользователей. Точно так же мы можем изменить луч излучения на эффективный ноль, чтобы поглотить сигнал источника помех, сделав объект невидимым, как в случае с самолетом-невидимкой.При изменении положения диаграммы направленности или переходе к эффективному нулю эти изменения могут быть выполнены почти сразу, потому что мы можем использовать устройство на основе ИС вместо механической части, чтобы электрически изменить настройку фазы. Еще одно преимущество фазированной антенной решетки перед механической антенной состоит в том, что она может излучать несколько лучей одновременно, тем самым отслеживая несколько целей или управляя пользовательскими данными для нескольких потоков данных. Это достигается путем цифровой обработки нескольких потоков данных на частотах основной полосы частот.
Типичная реализация решетки использует элементы патч-антенны, размещенные в строках и столбцах с равным интервалом в схеме 4 × 4, что означает, что всего имеется 16 компонентов. На рисунке 2 показана небольшая решетка 4 x 4, в которой патч-антенна является излучателем. В наземных радиолокационных системах такие антенные решетки могут становиться очень большими и содержать более 100 000 компонентов.
Рис. 2. Отображение диаграммы направленности матрицы компонентов 4 × 4.
При проектировании учитывается компромисс между размером решетки и мощностью каждого излучающего элемента, который влияет на направленность луча и эффективную излучаемую мощность.Рабочие характеристики антенны можно предсказать, изучив некоторые общие факторы качества. Обычно разработчики антенн обращают внимание на усиление антенны, эффективную направленную излучаемую мощность (EIRP) и Gt / Tn. Есть несколько основных уравнений, которые можно использовать для описания этих параметров, как показано в следующих уравнениях. Мы видим, что усиление антенны и EIRP пропорциональны количеству компонентов в решетке. Это может привести к созданию больших массивов, которые обычно используются в наземных радиолокационных системах.
из них:
N = количество компонентов
Ge = усиление компонента
Gt = линейное усиление
Pt = общая мощность передатчика
Pe = мощность каждого компонента
Tn = шумовая температура
Еще одним ключевым аспектом конструкции фазированной антенной решетки является расстояние между антенными элементами.После того, как мы определили цели системы, установив количество компонентов, физический диаметр массива сильно зависит от предельного размера каждого компонента ячейки, который меньше примерно половины длины волны, поскольку это предотвращает появление лепестков решетки. Лепестки решетки соответствуют энергии, излучаемой в нежелательном направлении. Это предъявляет строгие требования к электронике, входящей в массив, и она должна быть небольшой, маломощной и легкой. Расстояние между полуволнами особенно сложно при проектировании на более высоких частотах, потому что длина каждого из компонентов устройства становится меньше.Это способствует интеграции более высокочастотных ИС, делая решения по упаковке более совершенными и упрощая все более сложные методы управления температурой.
Когда мы создаем антенну целиком, конструкция массива сталкивается с множеством проблем, включая схему управления, управление питанием, импульсные цепи, управление температурой и экологические соображения. В отрасли наблюдается огромный рывок, который побудил нас перейти к низкопрофильным массивам. В структуре традиционной печатной платы используется небольшая печатная плата, на которой электронные компоненты подаются вертикально к задней части печатной платы антенны.В течение последних 20 лет этот метод постоянно совершенствовался, чтобы постоянно уменьшать размер платы, тем самым уменьшая глубину антенны. Конструкция следующего поколения переходит от этой структуры платы к подходу с плоской панелью, где каждая ИС имеет достаточно высокую степень интеграции, чтобы ее можно было легко установить на задней стороне антенной платы, что значительно уменьшает глубину антенны, что упрощает их загрузку в портативные приложения или встроенные приложения.
На Рисунке 3 левое изображение показывает компонент антенны с золотой вставкой в верхней части печатной платы, а правое изображение показывает аналоговый передний конец антенны в нижней части печатной платы.Это только подмножество антенны, где этап преобразования частоты может происходить на одном конце антенны; это также распределительная сеть, которая отвечает за маршрутизацию от одного радиочастотного входа ко всему массиву. Очевидно, что более интегрированные ИС значительно уменьшают проблемы при проектировании антенн, и по мере того, как антенны становятся все меньше и меньше, все больше и больше электронных компонентов интегрируются в все меньшие и меньшие пространства, конструкции антенн нуждаются в новой полупроводниковой технологии, чтобы повысить жизнеспособность решения.
Рис. 3. Плоскопанельная решетка с антенной вставкой наверху печатной платы и микросхемой на задней стороне антенной печатной платы.
Цифровой синтез пучка и аналоговый синтез пучкаВ большинстве фазированных антенных решеток, разработанных за последние несколько лет, использовались методы формирования аналогового луча, в которых регулировка фазы выполняется на частотах RF или IF, а вся антенна использует набор преобразователей данных. Возрастает интерес к цифровому формированию диаграммы направленности, где каждый антенный элемент имеет набор преобразователей данных, а регулировка фазы выполняется в цифровом виде в FPGA или каком-либо преобразователе данных.Цифровое формирование луча имеет множество преимуществ, от возможности легко передавать несколько лучей и даже мгновенно изменять количество лучей. Эта превосходная гибкость чрезвычайно привлекательна для многих приложений, а также способствует ее популярности. Постоянные улучшения в преобразователях данных снижают энергопотребление и распространяются на более высокие частоты, а РЧ-дискретизация в системах L-диапазона и S-диапазона позволяет использовать эту технологию в радиолокационных системах.
Существует ряд факторов, которые следует учитывать при рассмотрении как аналоговых, так и цифровых вариантов формирования луча, но анализ обычно зависит от количества требуемых лучей, энергопотребления и целевых затрат.Цифровой метод формирования луча потребляет большое количество энергии, поскольку каждый компонент комбинируется с преобразователем данных, но он чрезвычайно гибок и удобен при формировании нескольких лучей. Преобразователи данных также требуют более высокого динамического диапазона, поскольку формирование диаграммы направленности, не допускающее блокирования, может быть выполнено только после оцифровки. Аналоговое формирование луча может поддерживать несколько лучей, но для каждого луча требуется дополнительный канал регулировки фазы. Например, чтобы сформировать 100-лучевую систему, количество РЧ-фазовращателей в 1-лучевой системе необходимо умножить на 100, поэтому соображения стоимости преобразователя данных и ИС регулировки фазы могут варьироваться в зависимости от количества лучей. .
Аналогичным образом, для аналоговых методов формирования диаграммы направленности, в которых могут использоваться пассивные фазовращатели, их энергопотребление обычно невелико, но по мере увеличения количества лучей, если требуются дополнительные каскады усиления для управления распределительной сетью, потребление энергии также будет увеличиваться. Распространенным компромиссом является гибридный подход к формированию луча, в котором есть аналоговая подматрица формирования луча, за которой следует некоторая цифровая комбинация сигналов подматрицы. Эта область становится все более популярной в отрасли и в ближайшие годы будет расти.
Полупроводниковая техникаСтандартная импульсная радиолокационная система передает сигнал, который может отражаться от объекта, и радар ожидает отраженного импульса, чтобы отобразить поле обзора антенны. В последние несколько лет в этом входном решении для антенны использовались дискретные компоненты, в которых, вероятно, использовалась технология арсенида галлия. Компоненты ИС, используемые в качестве строительных блоков для этих фазированных антенных решеток, показаны на фиг.
Рисунок 4. Пример типичного ВЧ-интерфейса для фазированной антенной решетки.
Они включают фазовращатель для регулировки фазы каждого антенного элемента (конечную управляющую антенну), аттенюатор, который может сужать луч, усилитель мощности для передачи сигналов и малошумящий усилитель для приема сигналов. Также есть переключатель для переключения между передачей и приемом. В прошлых вариантах реализации каждая из этих ИС может быть помещена в корпус размером 5 мм x 5 мм, а в более продвинутых решениях эта функциональность может быть реализована с помощью интегрированной монолитной одноканальной ИС на основе GaAs.
Популярность фазированных антенных решеток в последние годы неотделима от развития полупроводниковой технологии. Усовершенствованные узлы в SiGe BiCMOS, SOI (кремний на изоляторе) и массивном CMOS объединяют комбинированную цифровую схему для управления в массиве и тракт ВЧ сигнала для регулировки фазы и амплитуды в одной ИС. Сегодня мы смогли реализовать многоканальные ИС формирования диаграммы направленности, которые могут регулировать усиление и фазу в 4-канальной конфигурации и поддерживать до 32 каналов для миллиметровых волн.
В некоторых примерах с низким энергопотреблением кремниевый I C, вероятно, обеспечит однокристальное решение для всех вышеперечисленных функций. В приложениях с высокой мощностью усилители мощности на основе GaN значительно увеличивают плотность мощности, чтобы удовлетворить потребности компонентов антенного блока с фазированной решеткой, которые традиционно основаны на усилителях мощности на лампах бегущей волны (ЛБВ) или на усилителях мощности на основе GaAs малой мощности сервопривод.
В бортовых приложениях мы наблюдаем растущую тенденцию в использовании архитектур с плоскими панелями из-за преимуществ технологии GaN с добавленной мощностью (PAE).GaN также позволяет крупным наземным РЛС перейти от тарелочных антенн с ЛБВ к технологии антенн на основе фазированных решеток. В настоящее время мы можем использовать одну GaN IC, которая может выдавать мощность более 100 Вт с PAE более 50%. Сочетание этого уровня PAE с низким рабочим циклом радарного приложения определяет размер, вес и стоимость антенной решетки.
В дополнение к чистой мощности GaN, дополнительным преимуществом по сравнению с существующими решениями на основе GaAs IC является уменьшенный размер.Сравнение усилителей мощности на основе GaAs от 6 до 8 Вт X-диапазона с решениями на основе GaN может уменьшить занимаемую площадь на 50% и более. Это уменьшение занимаемой площади имеет большое значение, когда эти электронные компоненты собраны в единичные компоненты фазированной антенной решетки.
ИС аналогового фазового изолятора от ADIADI разработала интегрированные аналоговые ИС формирования луча, которые поддерживают ряд приложений, включая радары, спутниковую связь и связь 5G.ИС формирования диаграммы направленности ADAR1000X- / Ku-диапазона — это 4-канальное устройство, которое покрывает диапазон от 8 ГГц до 16 ГГц и работает в дуплексном режиме с временным разделением (TDD) с его передатчиком и приемником, интегрированными в одну ИС. Устройство идеально подходит для приложений радаров X-диапазона и спутниковой связи Ku-диапазона, где ИС можно настроить для работы в режиме приемопередатчика или только в режиме приемника. Размещенная в корпусе QFN размером 7 мм x 7 мм, эта 4-канальная ИС может быть легко интегрирована в массив плоских панелей, потребляя всего 240 мВт / канал в режиме передачи и 160 мВт / канал в режиме приема.Каналы приемопередатчика и приемника доступны напрямую и могут использоваться извне с помощью внешнего модуля (FEM) от AD I.
На рис. 5 показано управление усилением и фазой с полным охватом фазы на 360 °, что обеспечивает шаг по фазе менее 2,8 ° и регулировку усиления лучше 31 дБ. ADAR1000 имеет встроенную память для хранения до 121 состояния луча, одно из которых содержит все настройки фазы и усиления для всей ИС. Передатчик обеспечивает усиление приблизительно 19 дБ и мощность насыщения 15 дБмВт при усилении приема приблизительно 14 дБ.Другой ключевой индикатор — изменение фазы регулятора усиления, которое составляет примерно 3 ° в диапазоне 20 дБ. Точно так же усиление управления фазой изменяется примерно на 0,25 дБ по всему охвату фазы на 360 °, что снижает проблемы калибровки.
Рисунок 5. ADAR1000 Tx управление усилением / обратными потерями и фазой / усилением на частоте = 11,5 ГГц.
Разработанная для аналоговых приложений с фазированной антенной решеткой или архитектур гибридных решеток, архитектура гибридной решетки сочетает в себе некоторые методы цифрового формирования луча с аналоговым формированием луча.


